TOP
|
特許
|
意匠
|
商標
特許ウォッチ
Twitter
他の特許を見る
公開番号
2025172065
公報種別
公開特許公報(A)
公開日
2025-11-20
出願番号
2025128981,2025534708
出願日
2025-07-31,2025-05-09
発明の名称
表示装置、表示システム、車両及び表示パネル収容装置
出願人
京セラ株式会社
代理人
弁理士法人 HARAKENZO WORLD PATENT & TRADEMARK
主分類
G02B
30/56 20200101AFI20251113BHJP(光学)
要約
【課題】従来の表示装置は、光学部材の変形、光学部材同士の位置ずれ等が発生し易く、表示品位が低下することがあった。
【解決手段】表示装置は、視認部を有する筐体と、前記筐体内に位置し、表示面を有する表示パネルと、前記筐体内に位置し、前記表示面を結像して像を形成する光学系と、を備え、前記像は、前記視認部から離れて前記視認部を正対して見たときに、前記視認部から視認可能である第1領域および前記視認部から視認できないとともに前記第1領域よりも小さい第2領域を有する。
【選択図】図2
特許請求の範囲
【請求項1】
視認部を有する筐体と、
前記筐体内に位置し、表示面を有する表示パネルと、
前記筐体内に位置し、前記表示面を結像して像を形成する光学系と、
を備え、
前記像は、前記視認部から離れて前記視認部を正対して見たときに、前記視認部から視認可能である第1領域および前記視認部から視認できないとともに前記第1領域よりも小さい第2領域を有する、表示装置。
発明の詳細な説明
【技術分野】
【0001】
本開示は、表示装置、表示システム、車両及び表示パネル収容装置に関する。
続きを表示(約 3,100 文字)
【背景技術】
【0002】
従来、例えば特許文献1に記載された表示装置が知られている。
【先行技術文献】
【特許文献】
【0003】
日本国特開2022-63533号公報
【発明の概要】
【0004】
本開示の表示装置は、視認部を有する筐体と、
前記筐体内に位置し、表示面を有する表示パネルと、
前記筐体内に位置し、前記表示面を結像して像を形成する光学系と、
を備え、
前記像は、前記視認部から離れて前記視認部を正対して見たときに、前記視認部から視認可能である第1領域および前記視認部から視認できないとともに前記第1領域よりも小さい第2領域を有する。
【0005】
また、本開示の表示システムは、前記表示装置と、
前記表示装置と通信可能なカメラと、を備え、
前記表示パネルは、前記カメラによって撮像された画像を表示する。
【0006】
また、本開示の車両は、前記表示装置を備える。
【0007】
本開示の表示パネル収容装置は、視認部を有する筐体と、
前記筐体内に表示パネルが設置されたときに、前記表示パネルの映像を結像して像を形成する光学系と、
を備え、
前記光学系は、前記視認部から離れて前記視認部を正対して見たときに、前記視認部から視認可能である第1領域および前記視認部から視認できないとともに前記第1領域よりも小さい第2領域を有する像を結像可能である。
【図面の簡単な説明】
【0008】
本開示の目的、特色、および利点は、下記の詳細な説明と図面とからより明確になるであろう。
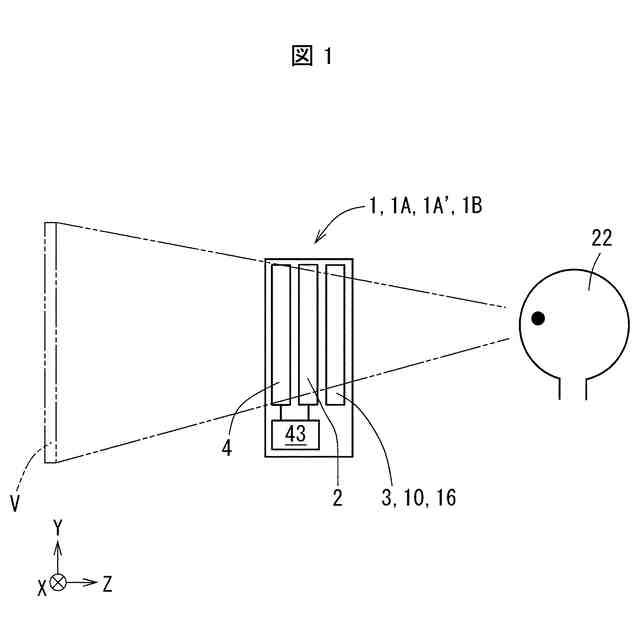
本開示の表示装置の構成を概略的に示す図である。
本開示の一実施形態に係る表示装置の要部構成の一例を示す断面図である。
本開示の一実施形態に係る表示装置の要部構成の他の例を示す断面図である。
本開示の他の実施形態に係る表示装置の要部構成の一例を示す断面図である。
本開示の他の実施形態に係る表示装置の要部構成の他の例を示す断面図である。
図4の表示装置における虚像の投影について説明する図である。
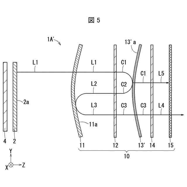
図5の表示装置における虚像の投影について説明する図である。
図5の表示装置における光学系の設計について説明する図である。
本開示のさらに他の実施形態に係る表示装置の要部構成の一例を示す断面図である。
本開示の一実施形態に係る結像装置の構成の一例を示す図である。
本開示の一実施形態に係る結像装置の構成の他の例を示す図である。
本開示の一実施形態に係る結像装置の構成の他の例を示す図である。
表示装置の他の例について説明する上面図である。
表示装置の他の例について説明する上面図である。
表示装置の他の例について説明する断面図である。
表示装置の他の例について説明する断面図である。
表示装置の他の例における光学系について説明する図である。
表示装置の他の例における光学系について説明する図である。
表示装置の他の例における光学系について説明する図である。
表示装置の他の例における光学系について説明する図である。
表示装置の他の例における光学系について説明する図である。
表示装置の他の例における光学系について説明する図である。
表示装置の他の例における光学系について説明する図である。
表示装置の他の例における光学系について説明する図である。
表示装置の他の例における光学系について説明するグラフである。
表示装置の他の例について説明する断面図である。
表示装置の他の例について説明する断面図である。
表示装置の他の例について説明する断面図である。
第2半透過鏡の構成の一例を示す断面図である。
表示装置の他の例について説明する断面図である。
利用者が表示装置の正面に位置する場合の虚像の見え方を説明する図である。
利用者が表示装置の正面に位置しない場合の虚像の見え方を説明する図である。
表示装置の調整を行った場合の虚像の見え方を説明する図である。
表示装置の調整を行った場合の虚像の見え方を説明する図である。
結像装置の制御について説明するフローチャートである。
本開示の一実施形態に係る表示装置の要部構成の他の例を示す断面図である。
本開示の他の実施形態に係る表示装置の要部構成の他の例を示す断面図である。
本開示のさらに他の実施形態に係る表示装置の要部構成の他の例を示す断面図である。
本開示の一実施形態に係る表示装置の他の例の断面を示す斜視図である。
本開示の一実施形態に係る表示装置の他の例を示す断面図である。
本開示の一実施形態に係る表示装置の他の例の断面を示す斜視図である。
本開示の一実施形態に係る表示装置の他の例を示す断面図である。
図2の表示装置における表示光の光路を示す図である。
図2の表示装置の他の例を示す断面図である。
本開示の一実施形態に係る表示システムおよび車両の構成の一例を示す図である。
本開示の一実施形態に係る表示装置のさらに他の例の断面を示す斜視図である。
図40に示す表示装置が形成する像の平面図である。
視認部を正対して見ることを説明する上面図である。
視認部の長手方向に沿った長さと、半透過鏡の前記長手方向の長さとを対比する図である。
断面視における、像の両端点と半透過鏡の両端点とをそれぞれ結んだ2つの直線に関する説明を行う図である。
断面視における、像の両端点と半透過鏡の両端点とをそれぞれ結んだ2つの直線に関する説明を行う図である。
本開示の一実施形態に係る表示装置のさらに他の例の断面を示す斜視図である。
本開示の一実施形態に係る表示装置の別の例を示すブロック図である。
図47に示す表示装置が形成する像の平面図である。
本開示の実施形態に係る表示装置の要部構成の例を示す断面図である。
本開示の実施形態に係る表示装置の要部構成の例を示す断面図である。
本開示の実施形態に係る表示装置の要部構成の例を示す断面図である。
本開示の実施形態に係る表示装置の要部構成の例を示す断面図である。
図49~52それぞれに係る表示装置の光学的機能を説明する図である。
図49~52それぞれに係る表示装置の光学的機能を説明する図である。
図34に示す表示装置の各種寸法の一例を示す。
【発明を実施するための形態】
【0009】
従来、車両の車室内に配置されるデジタルルームミラー、利用者の頭部に装着されるヘッドマウントディスプレイ等に用いられる小型の表示装置が種々提案されている。特許文献1に記載された表示装置は、表示パネルから出射された表示光を、位相差板、反射偏光板等の複数の光学部材を介して出射するように構成されている。
【0010】
従来の表示装置は、光学部材の変形、光学部材同士の位置ずれ等が発生し易く、表示品位が低下することがあった。
(【0011】以降は省略されています)
この特許をJ-PlatPat(特許庁公式サイト)で参照する
関連特許
京セラ株式会社
光学系
22日前
京セラ株式会社
配線基板
28日前
京セラ株式会社
配線基板
28日前
京セラ株式会社
静圧気体軸受装置
1か月前
京セラ株式会社
光センサモジュール
9日前
京セラ株式会社
光センサモジュール
9日前
京セラ株式会社
予測装置及び予測方法
17日前
京セラ株式会社
印刷装置及び印刷方法
14日前
京セラ株式会社
走査装置及び制御装置
1か月前
京セラ株式会社
走査装置及び制御装置
1か月前
京セラ株式会社
太陽電池付きカーポート
1か月前
京セラ株式会社
積層セラミック電子部品
15日前
京セラ株式会社
太陽電池付きカーポート
1か月前
京セラ株式会社
差動信号フィルタデバイス
1日前
京セラ株式会社
差動信号フィルタデバイス
1日前
京セラ株式会社
電磁波検出装置及び制御装置
28日前
京セラ株式会社
端子、端子部材および電気機器
9日前
京セラ株式会社
端子、端子部材および電気機器
7日前
京セラ株式会社
光集積回路及び光トランシーバ
28日前
京セラ株式会社
配線基板及びLEDモジュール
14日前
京セラ株式会社
電子デバイス及び電子モジュール
14日前
京セラ株式会社
光センサおよび光センサの製造方法
1か月前
京セラ株式会社
分析システム、分析装置、及び分析方法
14日前
京セラ株式会社
揺動装置、電磁波照射装置、及び制御装置
1か月前
京セラ株式会社
光センサおよびこれを備えた画像形成装置
9日前
京セラ株式会社
電子機器、制御方法、プログラム、及びシステム
17日前
京セラ株式会社
太陽光発電システム及び太陽電池付きカーポート
24日前
京セラ株式会社
VMD支援システム、サーバ装置、及び通信方法
14日前
京セラ株式会社
電子機器、制御方法、プログラム、及びシステム
17日前
京セラ株式会社
行動検出システム、サーバ装置、及び行動検出方法
14日前
京セラ株式会社
受発光センサ及び該受発光センサを備えた画像形成装置
1か月前
京セラ株式会社
圧電共振デバイス
24日前
京セラ株式会社
ノード、分散台帳管理方法、分散台帳プログラム及び分散台帳システム
1か月前
京セラ株式会社
ノード、分散台帳システム、分散台帳移管方法、及び分散台帳移管プログラム
1か月前
京セラ株式会社
半導体レーザデバイスの製造方法
9日前
京セラ株式会社
ユーザ装置、ノード、及び通信方法
1か月前
続きを見る
他の特許を見る