TOP
|
特許
|
意匠
|
商標
特許ウォッチ
Twitter
他の特許を見る
公開番号
2025154628
公報種別
公開特許公報(A)
公開日
2025-10-10
出願番号
2024057738
出願日
2024-03-29
発明の名称
揺動装置、電磁波照射装置、及び制御装置
出願人
京セラ株式会社
代理人
個人
,
個人
,
個人
主分類
G02B
26/10 20060101AFI20251002BHJP(光学)
要約
【課題】位相のずれ及び最大駆動角度の低下が低減する。
【解決手段】揺動装置10は揺動部と検出部16と制御部17とを有する。揺動部は第1の周波数を有する駆動信号に応じて第1軸回りに揺動する。検出部16は揺動部の角度を検出する。制御部17は駆動信号の位相と揺動部の角度の位相との位相差とに基づいて駆動信号の第1の周波数を制御する。
【選択図】図2
特許請求の範囲
【請求項1】
第1の周波数を有する駆動信号に応じて第1軸回りに揺動する揺動部と、
前記揺動部の角度を検出する検出部と、
前記駆動信号の位相と、前記揺動部の角度の位相との位相差とに基づいて、前記駆動信号の前記第1の周波数を制御する制御部と、を備える、
揺動装置。
続きを表示(約 1,500 文字)
【請求項2】
請求項1に記載の揺動装置であって、
前記制御部は、
所定期間に前記検出部が前記角度を連続して検出した、第1の時点、第2の時点、第3の時点のうち、該第1の時点から該第2の時点までの時間と、該第2の時点から第3の時点までの時間とに基づいて、前記第1軸回りに揺動する反射面の第1の角度の変化を推定し、
前記駆動信号の位相と、前記反射面の前記第1の角度の位相との位相差に基づいて、前記第1の周波数を制御する、
揺動装置。
【請求項3】
請求項1に記載の揺動装置であって、
前記揺動部は、
前記第1軸と異なる第2軸回りに揺動することにより該第2軸回りの揺動における反射面の第2の角度を変化させる、
揺動装置。
【請求項4】
請求項3に記載の揺動装置において、
前記揺動部は、
前記駆動信号に応じて前記第1軸回りに揺動するミラー部を有し、入射される電磁波を該ミラー部の反射面で反射し、
前記ミラー部を前記第2軸回りに揺動可能に保持する第2の保持部と、
前記第2の保持部を介して前記ミラー部を前記第1軸回りに揺動可能に保持する第1の保持部と、
前記駆動信号に応じて前記第1軸回りに前記ミラー部を共振駆動させ、前記第2軸回りに前記ミラー部を非共振駆動させる駆動部と、を有する、
揺動装置。
【請求項5】
請求項4に記載の揺動装置において、
前記駆動部は、
前記第1の保持部に設置され、前記第1軸回りに前記ミラー部を揺動させる第1の駆動部と、
前記第2の保持部に設置され、前記第2軸回りに前記ミラー部を揺動させる第2の駆動部と、を含む、
揺動装置。
【請求項6】
請求項3に記載の揺動装置であって、
前記検出部は、前記第2軸回りに揺動する前記反射面の前記第2の角度を検出し、
前記制御部は、
所定範囲に含まれる前記第2の角度を連続して検出した、第1の時点、第2の時点、第3の時点のうち、該第1の時点から該第2の時点までの時間と、該第2の時点から第3の時点までの時間とに基づいて、前記第1軸回りに揺動する前記反射面の第1の角度の変化を推定し、
前記駆動信号の位相と、前記反射面の前記第1の角度の位相との位相差に基づいて、前記第1の周波数を制御する、
揺動装置。
【請求項7】
電磁波を放射する放射部と、
第1の周波数を有する駆動信号に応じて第1軸回りに揺動するミラー部を有し、前記放射部から入射される前記電磁波を該ミラー部の反射面で反射する走査部と、
前記反射面の角度を検出する検出部と、
前記第1の周波数で前記ミラー部を揺動させた駆動信号の位相と、前記反射面の角度の位相との位相差に基づいて、前記駆動信号の前記第1の周波数を制御する制御部と、を備える、
電磁波照射装置。
【請求項8】
請求項7に記載の電磁波照射装置であって、
前記走査部が反射した前記電磁波が物体で反射した反射波を検出する第2の検出部を更に備える
電磁波照射装置。
【請求項9】
第1の周波数を有する駆動信号に応じて第1軸回りに揺動するミラー部を有し、入射される電磁波を該ミラー部の反射面で反射する走査部を備える揺動装置を制御する制御装置であって、
前記反射面の角度を取得し、前記第1の周波数で前記ミラー部を揺動させた駆動信号の位相と、前記反射面の角度の位相との位相差に基づいて、前記駆動信号の前記第1の周波数を制御する制御部を備える、
制御装置。
発明の詳細な説明
【技術分野】
【0001】
本発明は、揺動装置、電磁波照射装置、及び制御装置に関するものである。
続きを表示(約 1,500 文字)
【背景技術】
【0002】
Lidar等の測距装置では、MEMSミラーを用いてビーム状の光の放射方向を変化させることにより、対象物が走査される。MEMSミラーには、2軸回転式のミラーにおける一方の軸周りを共振周波数で揺動させることにより、走査速度及び駆動角度の拡大が図られている(特許文献1参照)。
【先行技術文献】
【特許文献】
【0003】
特開2022-048529号公報
【発明の概要】
【発明が解決しようとする課題】
【0004】
しかし、共振周波数で揺動させるように当該共振周波数と周期の同じ第1の周波数を印加していると、位相のずれ、最大駆動角度が低下することが生じていた。
【0005】
従って、上記のような従来技術の問題点に鑑みてなされた本開示の目的は、位相のずれ及び最大駆動角度の低下を低減することである。
【課題を解決するための手段】
【0006】
上述した諸課題を解決すべく、第1の観点による揺動装置揺動装置は、
第1の周波数を有する駆動信号に応じて第1軸回りに揺動する揺動部と、
前記揺動部の角度を検出する検出部と、
前記駆動信号の位相と、前記揺動部の角度の位相との位相差とに基づいて、前記駆動信号の前記第1の周波数を制御する制御部と、を備える。
【0007】
第2の観点による電磁波照射装置は、
電磁波を放射する放射部と、
第1の周波数を有する駆動信号に応じて第1軸回りに揺動するミラー部を有し、前記放射部から入射される前記電磁波を該ミラー部の反射面で反射する走査部と、
前記反射面の角度を検出する検出部と、
前記第1の周波数で前記ミラー部を揺動させた駆動信号の位相と、前記反射面の角度の位相との位相差に基づいて、前記駆動信号の前記第1の周波数を制御する制御部と、を備える。
【0008】
第3の観点による制御装置は、
第1の周波数を有する駆動信号に応じて第1軸回りに揺動するミラー部を有し、入射される電磁波を該ミラー部の反射面で反射する走査部を備える揺動装置を制御する制御装置であって、
前記反射面の角度を取得し、前記第1の周波数で前記ミラー部を揺動させた駆動信号の位相と、前記反射面の角度の位相との位相差に基づいて、前記駆動信号の前記第1の周波数を制御する制御部を備える。
【発明の効果】
【0009】
上記のように構成された本開示係る揺動装置、電磁波照射装置、及び制御装置によれば、位相のずれ及び最大駆動角度の低下が低減する。
【図面の簡単な説明】
【0010】
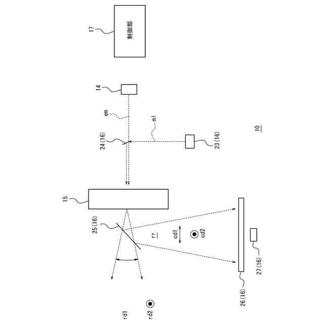
一実施形態に係る揺動装置を含む電磁波検出装置の概略構成を示す機能ブロック図である。
図1の揺動装置の構成図である。
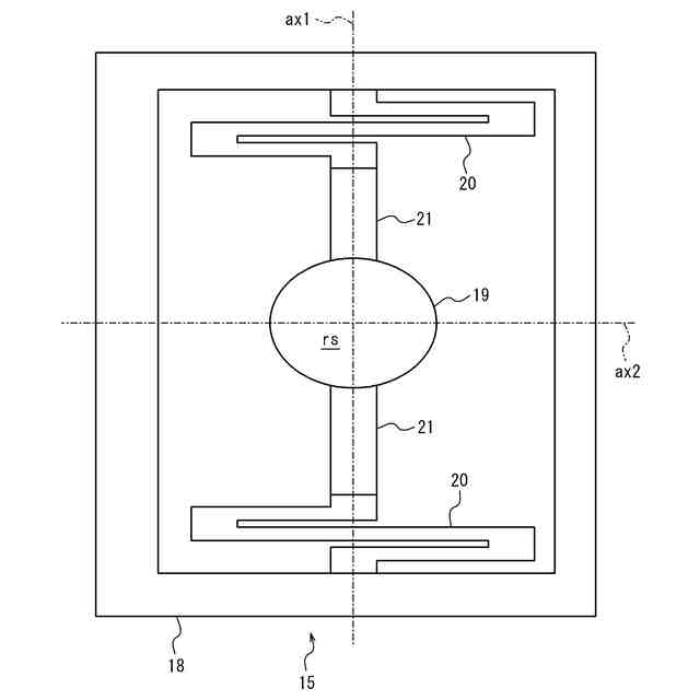
図2の走査部の構成図である。
図2のスリット板を検出素子側から見た図である。
第1の駆動信号による反射面の第1の回動方向に沿った揺動を説明する図である。
第2の駆動信号による反射面の第2の回動方向に沿った角度変化を説明するための図である。
検出信号の受信時に基づく第1軸及び第2軸周りの傾斜方向の算出方法を説明するための、第1の軸周りの傾斜方向と時間との関係を示すグラフである。
図2の制御部が行う周波数調整処理を説明するためのフローチャートである。
【発明を実施するための形態】
(【0011】以降は省略されています)
この特許をJ-PlatPat(特許庁公式サイト)で参照する
関連特許
京セラ株式会社
光学系
3日前
京セラ株式会社
配線基板
9日前
京セラ株式会社
蓄電装置
24日前
京セラ株式会社
配線基板
9日前
京セラ株式会社
弾性波装置
1か月前
京セラ株式会社
粒子分離装置
24日前
京セラ株式会社
センサシステム
1か月前
京セラ株式会社
静圧気体軸受装置
23日前
京セラ株式会社
走査装置及び制御装置
23日前
京セラ株式会社
配線基板及び電子装置
1か月前
京セラ株式会社
配線基板及び電子装置
1か月前
京セラ株式会社
コネクタ及び取付方法
25日前
京セラ株式会社
走査装置及び制御装置
23日前
京セラ株式会社
流路デバイスの準備方法
25日前
京セラ株式会社
発光装置および照明装置
1か月前
京セラ株式会社
太陽電池付きカーポート
23日前
京セラ株式会社
太陽電池付きカーポート
23日前
京セラ株式会社
受電装置及び光給電システム
25日前
京セラ株式会社
電磁波検出装置及び制御装置
9日前
京セラ株式会社
取付部材及びヘッド取付方法
1か月前
京セラ株式会社
光集積回路及び光トランシーバ
9日前
京セラ株式会社
フィルタデバイスおよび通信装置
1か月前
京セラ株式会社
光センサおよび光センサの製造方法
19日前
京セラ株式会社
揺動装置、電磁波照射装置、及び制御装置
23日前
京セラ株式会社
光通信装置、光通信システム及び光照射素子
26日前
京セラ株式会社
ホルダ、切削工具、及び切削加工物の製造方法
24日前
京セラ株式会社
ノード、方法、プログラム及び分散台帳システム
25日前
京セラ株式会社
多層基板、フィルタモジュール、および通信装置
1か月前
京セラ株式会社
太陽光発電システム及び太陽電池付きカーポート
5日前
京セラ株式会社
プログラム、給電方法、給電装置及び光給電システム
24日前
京セラ株式会社
情報処理装置、情報処理システム、及び情報処理方法
25日前
京セラ株式会社
情報処理装置、情報処理システム、及び情報処理方法
25日前
京セラ株式会社
受発光センサ及び該受発光センサを備えた画像形成装置
23日前
京セラ株式会社
受発光センサ及び該受発光センサを備えた画像形成装置
23日前
京セラ株式会社
受発光センサ及び該受発光センサを備えた画像形成装置
23日前
京セラ株式会社
受発光センサ及び該受発光センサを備えた画像形成装置
23日前
続きを見る
他の特許を見る