TOP
|
特許
|
意匠
|
商標
特許ウォッチ
Twitter
他の特許を見る
10個以上の画像は省略されています。
公開番号
2025168820
公報種別
公開特許公報(A)
公開日
2025-11-12
出願番号
2024073602
出願日
2024-04-30
発明の名称
画像生成装置
出願人
株式会社小糸製作所
代理人
弁理士法人信栄事務所
主分類
G02B
27/01 20060101AFI20251105BHJP(光学)
要約
【課題】温度変化によるハウジングの変形により表示デバイスに与える影響を抑制する画像生成装置を提供する。
【解決手段】表示デバイスは、光源から出射される光により前記画像を生成する。ハウジングは、表示デバイスを保持する。付勢部材は、表示デバイスをハウジングに対して付勢する。付勢部材は、表示デバイスの面方向から見て凸または凹となるように折り返された少なくとも一つの折り返し部を有する。
【選択図】図2
特許請求の範囲
【請求項1】
画像を生成する画像生成装置であって、
光源から出射される光により前記画像を生成する表示デバイスと、
前記表示デバイスを保持するハウジングと、
前記表示デバイスを前記ハウジングに対して付勢する付勢部材と、
を備えており、
前記付勢部材は、前記表示デバイスの面方向から見て凸または凹となるように折り返された少なくとも一つの折り返し部を有する、
画像生成装置。
続きを表示(約 970 文字)
【請求項2】
前記ハウジングは、前記表示デバイスの前記付勢部材と当接する端部とは反対の端部を支持する支持部を有する、請求項1に記載の画像生成装置。
【請求項3】
前記付勢部材は、前記ハウジングに設けられている、請求項1または請求項2に記載の画像生成装置。
【請求項4】
前記付勢部材は、前記表示デバイスの面方向から見て凸となるように折り返された少なくとも一つの折り返し部を有し、
前記付勢部材は、前記表示デバイスに対向する面において、前記面方向に交差する方向に沿って延びたガイド面を有する、請求項3に記載の画像生成装置。
【請求項5】
前記付勢部材は、前記表示デバイスの端部と当接する当接面よりも前記表示デバイスへ張り出したフード部を有する、請求項3に記載の画像生成装置。
【請求項6】
前記表示デバイスから生じた熱を放出する放熱板を備えており、
前記付勢部材は、前記放熱板に設けられている、請求項1または請求項2に記載の画像生成装置。
【請求項7】
前記付勢部材は、
前記表示デバイスと係合する係合部と、
前記表示デバイスを前記ハウジングに対して付勢する付勢部と、
を有し、
前記付勢部は、前記表示デバイスの前記面方向から見て凹となるように折り返された少なくとも一つの前記折り返し部を有する、請求項6に記載の画像生成装置。
【請求項8】
画像を生成する画像生成装置であって、
光源から出射される光により前記画像を生成する表示デバイスと、
前記表示デバイスを保持するハウジングと、
前記表示デバイスを前記ハウジングに対して付勢する付勢部材と、
を備えており、
前記付勢部材は、前記ハウジングに固定される第一端部と、前記表示デバイスに当接する第二端部とを有しており、
前記付勢部材の前記第一端部は、前記表示デバイスの面方向に交差する方向から見て前記表示デバイスと重なる位置に配置されている、画像生成装置。
【請求項9】
前記付勢部材は、前記表示デバイスの面方向に交差する方向から見てC字形状を有する、請求項8に記載の画像生成装置。
発明の詳細な説明
【技術分野】
【0001】
本開示は、画像生成装置に関する。
続きを表示(約 1,900 文字)
【背景技術】
【0002】
特許文献1は、画像生成装置(Picture Generation Unit:PGU)から出射された画像を形成する画像光を光学系によりウインドシールドに投影し、当該画像光をウインドシールドで反射させて車両の前方の現実空間に虚像を重畳させるヘッドアップディスプレイ(Head―Up Display:HUD)を開示している。画像生成装置において、表示デバイスはPGUハウジングに取り付けられる。
【先行技術文献】
【特許文献】
【0003】
国際公開第2021/193074号明細書
【発明の概要】
【発明が解決しようとする課題】
【0004】
ところで、温度変化によりPGUハウジングが変形すると、例えば樹脂製のPGUハウジングの熱膨張係数とガラスを含む液晶表示デバイスの熱膨張係数との差に起因して、PGUハウジングに固定された液晶表示デバイスの破損や劣化などが生じる場合がある。
【0005】
本開示は、温度変化によるハウジングの変形により表示デバイスに与える影響を抑制する画像生成装置を提供することを目的とする。
【課題を解決するための手段】
【0006】
本開示の一態様に係る画像生成装置は、
画像を生成する画像生成装置であって、
光源から出射される光により前記画像を生成する表示デバイスと、
前記表示デバイスを保持するハウジングと、
前記表示デバイスを前記ハウジングに対して付勢する付勢部材と、
を備えており、
前記付勢部材は、前記表示デバイスの面方向から見て凸または凹となるように折り返された少なくとも一つの折り返し部を有する。
【発明の効果】
【0007】
本開示によれば、温度変化によるハウジングの変形により表示デバイスに与える影響を抑制する画像生成装置を提供できる。
【図面の簡単な説明】
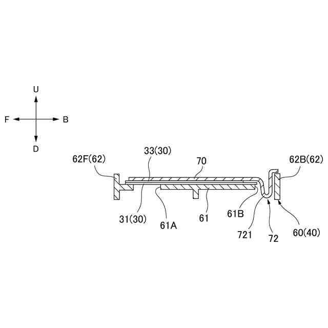
【0008】
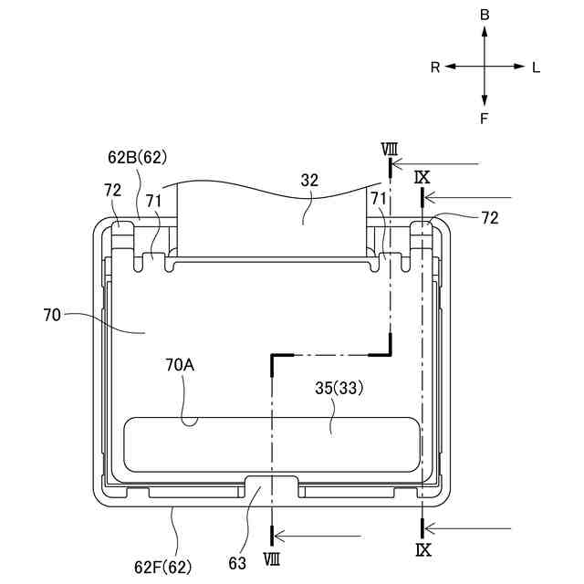
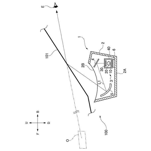
本開示の実施形態に係るヘッドアップディスプレイ(HUD)を車両の側面側から見た模式図である。
第一実施形態に係る液晶表示デバイスのハウジングによる保持構造を例示する斜視図である。
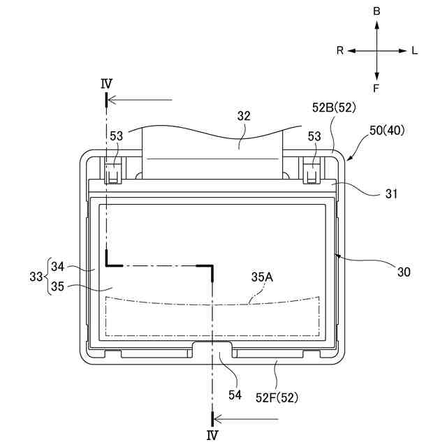
図2の保持構造を液晶表示デバイスの光照射面側から見た図である。
図3における線IV-IVに沿う断面を矢印方向から見た構成を例示している。
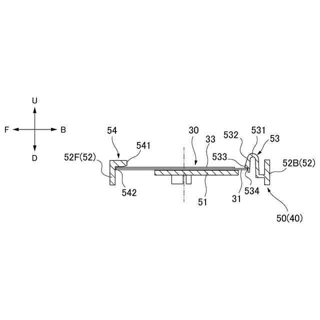
ホルダの構成を例示する斜視図である。
第二実施形態に係る液晶表示デバイスのハウジングによる保持構造を例示する斜視図である。
図6の保持構造を液晶表示デバイスの光照射面側から見た図である。
図7における線VIII-VIIIに沿う断面を矢印方向から見た構成を例示している。
図7における線IX-IXに沿う断面を矢印方向から見た構成を例示している。
第三実施形態に係る液晶表示デバイスを保持するホルダ80の構成を例示する斜視図である。
ホルダにより液晶表示デバイスが保持された構成を液晶表示デバイス30の光照射面側から見た図である。
【発明を実施するための形態】
【0009】
以下、本開示の実施形態について図面を参照しながら説明する。図面において、矢印Uは、図示された構造の上方向を示している。矢印Dは、図示された構造の下方向を示している。矢印Fは、図示された構造の前方向を示している。矢印Bは、図示された構造の後方向を示している。矢印Rは、図示された構造の右方向を示している。矢印Lは、図示された構造の左方向を示している。これらの方向は、図1に示された画像生成装置3について設定された相対的な方向であり、画像生成装置3から出射される画像光L1の出射方向を上方向とする。
【0010】
図1は、本開示の実施形態に係るヘッドアップディスプレイ(HUD)を車両の側面側から見た模式図である。図1に例示されるように、HUD1は、車両100に搭載されている。例えば、HUD1は、車両100のダッシュボード内に配置される。HUD1は、車両100と車両100の乗員との間の視覚的インターフェースとして機能する。具体的には、HUD1は、所定の情報が車両100の外部の現実空間(例えば、車両100の前方の周辺環境)と重畳されるように、当該情報を車両100の乗員に向けて虚像として表示するように構成されている。所定の情報は、静止画または動画(映像)として表示される。HUD1は、画像表示装置の一例である。
(【0011】以降は省略されています)
この特許をJ-PlatPat(特許庁公式サイト)で参照する
関連特許
株式会社小糸製作所
スクリュー
今日
株式会社小糸製作所
車両用灯具
6日前
株式会社小糸製作所
車両用灯具
6日前
株式会社小糸製作所
虚像表示装置
8日前
株式会社小糸製作所
画像生成装置
8日前
株式会社小糸製作所
画像投影装置
14日前
株式会社小糸製作所
ヘッドアップディスプレイ
22日前
株式会社小糸製作所
波長変換部材および白色発光素子
7日前
株式会社小糸製作所
車両用灯具および車両用灯具の製造方法
8日前
株式会社小糸製作所
半導体発光素子および半導体発光素子の製造方法
6日前
株式会社小糸製作所
半導体成長用基板、半導体発光素子および半導体発光素子の製造方法
6日前
株式会社小糸製作所
車両用灯具システム、配光制御装置および配光制御方法
14日前
株式会社シグマ
結像光学系
1か月前
株式会社シグマ
結像光学系
27日前
日本精機株式会社
ミラーユニット
1か月前
アイカ工業株式会社
反射防止フィルム
1日前
日本電気株式会社
光モジュール
1か月前
個人
多方向視差効果のための微細穴加工
1か月前
豊田合成株式会社
調光装置
14日前
株式会社コシナ
投射ズームレンズ
20日前
日東電工株式会社
導光部材
27日前
京セラ株式会社
光学系
1か月前
日東電工株式会社
光学積層体
29日前
日本精機株式会社
ヘッドアップディスプレイ
1か月前
日本精機株式会社
ヘッドアップディスプレイ
27日前
キヤノン株式会社
表示装置
6日前
日本精機株式会社
ヘッドアップディスプレイ装置
28日前
日本精機株式会社
ヘッドアップディスプレイ装置
27日前
京セラ株式会社
アイソレータ
6日前
マクセル株式会社
映像表示装置
20日前
株式会社タムロン
ズームレンズ及び撮像装置
1か月前
株式会社リコー
光走査装置及び画像形成装置
27日前
スタンレー電気株式会社
透光性樹脂部材
1か月前
レーザーテック株式会社
光学装置及び調整方法
27日前
株式会社小糸製作所
画像生成装置
22日前
株式会社小糸製作所
画像表示装置
1か月前
続きを見る
他の特許を見る