TOP
|
特許
|
意匠
|
商標
特許ウォッチ
Twitter
他の特許を見る
公開番号
2025169076
公報種別
公開特許公報(A)
公開日
2025-11-12
出願番号
2024074064
出願日
2024-04-30
発明の名称
ヘッドアップディスプレイ
出願人
株式会社小糸製作所
代理人
弁理士法人シリウスIP
,
個人
主分類
G02B
27/01 20060101AFI20251105BHJP(光学)
要約
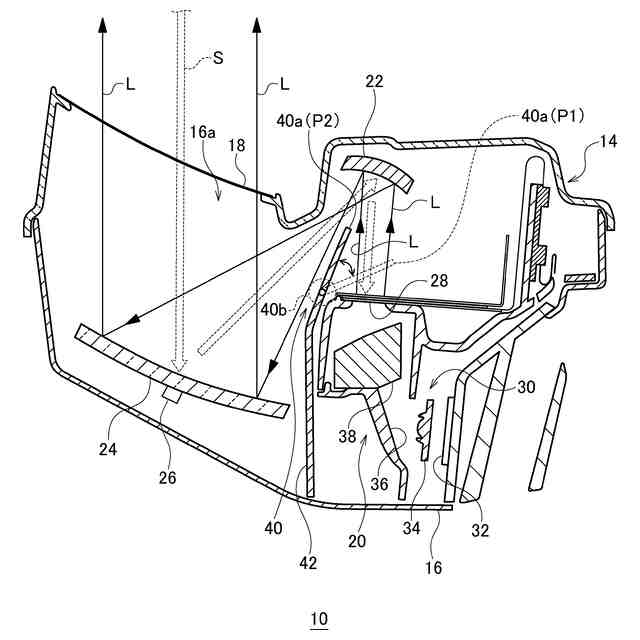
【課題】ヘッドアップディスプレイに入り込む外光に起因する不具合を低減する。
【解決手段】HUD10は、開口部16aが設けられた筐体と、筐体の内部に設けられ、画像光を照射する画像照射部と、画像光Lが開口部16aから出射して被投影部材に投影されるように構成された光学系と、筐体の内部に設けられ、光学系における光路を遮蔽する遮蔽機構40と、を備える。遮蔽機構40は、光路を遮蔽する遮蔽位置P1と、光路を遮蔽しない退避位置P2との間で移動する可動部40aを有する。
【選択図】図2
特許請求の範囲
【請求項1】
開口部が設けられた筐体と、
前記筐体の内部に設けられ、画像光を照射する画像照射部と、
前記画像光が前記開口部から出射して被投影部材に投影されるように構成された光学系と、
前記筐体の内部に設けられ、前記光学系における光路を遮蔽する遮蔽機構と、を備え、
前記遮蔽機構は、前記光路を遮蔽する遮蔽位置と、光路を遮蔽しない退避位置との間で移動する可動部を有することを特徴とするヘッドアップディスプレイ。
続きを表示(約 600 文字)
【請求項2】
前記光学系は、
前記画像照射部から照射された画像光を反射する第1の反射部と、
前記第1の反射部で反射された画像光を反射する第2の反射部と、
前記第1の反射部と前記第2の反射部との間に設けられ、迷光を防止する壁部と、を有し、
前記可動部は、前記壁部の少なくとも一部を含むことを特徴とする請求項1に記載のヘッドアップディスプレイ。
【請求項3】
前記壁部は、前記画像照射部から照射された画像光が前記第1の反射部へ向かう第1の光路と、前記第1の反射部で反射された画像光が前記第2の反射部へ向かう第2の光路とを隔てる位置に設けられていることを特徴とする請求項2に記載のヘッドアップディスプレイ。
【請求項4】
前記遮蔽機構は、前記第1の光路を遮蔽する前記遮蔽位置と、前記退避位置との間で前記可動部を移動させることを特徴とする請求項3に記載のヘッドアップディスプレイ。
【請求項5】
前記第1の反射部は、前記第2の反射部よりも反射面積が小さく、
前記光学系は、前記第2の反射部の反射面の向きを変化させる駆動部を更に有し、
前記駆動部は、前記可動部を前記遮蔽位置と前記退避位置との間で移動できるように構成されていることを特徴とする請求項2乃至4のいずれか1項に記載のヘッドアップディスプレイ。
発明の詳細な説明
【技術分野】
【0001】
本発明は、ヘッドアップディスプレイに関する。
続きを表示(約 1,200 文字)
【背景技術】
【0002】
従来、ウィンドシールドに画像を投影して、運転者が車両の前方を視認したときに情報を読み取れるようにするヘッドアップディスプレイ(以下、HUD(Head Up Display)と称する)が考案されている。HUDは、表示装置で生成された画像を示す表示光を凹面鏡等の反射部材で反射させた後、ケースの開口から装置外部に出射する。出射された表示光は、ウィンドシールド等の透過反射部材を照射し、視認者に虚像を視認させる(特許文献1参照)。
【先行技術文献】
【特許文献】
【0003】
特開2023-150001号公報
【発明の概要】
【発明が解決しようとする課題】
【0004】
ところで、一般的なHUDでは、日中にウィンドシールドの上方から車両内部に入射してくる外光(太陽光)がHUD内部へ入り込み、内部の凹面鏡で反射集光した光が液晶等へ集光し不具合を発生させるおそれがある。
【0005】
本発明はこうした状況に鑑みてなされたものであり、その例示的な目的の一つは、ヘッドアップディスプレイに入り込む外光に起因する不具合を低減する新たな技術を提供することにある。
【課題を解決するための手段】
【0006】
上記課題を解決するために、本発明のある態様のヘッドアップディスプレイは、開口部が設けられた筐体と、筐体の内部に設けられ、画像光を照射する画像照射部と、画像光が開口部から出射して被投影部材に投影されるように構成された光学系と、筐体の内部に設けられ、光学系における光路を遮蔽する遮蔽機構と、を備える。遮蔽機構は、光路を遮蔽する遮蔽位置と、光路を遮蔽しない退避位置との間で移動する可動部を有する。
【0007】
この態様によると、光学系の光路が遮蔽されることで、開口部から入射した外光が光路を逆進して画像照射部に到達しにくくなる。
【0008】
光学系は、画像照射部から照射された画像光を反射する第1の反射部と、第1の反射部で反射された画像光を反射する第2の反射部と、第1の反射部と第2の反射部との間に設けられ、迷光を防止する壁部と、を有してもよい。可動部は、壁部の少なくとも一部を含んでもよい。これにより、可動部を設けるスペースを小さくできる。
【0009】
壁部は、画像照射部から照射された画像光が第1の反射部へ向かう第1の光路と、第1の反射部で反射された画像光が第2の反射部へ向かう第2の光路とを隔てる位置に設けられていてもよい。これにより、筐体内部での迷光を抑制できる。
【0010】
遮蔽機構は、第1の光路を遮蔽する遮蔽位置と、退避位置との間で可動部を移動させてもよい。これにより、可動部を小型化できる。
(【0011】以降は省略されています)
この特許をJ-PlatPat(特許庁公式サイト)で参照する
関連特許
株式会社小糸製作所
車両用灯具
1か月前
株式会社小糸製作所
車両用灯具
22日前
株式会社小糸製作所
車両用灯具
1か月前
株式会社小糸製作所
車両用灯具
1か月前
株式会社小糸製作所
車両用灯具
1か月前
株式会社小糸製作所
車両用灯具
1か月前
株式会社小糸製作所
表示用灯具
1か月前
株式会社小糸製作所
車両用灯具
28日前
株式会社小糸製作所
車両用灯具
28日前
株式会社小糸製作所
車両用灯具
24日前
株式会社小糸製作所
車両用灯具
28日前
株式会社小糸製作所
表示用灯具
1か月前
株式会社小糸製作所
車両用灯具
10日前
株式会社小糸製作所
車両用灯具
21日前
株式会社小糸製作所
車両用灯具
21日前
株式会社小糸製作所
車輌用灯具
21日前
株式会社小糸製作所
車両用灯具
1か月前
株式会社小糸製作所
画像生成装置
2日前
株式会社小糸製作所
照明表示装置
1か月前
株式会社小糸製作所
虚像表示装置
1か月前
株式会社小糸製作所
画像表示装置
2日前
株式会社小糸製作所
画像表示装置
15日前
株式会社小糸製作所
画像投影装置
28日前
株式会社小糸製作所
表示システム
1か月前
株式会社小糸製作所
道路冠水通知システム
22日前
株式会社小糸製作所
固定構造及び固定方法
8日前
株式会社小糸製作所
表示制御装置及び表示装置
1か月前
株式会社小糸製作所
ヘッドアップディスプレイ
2日前
株式会社小糸製作所
電子ユニット及び車両用灯具
1か月前
株式会社小糸製作所
車両用灯具及び車両用灯具の製造方法
1か月前
株式会社小糸製作所
レンズに付着する雪を融かす融雪機構
1か月前
株式会社小糸製作所
画像投影ユニットおよび画像投影装置
1か月前
株式会社小糸製作所
開閉機構、車両用灯具及び車両用前照灯
1か月前
株式会社小糸製作所
素子搭載基板、車両用灯具および素子搭載方法
1か月前
株式会社小糸製作所
車両用灯具、ハウジング及びハウジングの製造方法
1か月前
株式会社小糸製作所
画像照射装置、画像投影装置、および画像照射方法
22日前
続きを見る
他の特許を見る