TOP
|
特許
|
意匠
|
商標
特許ウォッチ
Twitter
他の特許を見る
公開番号
2025164011
公報種別
公開特許公報(A)
公開日
2025-10-30
出願番号
2024067716
出願日
2024-04-18
発明の名称
透光性樹脂部材
出願人
スタンレー電気株式会社
代理人
個人
,
個人
主分類
G02B
1/18 20150101AFI20251023BHJP(光学)
要約
【課題】高い液滴排出効果を有し、優れた防曇効果を発揮する透光性樹脂部材を提供する。
【解決手段】基材と、基材の表面に複数の線状凸部及び複数の線状溝からなる溝構造が形成された透光性樹脂部材であって、複数の線状凸部及び複数の線状溝は互いに平行な方向に伸長し、線状溝間のピッチをP、線状溝の溝深さ及び溝幅をそれぞれD、W2としたとき、複数の線状凸部及び複数の線状溝はD/P≧1.0及びW2/P>0.5を満たす。
【選択図】図2A
特許請求の範囲
【請求項1】
基材と、
前記基材の表面に複数の線状凸部及び複数の線状溝からなる溝構造が形成された透光性樹脂部材であって、
前記複数の線状凸部及び前記複数の線状溝は互いに平行な方向に伸長し、
前記線状溝間のピッチをP、前記線状溝の溝深さ及び溝幅をそれぞれD、W2としたとき、前記複数の線状凸部及び前記複数の線状溝はD/P≧1.0及びW2/P>0.5を満たす、透光性樹脂部材。
続きを表示(約 420 文字)
【請求項2】
前記複数の線状凸部及び前記複数の線状溝はD/P≧1.0及び0.5<W2/P≦0.9を満たす請求項1に記載の透光性樹脂部材。
【請求項3】
前記複数の線状凸部及び前記複数の線状溝はD/P≧1.0及び0.57<W2/P≦0.9を満たす請求項1に記載の透光性樹脂部材。
【請求項4】
前記ピッチは、150nm≦P≦390nmである請求項1に記載の透光性樹脂部材。
【請求項5】
前記基材はアクリル又はポリカーボネートである請求項1に記載の透光性樹脂部材。
【請求項6】
前記線状凸部の頂面は凸曲面形状を有する請求項1に記載の透光性樹脂部材。
【請求項7】
前記基材は湾曲形状を有する請求項1に記載の透光性樹脂部材。
【請求項8】
前記線状凸部は矩形状又は台形状の断面を有する請求項1ないし6のいずれか一項に記載の透光性樹脂部材。
発明の詳細な説明
【技術分野】
【0001】
本発明は、透光性樹脂部材に関し、特に、基材の表面に微細溝構造が形成され、防曇効果を発揮する透光性樹脂部材に関する。
続きを表示(約 1,500 文字)
【背景技術】
【0002】
従来、光学部品などの表面が曇ることを防ぐために、部品表面に防曇コーティングを施すことや、部品表面に水滴を水膜化させるための微細溝を形成することが知られている。
【0003】
例えば、特許文献1には、樹脂等からなる基材の表面に微細な凹凸構造を形成することによって親水性、防曇性を発現する成形構造体について開示されている。
【0004】
また、特許文献2には、複数の線状凹部により構成される複数の溝構造を表面に形成することにより、光の透過率が低下するのを抑制しつつ、防曇効果を発揮することができる透光性樹脂部材について開示されている。
【先行技術文献】
【特許文献】
【0005】
特開2009-193002号公報
特開2022-122020号公報
【発明の概要】
【発明が解決しようとする課題】
【0006】
本願の発明者は、微細な溝構造上面における水滴の表面張力、及び、溝内に移動した水滴の固液界面張力及び排水性能に関して鋭意検討を行い、高い防曇効果を発揮する溝形状について知見を得た。
【0007】
本発明は上記した点に鑑みてなされたものであり、高い液滴排出効果を有し、優れた防曇効果を発揮する透光性樹脂部材を提供することを目的とする。
【課題を解決するための手段】
【0008】
本発明の1実施形態による透光性樹脂部材は、
基材と、
前記基材の表面に複数の線状凸部及び複数の線状溝からなる溝構造が形成された透光性樹脂部材であって、
前記複数の線状凸部及び前記複数の線状溝は互いに平行な方向に伸長し、
前記線状溝間のピッチをP、前記線状溝の溝深さ及び溝幅をそれぞれD、W2としたとき、前記複数の線状凸部及び前記複数の線状溝はD/P≧1.0及びW2/P>0.5を満たす。
【図面の簡単な説明】
【0009】
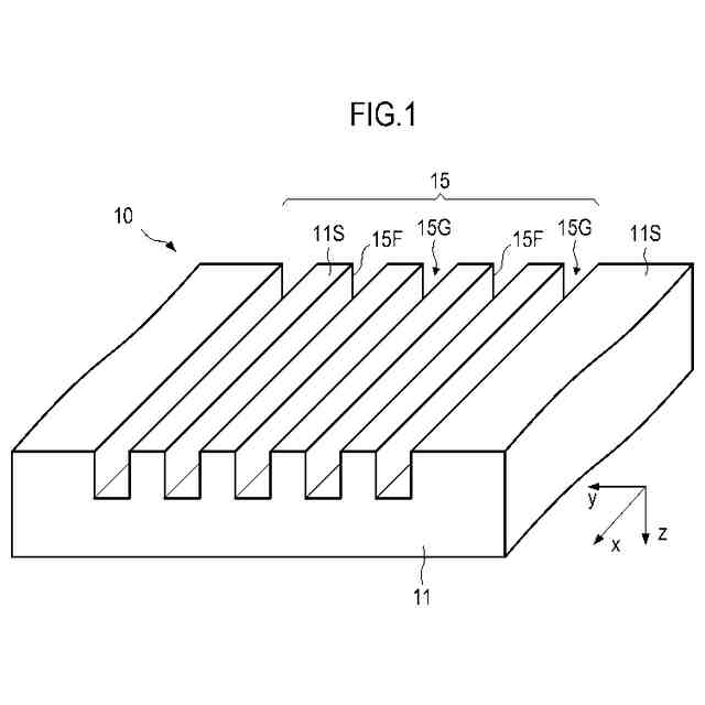
本発明の1実施形態による透光性樹脂部材を模式的に示す斜視図である。
溝の伸長方向に垂直な透光性樹脂部材の断面を模式的に示す断面図である。
凸部が台形状の断面を有している場合を示す図である。
実施例1(EX1)の透光性樹脂部材の曇り試験及び防曇性の結果を、比較例1(CX1)の透光性樹脂部材の結果と対比して示す図である。
実施例1、比較例1及び比較例2の防曇性の結果を対比して示す図である。
実施例1、比較例1及び比較例2について、溝構造の表面上の水滴状態及び防曇性の結果を対比して示す図である。
実施例2(EX2)、比較例3(CX3)及び比較例4(CX4)のサンプルの断面SEM像、曇り試験写真を示す図である。
溝構造上に滴下された水滴を、上方から見た場合を模式的に示している。
溝幅が広い溝構造上に滴下された水滴を、上方から見た場合を模式的に示している。
溝構造の断面を模式的に示す断面図である。
透光性樹脂部材の一部の断面を模式的に示している。
凸部の頂部又は底部の角部が丸みを有する場合を模式的に示す断面図である。
凸部の頂面が上に凸の凸曲面形状を有する場合を模式的に示す断面図である。
【発明を実施するための形態】
【0010】
以下においては、本発明の好適な実施形態について説明するが、これらを適宜改変し、組合せてもよい。また、以下の説明及び添付図面において、実質的に同一又は等価な部分には同一の参照符を付して説明する。
(【0011】以降は省略されています)
この特許をJ-PlatPat(特許庁公式サイト)で参照する
関連特許
株式会社シグマ
結像光学系
20日前
株式会社シグマ
結像光学系
1か月前
日本精機株式会社
ミラーユニット
29日前
日本電気株式会社
光モジュール
1か月前
株式会社コシナ
投射ズームレンズ
13日前
日東電工株式会社
導光部材
20日前
個人
多方向視差効果のための微細穴加工
1か月前
豊田合成株式会社
調光装置
7日前
日東電工株式会社
光学積層体
22日前
京セラ株式会社
光学系
28日前
日本精機株式会社
ヘッドアップディスプレイ
23日前
日本精機株式会社
ヘッドアップディスプレイ
20日前
日本精機株式会社
ヘッドアップディスプレイ装置
21日前
マクセル株式会社
映像表示装置
13日前
日本精機株式会社
ヘッドアップディスプレイ装置
20日前
株式会社リコー
光走査装置及び画像形成装置
20日前
株式会社タムロン
ズームレンズ及び撮像装置
28日前
スタンレー電気株式会社
透光性樹脂部材
28日前
レーザーテック株式会社
光学装置及び調整方法
20日前
富士通株式会社
波長変換装置および波長変換方法
1か月前
マクセル株式会社
空中浮遊映像表示装置
22日前
株式会社小糸製作所
画像投影装置
7日前
株式会社小糸製作所
画像生成装置
1日前
株式会社小糸製作所
画像表示装置
28日前
マクセル株式会社
空中浮遊映像表示装置
7日前
株式会社小糸製作所
画像生成装置
15日前
株式会社小糸製作所
画像表示装置
15日前
AGC株式会社
位相差素子、円偏光板、及び光学部品
1か月前
キヤノン株式会社
光学系および撮像装置
7日前
個人
レーザポインタおよびレーザポインタの装着方法
20日前
スタンレー電気株式会社
成形体
23日前
株式会社デンソー
センサ装置
28日前
キヤノン株式会社
走査光学装置及び画像形成装置
21日前
大日本印刷株式会社
調光部材及び合わせ板
1か月前
パナソニックIPマネジメント株式会社
撮像装置
21日前
キヤノン株式会社
走査光学装置及び画像形成装置
1日前
続きを見る
他の特許を見る