TOP
|
特許
|
意匠
|
商標
特許ウォッチ
Twitter
他の特許を見る
公開番号
2025164072
公報種別
公開特許公報(A)
公開日
2025-10-30
出願番号
2024067824
出願日
2024-04-18
発明の名称
光学系
出願人
京セラ株式会社
代理人
個人
,
個人
,
個人
主分類
G02B
13/00 20060101AFI20251023BHJP(光学)
要約
【課題】組立てによる性能変動の低い光学系を提供する。
【解決手段】光学系10は前群13と絞り14と後群15とを有する。前群13は負のパワーを有する。前群13は第1レンズ17と第2レンズ18とを有する。第1レンズ17は像側が凹面であり、両面が非球面であり、且つ負のパワーを有する。第2レンズ18は第1レンズ17より像側に位置し、物体側が凹面であり、且つ負のパワーを有する。絞り14は前群13より像側に位置する。後群15は絞り14より像側に位置する。後群15は正のパワーを有する。第1レンズ17の像側面の曲率半径をR12、光学系10の焦点距離をf、第2レンズ18の物体側面の曲率半径をR21とすると、条件式(1)、(2)を満足する。
0.56<R12/f<0.67(1)
-1.2≦R21/f<-1(2)
を満足する。
【選択図】図1
特許請求の範囲
【請求項1】
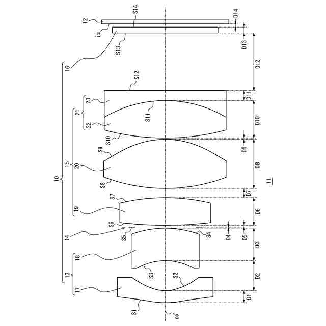
像側が凹面であり、両面が非球面であり、且つ負のパワーを有する第1レンズと、該第1レンズより像側に位置し、物体側が凹面であり、両面が非球面であり、且つ負のパワーを有する第2レンズとからなり、負のパワーを有する前群と、
前記前群より像側に位置する絞りと、
両面が凸面である第3レンズ、前記第3レンズより像側に位置し、両面が凸面であり、且つ両面が非球面である第4レンズと、前記第4レンズより像側に位置し、凸レンズである第5レンズ及び凹レンズである第6レンズを接合させた接合レンズとからなり、前記絞りより像側に位置し、正のパワーを有する後群と、を備える光学系であって、
前記第1レンズの像側面の曲率半径をR12、前記光学系の焦点距離をf、前記第2レンズの物体側面の曲率半径をR21とすると、条件式(1)、(2)を満足する
光学系。
0.56<R12/f<0.67 (1)
-1.2≦R21/f<-1 (2)
続きを表示(約 790 文字)
【請求項2】
請求項1に記載の光学系において、
光軸上における前記第1レンズの物体側面から前記絞りまでの距離をDf、該絞りから前記第6レンズの像側面までの距離をDrとすると、条件式(3)を満足する
光学系。
0.45<Df/Dr<0.65 (3)
【請求項3】
請求項1又は2に記載の光学系において、
光軸上における前記第1レンズの物体側面から前記第6レンズの像側面までの距離をDtとすると、条件式(4)を満足する
光学系。
0.23<f/Dt/<0.27 (4)
【請求項4】
請求項1又は2に記載の光学系において、
前記第6レンズの硝材の屈折率をnd6、アッベ数をνd6とすると、条件式(5)、(6)を満足する
光学系。
1.9<nd6<2 (5)
16<νd6<20 (6)
【請求項5】
請求項1又は2に記載の光学系において、
前記第6レンズの像側面に、赤外線カットコートが設けられる
光学系。
【請求項6】
請求項5に記載の光学系において、
前記第6レンズの像側面の曲率半径が、-200未満である
光学系。
【請求項7】
請求項1又は2に記載の光学系において、
前記絞りは、前記第2レンズ及び前記第3レンズの間に設けられる
光学系。
【請求項8】
請求項1又は2に記載の光学系において、
前記第4レンズの20℃から40℃における相対屈折率の温度係数が負の値である
光学系。
発明の詳細な説明
【技術分野】
【0001】
本開示は、光学系に関する。
続きを表示(約 2,400 文字)
【背景技術】
【0002】
監視用カメラ及び車載用カメラ等では、画像センサの高画素化が進んでいる。高画素化に伴い、高解像な光学系が求められている。又、監視用カメラ及び車載用カメラ等では、広い画角で周辺光景を撮像することが求められている。広角で高解像な光学系を得るために、光学系の一部に非球面レンズを用いることが提案されている(特許文献1参照)。
【先行技術文献】
【特許文献】
【0003】
特開2022-126861号公報
【発明の概要】
【発明が解決しようとする課題】
【0004】
一部に非球面レンズを用いながら、組立てによる性能変動の低い光学系が求められている。
【課題を解決するための手段】
【0005】
本開示の一実施形態に係る光学系は、
像側が凹面であり、両面が非球面であり、且つ負のパワーを有する第1レンズと、該第1レンズより像側に位置し、物体側が凹面であり、両面が非球面であり、且つ負のパワーを有する第2レンズとからなり、負のパワーを有する前群と、
前記前群より像側に位置する絞りと、
両面が凸面である第3レンズ、前記第3レンズより像側に位置し、両面が凸面であり、且つ両面が非球面である第4レンズと、前記第4レンズより像側に位置し、凸レンズである第5レンズ及び凹レンズである第6レンズを接合させた接合レンズとからなり、前記絞りより像側に位置し、正のパワーを有する後群と、を備える光学系であって、
前記第1レンズの像側面の曲率半径をR12、前記光学系の焦点距離をf、前記第2レンズの物体側面の曲率半径をR21とすると、条件式(1)、(2)を満足する。
0.56<R12/f<0.67 (1)
-1.2≦R21/f<-1 (2)
【発明の効果】
【0006】
本開示の一実施形態に係る光学系によれば、組立てによる性能変動が低減され得る。
【図面の簡単な説明】
【0007】
本開示の実施形態に係る光学系であって、実施例1のレンズ構成図である。
図1の光学系の球面収差を示すグラフ図である。
図1の光学系の非点収差を示すグラフ図である。
図1の光学系のディストーションを示すグラフ図である。
本開示の実施例2に係る光学系のレンズ構成図である。
図2の光学系の球面収差を示すグラフ図である。
図2の光学系の非点収差を示すグラフ図である。
図2の光学系のディストーションを示すグラフ図である。
本開示の実施例3に係る光学系のレンズ構成図である。
図5の光学系の球面収差を示すグラフ図である。
図5の光学系の非点収差を示すグラフ図である。
図5の光学系のディストーションを示すグラフ図である。
本開示の実施例4に係る光学系のレンズ構成図である。
図7の光学系の球面収差を示すグラフ図である。
図7の光学系の非点収差を示すグラフ図である。
図7の光学系のディストーションを示すグラフ図である。
本開示の実施例5に係る光学系のレンズ構成図である。
図9の光学系の球面収差を示すグラフ図である。
図9の光学系の非点収差を示すグラフ図である。
図9の光学系のディストーションを示すグラフ図である。
本開示の実施例6に係る光学系のレンズ構成図である。
図11の光学系の球面収差を示すグラフ図である。
図11の光学系の非点収差を示すグラフ図である。
図11の光学系のディストーションを示すグラフ図である。
本開示の実施例7に係る光学系のレンズ構成図である。
図13の光学系の球面収差を示すグラフ図である。
図13の光学系の非点収差を示すグラフ図である。
図13の光学系のディストーションを示すグラフ図である。
本開示の実施例8に係る光学系のレンズ構成図である。
図15の光学系の球面収差を示すグラフ図である。
図15の光学系の非点収差を示すグラフ図である。
図15の光学系のディストーションを示すグラフ図である。
【発明を実施するための形態】
【0008】
以下、図面を参照して本開示に係る実施形態を説明する。
【0009】
以下、図面を適宜用いて、一実施形態に係る光学系について説明する。光学系の構成を示す各添付図面において、「物体側」は左側に対応し、「像側」は右側に対応する。以下の説明で用いられる各図は模式的なものであり、図面上の寸法比率などは現実のものとは必ずしも一致していない。
【0010】
図1に示すように、本開示の一実施形態に係る光学系10を含む撮像装置11は、撮像素子12及び光学系10を含んで構成されてよい。本開示の一実施形態に係る撮像装置11は、移動体に搭載されてよい。移動体は例えば、自動車、産業車両、鉄道車両、生活車両、および滑走路を走行する固定翼機等を含んでよい。自動車は、例えば乗用車、トラック、バス、二輪車、およびトロリーバス等を含んでよい。産業車両は、例えば農業および建設向けの産業車両等を含んでよい。産業車両は、例えばフォークリフトおよびゴルフカート等を含んでよい。農業向けの産業車両は、例えばトラクター、耕耘機、移植機、バインダー、コンバイン、および芝刈り機等を含んでよい。建設向けの産業車両は、例えばブルドーザー、スクレーバー、ショベルカー、クレーン車、ダンプカー、およびロードローラ等を含んでよい。移動体は、人力で移動するものを含んでよい。
(【0011】以降は省略されています)
この特許をJ-PlatPat(特許庁公式サイト)で参照する
関連特許
京セラ株式会社
光学系
1日前
京セラ株式会社
配線基板
7日前
京セラ株式会社
蓄電装置
22日前
京セラ株式会社
配線基板
7日前
京セラ株式会社
弾性波装置
1か月前
京セラ株式会社
粒子分離装置
22日前
京セラ株式会社
センサシステム
28日前
京セラ株式会社
静圧気体軸受装置
21日前
京セラ株式会社
走査装置及び制御装置
21日前
京セラ株式会社
配線基板及び電子装置
28日前
京セラ株式会社
配線基板及び電子装置
28日前
京セラ株式会社
コネクタ及び取付方法
23日前
京セラ株式会社
走査装置及び制御装置
21日前
京セラ株式会社
流路デバイスの準備方法
23日前
京セラ株式会社
発光装置および照明装置
1か月前
京セラ株式会社
太陽電池付きカーポート
21日前
京セラ株式会社
太陽電池付きカーポート
21日前
京セラ株式会社
受電装置及び光給電システム
23日前
京セラ株式会社
電磁波検出装置及び制御装置
7日前
京セラ株式会社
取付部材及びヘッド取付方法
29日前
京セラ株式会社
光集積回路及び光トランシーバ
7日前
京セラ株式会社
フィルタデバイスおよび通信装置
28日前
京セラ株式会社
光センサおよび光センサの製造方法
17日前
京セラ株式会社
揺動装置、電磁波照射装置、及び制御装置
21日前
京セラ株式会社
光通信装置、光通信システム及び光照射素子
24日前
京セラ株式会社
ホルダ、切削工具、及び切削加工物の製造方法
22日前
京セラ株式会社
ノード、方法、プログラム及び分散台帳システム
23日前
京セラ株式会社
多層基板、フィルタモジュール、および通信装置
1か月前
京セラ株式会社
太陽光発電システム及び太陽電池付きカーポート
3日前
京セラ株式会社
プログラム、給電方法、給電装置及び光給電システム
22日前
京セラ株式会社
情報処理装置、情報処理システム、及び情報処理方法
23日前
京セラ株式会社
情報処理装置、情報処理システム、及び情報処理方法
23日前
京セラ株式会社
受発光センサ及び該受発光センサを備えた画像形成装置
21日前
京セラ株式会社
受発光センサ及び該受発光センサを備えた画像形成装置
21日前
京セラ株式会社
受発光センサ及び該受発光センサを備えた画像形成装置
21日前
京セラ株式会社
受発光センサ及び該受発光センサを備えた画像形成装置
21日前
続きを見る
他の特許を見る