TOP
|
特許
|
意匠
|
商標
特許ウォッチ
Twitter
他の特許を見る
公開番号
2025155731
公報種別
公開特許公報(A)
公開日
2025-10-14
出願番号
2024202474
出願日
2024-11-20
発明の名称
偏光板
出願人
住友化学株式会社
代理人
個人
,
個人
,
個人
主分類
G02B
5/30 20060101AFI20251002BHJP(光学)
要約
【課題】高温での耐剥がれ性に優れる偏光板を提供する。
【解決手段】偏光板は、熱可塑性樹脂フィルムA、偏光子、及び、(メタ)アクリル系樹脂フィルムBをこの順に備える偏光積層体と、偏光積層体の(メタ)アクリル系樹脂フィルムB上に設けられた粘着剤層と、を備える。偏光積層体は、80℃の環境に2時間曝されると、前記熱可塑性樹脂フィルムA側の表面が凸面に、前記(メタ)アクリル系樹脂フィルムBが凹面になるようにカールする、又は、カールせず、80℃の環境に×2時間曝されている途中の前記偏光積層体のカール力の最大値が3N以下であり、80℃の環境に144時間曝される前後での前記偏光積層体の透過軸方向の寸法収縮率が1.25%以下である。
【選択図】図1
特許請求の範囲
【請求項1】
熱可塑性樹脂フィルムA、偏光子、及び、(メタ)アクリル系樹脂フィルムBをこの順に備える偏光積層体と、前記偏光積層体の前記(メタ)アクリル系樹脂フィルムB上に設けられた粘着剤層と、を備える偏光板であって、
前記偏光積層体は、80℃の環境に2時間曝されると、前記熱可塑性樹脂フィルムA側の表面が凸面に、前記(メタ)アクリル系樹脂フィルムBが凹面になるようにカールする、又は、カールせず、
80℃の環境に2時間曝されている途中の前記偏光積層体のカール力の最大値が3N以下であり、
80℃の環境に144時間曝される前後での前記偏光積層体の透過軸方向の寸法収縮率が1.25%以下である、偏光板。
続きを表示(約 76 文字)
【請求項2】
前記熱可塑性樹脂フィルムAはポリエステル系樹脂フィルムまたは(メタ)アクリル系樹脂フィルムである請求項1に記載の偏光板。
発明の詳細な説明
【技術分野】
【0001】
本発明は偏光板に関する。
続きを表示(約 1,400 文字)
【背景技術】
【0002】
従来より、保護フィルム/偏光子/保護フィルム/粘着剤層という積層構造を有する偏光板が知られている。そして、2つの保護フィルムの少なくとも一方に(メタ)アクリル系樹脂フィルムを採用することが提案されている(特許文献1,2参照)。このような偏光板は、上記の粘着剤層により液晶セルなどに貼り付けられる。
【先行技術文献】
【特許文献】
【0003】
特開2016-105175号公報
特開2012-180422号公報
【発明の概要】
【発明が解決しようとする課題】
【0004】
従来の偏光板において、特に粘着剤層側の保護フィルムに(メタ)アクリル系樹脂フィルムを採用した場合、高温での耐剥がれ性にはなお改善の余地がある。
【0005】
本発明は上記課題に鑑みて成されたものであり、高温での耐剥がれ性に優れる偏光板を提供することを目的とする。
【課題を解決するための手段】
【0006】
[1]熱可塑性樹脂フィルムA、偏光子、及び、(メタ)アクリル系樹脂フィルムBをこの順に備える偏光積層体と、前記偏光積層体の前記(メタ)アクリル系樹脂フィルムB上に設けられた粘着剤層と、を備える偏光板であって、
前記偏光積層体は、80℃の環境に2時間曝されると、前記熱可塑性樹脂フィルムA側の表面が凸面に、前記(メタ)アクリル系樹脂フィルムBが凹面になるようにカールする、又は、カールせず、
80℃の環境に2時間曝されている途中の前記偏光積層体のカール力の最大値が3N以下であり、
80℃の環境に144時間曝される前後での前記偏光積層体の透過軸方向の寸法収縮率が1.25%以下である、偏光板。
[2]前記熱可塑性樹脂フィルムAはポリエステル系樹脂フィルムまたは(メタ)アクリル系樹脂フィルムである[1]に記載の偏光板。
【発明の効果】
【0007】
本発明によれば、高温での耐剥がれ性に優れる偏光板を提供することができる。
【図面の簡単な説明】
【0008】
本発明の一実施形態に係る偏光板の断面図である。
図2は図1の(メタ)アクリル系樹脂フィルムB(20)の粘着剤層側の表面20Aの近傍の断面図である。
一実施形態に係る(メタ)アクリル系樹脂フィルムBの製造方法に係る模式図である。
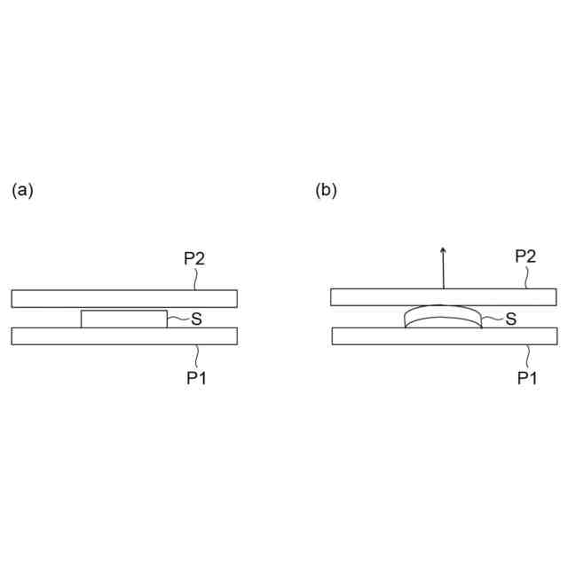
図4の(a)及び(b)は、偏光積層体の逆カール、正カールをそれぞれ示す端面図である。
図5の(a)及び(b)はカール力の測定に関する模式図である。
【発明を実施するための形態】
【0009】
以下図面を参照して、実施形態に係る偏光板について説明する。
【0010】
(偏光板)
図1に示すように、偏光板100は、粘着剤層10と、偏光積層体90とを有する。偏光積層体90は、粘着剤層10側から、(メタ)アクリル系樹脂フィルムB(20)と、偏光子(30)と、熱可塑性樹脂フィルムA(40)と、をこの順に有する。粘着剤層10は、(メタ)アクリル系樹脂フィルムB(20)と接触している。
(【0011】以降は省略されています)
この特許をJ-PlatPat(特許庁公式サイト)で参照する
関連特許
個人
立体像表示装置
4日前
住友化学株式会社
偏光板
1日前
住友化学株式会社
垂直偏光板
1日前
東レ株式会社
赤外線遮蔽構成体
4日前
東レ株式会社
貼合体の製造方法
4日前
日本電気株式会社
光集積回路素子
8日前
三菱電機株式会社
レンズモジュール
1日前
個人
眼鏡装着位置変更具および眼鏡
2日前
住友化学株式会社
偏光板
4日前
日東電工株式会社
調光フィルム
9日前
住友化学株式会社
積層体
8日前
住友化学株式会社
偏光板
4日前
住友化学株式会社
偏光積層体
4日前
新光電気工業株式会社
光導波路部品
1日前
新光電気工業株式会社
光導波路部品
1日前
住友化学株式会社
光学積層体
4日前
キヤノン株式会社
レンズ装置および撮像装置
9日前
住友ベークライト株式会社
積層体の製造方法
9日前
古河電気工業株式会社
光モジュール、光接続構造
9日前
株式会社小糸製作所
画像投影装置
1日前
住友ベークライト株式会社
光学シート
8日前
TDK株式会社
メタサーフェスレンズ
8日前
キヤノン電子株式会社
光学部材、撮像装置及び宇宙航行体
2日前
日東電工株式会社
積層光学部材及び光学装置
8日前
京セラ株式会社
走査装置及び制御装置
8日前
京セラ株式会社
走査装置及び制御装置
8日前
キヤノン電子株式会社
光学部材、撮像装置及び宇宙航行体
2日前
住友ベークライト株式会社
光学性積層体
8日前
日本カーバイド工業株式会社
微小球型再帰反射シート
8日前
日本カーバイド工業株式会社
微小球型再帰反射シート
8日前
住友ベークライト株式会社
光学性積層体
8日前
住友化学株式会社
積層体および表示装置
8日前
株式会社表面・界面工房
反射防止膜
4日前
国立大学法人徳島大学
光共振器、及び光周波数コム発生装置
9日前
国立大学法人徳島大学
光共振器、及び光周波数コム発生装置
9日前
株式会社トプコン
ミラー部材
8日前
続きを見る
他の特許を見る