TOP
|
特許
|
意匠
|
商標
特許ウォッチ
Twitter
他の特許を見る
公開番号
2025152332
公報種別
公開特許公報(A)
公開日
2025-10-09
出願番号
2024054170
出願日
2024-03-28
発明の名称
膜エレメントの製造方法
出願人
住友化学株式会社
代理人
弁理士法人クオリオ
,
個人
,
個人
,
個人
主分類
B01D
67/00 20060101AFI20251002BHJP(物理的または化学的方法または装置一般)
要約
【課題】薬液による膜の化学的損傷を制御して所定の阻止率を有する膜エレメントを短時間で製造できる膜エレメント方法を提供する。
【解決手段】膜エレメントの1次側流路に薬液を通液して阻止率を調整する阻止率調整工程を含む膜エレメントの製造方法であって、阻止率調整工程において薬液を通液する際に、膜エレメントの両膜面に付加される圧力差を薬液の浸透圧よりも小さく設定する膜エレメントの製造方法。
【選択図】なし
特許請求の範囲
【請求項1】
膜エレメントの1次側流路に薬液を通液して阻止率を調整する阻止率調整工程を含む膜エレメントの製造方法であって、
前記阻止率調整工程において前記薬液を通液する際に、前記膜エレメントの両膜面に付加される圧力差を前記薬液の浸透圧よりも小さく設定する、膜エレメントの製造方法。
続きを表示(約 190 文字)
【請求項2】
前記膜エレメントが逆浸透膜エレメントまたはナノろ過膜エレメントである、請求項1に記載の膜エレメントの製造方法。
【請求項3】
前記薬液が次亜塩素酸塩を含む水溶液である、請求項1または2に記載の膜エレメントの製造方法。
【請求項4】
次亜塩素酸塩の有効塩素濃度が2~10質量%である、請求項3に記載の膜エレメントの製造方法。
発明の詳細な説明
【技術分野】
【0001】
本発明は、膜エレメントの製造方法に関する。
続きを表示(約 3,200 文字)
【背景技術】
【0002】
工場から排出される工場排水は、各種の有機物などの混合物を含有しているが、従来、そのまま焼却処理されていた。焼却処理は、多大なエネルギーを消費するため、環境負荷の低減(環境保護)、循環型社会(持続可能な社会)の構築などの観点から、その改善が求められている。そこで、工場排水を各種の膜処理に供して濃縮、減容した後に焼却することで、消費エネルギー量を低減する方法が提案されている。
【0003】
このような膜処理として、従来、海水の淡水化処理などに広く普及している逆浸透(reverse osmosis:RO)法が有利な手段として挙げられる。逆浸透法は、逆浸透膜(RO膜)やナノろ過膜(NF膜)などの半透膜で仕切られた濃厚溶液側に圧力をかけ、被処理液側(1次側)と透過側(2次側)との間の運転圧力差を濃厚溶液側と希薄溶液側との浸透圧の差よりも高くすることにより、半透膜を通して溶媒を選択的に透過させる技術である。
逆浸透法を利用する膜処理は、通常、半透膜を収納した膜エレメントが用いられるが、膜(膜エレメント)の阻止率が高いため、膜エレメントの使用条件がある程度限定され、適用範囲が狭い。例えば、用いる膜エレメントに操作可能な運転圧力差に上限があるため、逆浸透法を適用できる溶液の濃度が限定されていた。また、処理が進行するにつれて被処理水が濃縮されるため、濃縮されて徐々に高くなる浸透圧が膜エレメントの最大使用圧を超えると膜処理できなくなる。しかも、被処理水が濃縮されると膜詰りが生じやすくなる。そのため、逆浸透法を、高濃度で混合物を含有する工場排水を濃縮する処理、また低濃度で混合物を含有する工場排水を高濃度まで濃縮する処理に適用するには、半透膜、膜エレメントの改良が必要になる。
【0004】
上記使用条件や適用範囲は、阻止率を低く設定した半透膜または膜エレメントを用いることで、緩和または広範化することができる。例えば、半透膜の阻止率を低く設定して、水を優先的に透過させるとともに混合物などの溶質をわずかに透過させる半透膜を備えた膜エレメントを用いると、1次側圧力と2次側圧力との圧力差(膜間差圧)が低くなり、使用条件が緩和され、また適用範囲が広くなる。また、半透膜の目詰りも抑制できる。このような膜エレメントを用いれば、一段または多段階で膜処理することにより、高濃度の被処理水であっても濃縮することができ、また低濃度の被処理水であっても高濃度まで濃縮することができる。このような方法に用いる半透膜、膜エレメントは、徐々に高くなる被処理液の浸透圧を膜エレメントの最大使用圧の範囲内に抑えるため、阻止率が低い値に調整、制御されていることが重要となる。半透膜の阻止率を低下させる方法は、いつくか提案されており、例えば、特許文献1には、塩素系無機化合物水溶液をRO膜に透過させてRO膜に化学的損傷を与える方法が記載されている。
【先行技術文献】
【特許文献】
【0005】
特許第5037175号
【発明の概要】
【発明が解決しようとする課題】
【0006】
ここで、半透膜の阻止率を所定の値に調整、制御することは、膜エレメントに組み込まれる前の半透膜または平膜については比較的容易である。しかし、膜エレメントに組み込まれた半透膜は、ケーシング(ハウジング)内に密に組み込まれた状態にあるため、半透膜の厚さ方向および平面方向に均等に化学的損傷させにくく、目的とする阻止率に調整、制御することは容易ではない。例えば、膜エレメントにおける阻止率の調整方法として、塩素系化合物を極低濃度で含有する水溶液を、膜エレメントに流通させることで半透膜を透過させて、半透膜に化学的損傷を与える方法が挙げられる。しかし、この方法では、塩素系化合物を含有する水溶液を流通させる時間(膜との接液時間)を長期間に設定する必要があり、作業効率に劣る。また、塩素系化合物を含有する水溶液の通液時間と阻止率の低下量との間に関連性はなく、後述するように、ある通液時間を超えると阻止率が急激かつ大幅に低下してしまい、所定の阻止率に調整できないことがある。このような問題は特許文献1に記載された方法にもある。具体的には、この方法では、「0.167mg/lの次亜塩素酸ナトリウム水溶液を2.4m
3
/hの流速」で流通させる時間として90日もの長時間を要している。そのうえ、通液時間と透過率の低下量との間に関連性が成立せず、阻止率の低下量を制御して目的とする阻止率に調整することができない。
【0007】
本発明は、薬液による膜の化学的損傷を制御して所定の阻止率を有する膜エレメントを短時間で製造できる膜エレメント方法を提供することを課題とする。
【課題を解決するための手段】
【0008】
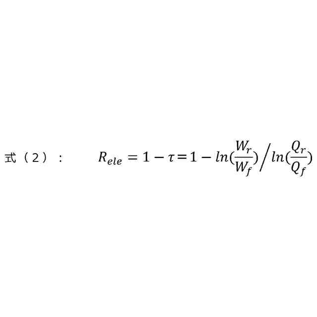
本発明者らは、損傷付与成分を比較的高濃度で含有する薬液を使用すると短時間で半透膜に化学的損傷を与えられることを前提として、薬液による半透膜の化学的損傷の進行状況、進行具合などを調査、検討したところ、半透膜と薬液との通液時間(接液時間)がある時点を境に急激に低下してしまい、その結果、通液時間と阻止率(化学的損傷程度)との間に、通液時間全体に亘って成立する特定の関係を見出すことができなかった。そこで、膜モジュールの処理方法として一般的に採用される薬液を半透膜に透過させる方法(薬液を1次側流路に通液し、かつ薬液中の水を2次側流路に透過、流通させる方法)ではなく、薬液を1次側流路に流通させるものの、2次側流路にあえて水を透過、流通させずに空気層としておく方法を適用することを着想した。この着想に基づいてさらに検討を進めたところ、膜モジュールの両膜面に付加される圧力差を用いる薬液の浸透圧よりも小さく設定することにより、膜モジュールを用いても、ハウジング内に組み込まれた半透膜を厚さ方向および平面方向に均等に化学的損傷させることができることを見出した。また、薬液の損傷付与成分濃度と薬液の通液時間(接液時間)との積(半透膜に対する損傷付与成分の曝露強度)と、半透膜の化学的損傷量(阻止率)との間に線型性を示す関係(線型的関係)が上記曝露強度の変動量全体に亘って成立すること、さらに、この線型的関係に基づいて上記曝露強度を決定することにより所定の阻止率を短時間で実現、設定できることをも見出した。本発明はこれらの知見により完成されたものである。
【0009】
すなわち、本発明の課題は以下の手段によって達成された。
<1>膜エレメントの1次側流路に薬液を通液して阻止率を調整する阻止率調整工程を含む膜エレメントの製造方法であって、
前記阻止率調整工程において前記薬液を通液する際に、前記膜エレメントの両膜面に付加される圧力差を前記薬液の浸透圧よりも小さく設定する、膜エレメントの製造方法。
<2>前記膜エレメントが逆浸透膜エレメントまたはナノろ過膜エレメントである、<1>に記載の膜エレメントの製造方法。
<3>前記薬液が次亜塩素酸塩を含む水溶液である、<1>または<2>に記載の膜エレメントの製造方法。
<4>次亜塩素酸塩の有効塩素濃度が2~10質量%である、<3>に記載の膜エレメントの製造方法。
【発明の効果】
【0010】
本発明は、薬液による膜の化学的損傷を制御することができ、その結果、所定の阻止率を有する膜エレメントを短時間で製造できる膜エレメント方法を提供できる。
【図面の簡単な説明】
(【0011】以降は省略されています)
この特許をJ-PlatPat(特許庁公式サイト)で参照する
関連特許
住友化学株式会社
偏光板
1か月前
住友化学株式会社
フィルター
1か月前
住友化学株式会社
光学積層体
1か月前
住友化学株式会社
熱分解装置
10日前
住友化学株式会社
垂直偏光板
1か月前
住友化学株式会社
金属有機構造体
1か月前
住友化学株式会社
電気化学センサ
23日前
住友化学株式会社
組成物及び発光素子
8日前
住友化学株式会社
プロピレンの製造方法
18日前
住友化学株式会社
ポリオレフィン樹脂組成物
10日前
住友化学株式会社
組成物、硬化物および成形体
2日前
住友化学株式会社
無機アルミニウム化合物粉末
23日前
住友化学株式会社
位相差層積層体及び光学積層体
15日前
住友化学株式会社
複合成形体、及びその製造方法
15日前
住友化学株式会社
組成物、硬化物、および成形体
2日前
住友化学株式会社
非水電解液二次電池用積層セパレータ
15日前
住友化学株式会社
エチレンおよびプロピレンの製造方法
18日前
住友化学株式会社
磁気トンネル接合素子及び磁気デバイス
29日前
住友化学株式会社
粘着剤組成物、及び粘着剤層付き光学フィルム
1か月前
住友化学株式会社
組成物、発光素子、高分子化合物及び低分子化合物
8日前
住友化学株式会社
組成物、有機材料組成物、及び有機材料の安定化方法
18日前
住友化学株式会社
活性エネルギー線硬化型接着剤組成物および光学積層体
1か月前
住友化学株式会社
着色硬化性樹脂組成物、カラーフィルタ、及び表示装置
1か月前
住友化学株式会社
偏光板
23日前
住友化学株式会社
ポリオレフィン系樹脂組成物、フィルム、および、包装袋
15日前
住友化学株式会社
レジスト組成物及びレジストパターンの製造方法並びに塩
1か月前
住友化学株式会社
レジスト組成物及びレジストパターンの製造方法並びに樹脂
2日前
住友化学株式会社
粘着剤組成物、粘着シート、光学積層体、及び画像表示装置
1か月前
住友化学株式会社
化合物、ゴム組成物、加硫ゴム、タイヤ、及びゴム用添加剤
29日前
住友化学株式会社
レジスト組成物及びレジストパターンの製造方法並びに化合物
2日前
住友化学株式会社
レジスト組成物及びレジストパターンの製造方法並びに化合物
2日前
住友化学株式会社
酸発生剤、塩、レジスト組成物及びレジストパターンの製造方法
10日前
住友化学株式会社
酸発生剤、塩、レジスト組成物及びレジストパターンの製造方法
1か月前
住友化学株式会社
化合物及び樹脂
25日前
住友化学株式会社
レジスト組成物、化合物、樹脂及びレジストパターンの製造方法
24日前
住友化学株式会社
レジスト組成物、化合物、樹脂及びレジストパターンの製造方法
24日前
続きを見る
他の特許を見る