TOP
|
特許
|
意匠
|
商標
特許ウォッチ
Twitter
他の特許を見る
公開番号
2025164389
公報種別
公開特許公報(A)
公開日
2025-10-30
出願番号
2024068340
出願日
2024-04-19
発明の名称
電気化学センサ
出願人
住友化学株式会社
代理人
個人
,
個人
主分類
G01N
27/30 20060101AFI20251023BHJP(測定;試験)
要約
【課題】ホウ素ドープダイヤモンド膜を有する電極チップを備えた電気化学センサの耐久性を向上させる技術を提供する。
【解決手段】基板と、基板上に形成され、ポートを有する配線と、基板および配線上に積層され、ポートの位置に開口部を有する第1の絶縁性樹脂と、開口部を通じてポートと接続するように配置され、ホウ素ドープダイヤモンド膜を有する電極チップと、を有し、電極チップは、開口部全体を覆うように配置され、電極チップの底面と、第1の絶縁性樹脂とが重なり合う部分は、全域が第2の絶縁性樹脂で封止されている、電気化学センサ。
【選択図】図1
特許請求の範囲
【請求項1】
基板と、
前記基板上に形成され、ポートを有する配線と、
前記基板および前記配線上に積層され、前記ポートの位置に開口部を有する第1の絶縁性樹脂と、
前記開口部を通じて前記ポートと接続するように配置され、ホウ素ドープダイヤモンド膜を有する電極チップと、を有し、
前記電極チップは、前記開口部全体を覆うように配置され、
前記電極チップの底面と、前記第1の絶縁性樹脂とが重なり合う部分は、全域が第2の絶縁性樹脂で封止されている、電気化学センサ。
続きを表示(約 1,500 文字)
【請求項2】
前記開口部の面積は、前記電極チップの底面積の20%以上80%以下である、請求項1に記載の電気化学センサ。
【請求項3】
前記第2の絶縁性樹脂で封止されている、前記電極チップの底面と、前記第1の絶縁性樹脂との間の厚さは、10μm以下である、請求項1に記載の電気化学センサ。
【請求項4】
前記第1の絶縁性樹脂は、ソルダーレジストを塗布した後に硬化させたものである、請求項1に記載の電気化学センサ。
【請求項5】
前記第1の絶縁性樹脂は、ポリイミド若しくはPETからなるカバーレイフィルムである、請求項1に記載の電気化学センサ。
【請求項6】
前記配線および前記ポートを複数有し、
前記第1の絶縁性樹脂は、複数の前記ポートのそれぞれの位置に前記開口部を有し、
複数の前記電極チップが、複数の前記ポートのそれぞれに個別に接続されている、請求項1から請求項5のいずれか1項に記載の電気化学センサ。
【請求項7】
前記配線および前記ポートを3組有し、
作用電極および対電極のポートには前記電極チップが接続されており、参照電極のポートにはAgClからなる電極が形成されている、請求項6に記載の電気化学センサ。
【請求項8】
少なくとも作用電極にホウ素ドープダイヤモンド膜を有する電極を備えた電気化学センサであって、
以下の条件(1)、(2)および(3)を満たす、電気化学センサ。
(1)0.1M硫酸中で、掃引速度100mV/sの条件で電流密度±250μA/cm
2
を満たす電位窓の範囲が5.0V以上であり、かつ、前記電位窓の範囲の中央位置の電位から±1V以内の充電電流密度の最大値が50μA/cm
2
以内である。
(2)0.1M硫酸中で、前記電位窓の範囲の中央位置の電位を基準に、+側の電位窓端点電位の3倍を超える電位を30分間印加した時の電流値の時間変動が30%以内である。
(3)前記(2)の測定後、前記(1)と同じ測定を実施し、同じ基準を満たす。
【請求項9】
少なくとも作用電極にホウ素ドープダイヤモンド膜を有する電極を備えた電気化学センサであって、
以下の条件(4)および(5)を満たす、電気化学センサ。
(4)0.1M硫酸中で、Ag/AgCl参照電極を基準にして作用電極に+10Vの電位を30分間印加した時の電流値の時間変動が30%以内である。
(5)前記(4)の測定後、0.1M硫酸中で、掃引速度100mV/sの条件で電流密度±250μA/cm
2
を満たす電位窓の範囲が5.0V以上であり、かつ、前記電位窓の範囲の中央位置の電位から±1V以内の充電電流密度の最大値が50μA/cm
2
以内である。
【請求項10】
少なくとも作用電極にホウ素ドープダイヤモンド膜を有する電極を備えた電気化学センサであって、
以下の条件(6)および(7)を満たす、電気化学センサ。
(6)0.1M硫酸中で、Ag/AgCl参照電極を基準にして作用電極に+10Vの電位を30分間印加した時の電流値の時間変動が30%以内である。
(7)前記(6)の測定後、1mMフェロシアン化カリウムおよび0.2M硫酸ナトリウムの混合液中で、電位-0.6Vから+1Vまでを折り返し印加し、掃引速度50mV/sの条件でサイクリックボルタンメトリー測定を行った際、酸化側および還元側の電流ピークがそれぞれ明瞭で、なだらかなシングルピークとなる。
発明の詳細な説明
【技術分野】
【0001】
本発明は、電気化学センサに関する。
続きを表示(約 2,400 文字)
【背景技術】
【0002】
近年、ホウ素ドープダイヤモンド膜を有する電極チップを備えた電気化学センサが提案されている(例えば、特許文献1)。ホウ素ドープダイヤモンド膜は、電位窓が広く、バックグラウンド電流も小さいため、尿酸等の種々の物質の電気化学的検出を高感度で行うことができる。
【先行技術文献】
【特許文献】
【0003】
特開2023-42373号公報
【発明の概要】
【発明が解決しようとする課題】
【0004】
本発明の目的は、ホウ素ドープダイヤモンド膜を有する電極チップを備えた電気化学センサの耐久性を向上させる技術を提供することである。
【課題を解決するための手段】
【0005】
本発明の一態様によれば、
基板と、
前記基板上に形成され、ポートを有する配線と、
前記基板および前記配線上に積層され、前記ポートの位置に開口部を有する第1の絶縁性樹脂と、
前記開口部を通じて前記ポートと接続するように配置され、ホウ素ドープダイヤモンド膜を有する電極チップと、を有し、
前記電極チップは、前記開口部全体を覆うように配置され、
前記電極チップの底面と、前記第1の絶縁性樹脂とが重なり合う部分は、全域が第2の絶縁性樹脂で封止されている、電気化学センサが提供される。
【0006】
また、本発明の他の態様によれば、
少なくとも作用電極にホウ素ドープダイヤモンド膜を有する電極を備えた電気化学センサであって、
以下の条件(1)、(2)および(3)を満たす、電気化学センサが提供される。
(1)0.1M硫酸中で、掃引速度100mV/sの条件で電流密度±250μA/cm
2
を満たす電位窓の範囲が5.0V以上であり、かつ、前記電位窓の範囲の中央位置の電位から±1V以内の充電電流密度の最大値が50μA/cm
2
以内である。
(2)0.1M硫酸中で、前記電位窓の範囲の中央位置の電位を基準に、+側の電位窓端点電位の3倍を超える電位を30分間印加した時の電流値の時間変動が30%以内である。
(3)前記(2)の測定後、前記(1)と同じ測定を実施し、同じ基準を満たす。
【0007】
また、本発明の他の態様によれば、
少なくとも作用電極にホウ素ドープダイヤモンド膜を有する電極を備えた電気化学センサであって、
以下の条件(4)および(5)を満たす、電気化学センサが提供される。
(4)0.1M硫酸中で、Ag/AgCl参照電極を基準にして作用電極に+10Vの電位を30分間印加した時の電流値の時間変動が30%以内である。
(5)前記(4)の測定後、0.1M硫酸中で、掃引速度100mV/sの条件で電流密度±250μA/cm
2
を満たす電位窓の範囲が5.0V以上であり、かつ、前記電位窓の範囲の中央位置の電位から±1V以内の充電電流密度の最大値が50μA/cm
2
以内である。
【0008】
また、本発明の他の態様によれば、
少なくとも作用電極にホウ素ドープダイヤモンド膜を有する電極を備えた電気化学センサであって、
以下の条件(6)および(7)を満たす、電気化学センサが提供される。
(6)0.1M硫酸中で、Ag/AgCl参照電極を基準にして作用電極に+10Vの電位を30分間印加した時の電流値の時間変動が30%以内である。
(7)前記(6)の測定後、1mMフェロシアン化カリウムおよび0.2M硫酸ナトリウムの混合液中で、電位-0.6Vから+1Vまでを折り返し印加し、掃引速度50mV/sの条件でサイクリックボルタンメトリー測定を行った際、酸化側および還元側の電流ピークがそれぞれ明瞭で、なだらかなシングルピークとなる。
【発明の効果】
【0009】
本発明によれば、ホウ素ドープダイヤモンド膜を有する電極チップを備えた電気化学センサの耐久性を向上させる技術を提供できる。
【図面の簡単な説明】
【0010】
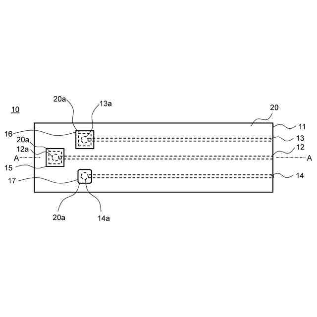
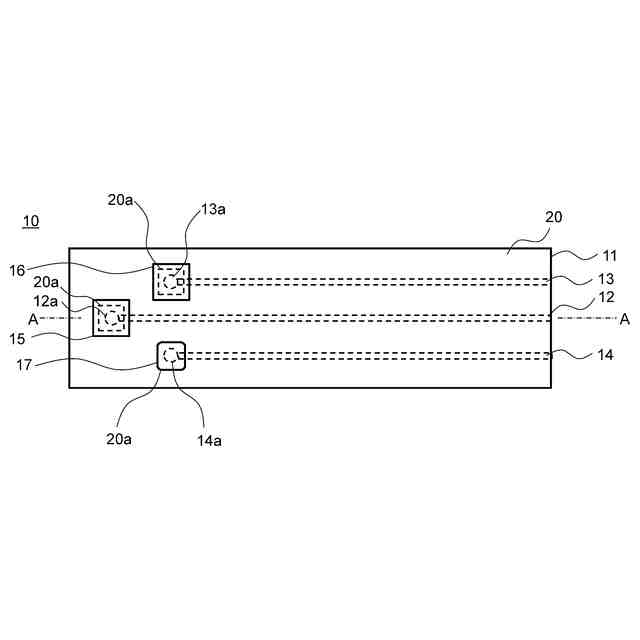
図1は、本発明の実施形態の電気化学センサ10の平面模式図である。
図2Aは、図1に示す電気化学センサ10のA-A線断面図である。
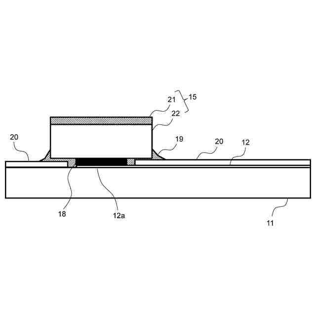
図2Bは、図2Aの電極チップ取り付け部分の拡大図である。
図3は、本発明の実施例に係る、サンプル1の電位窓評価試験(1回目)の結果を示す図である。
図4は、本発明の実施例に係る、サンプル1の連続電位印加試験の結果を示す図である。
図5は、本発明の実施例に係る、サンプル2の連続電位印加試験の結果を示す図である。
図6は、本発明の実施例に係る、サンプル3の連続電位印加試験の結果を示す図である。
図7は、本発明の実施例に係る、サンプル1の電位窓評価試験(2回目)の結果を示す図である。
図8は、図7の原点付近の拡大図である。
図9は、本発明の実施例に係る、サンプル3の電位窓評価試験(2回目)の結果を示す図である。
図10は、図9の原点付近の拡大図である。
図11は、本発明の実施例に係る、サンプル1のREDOX特性評価試験の結果を示す図である。
図12は、本発明の実施例に係る、サンプル3のREDOX特性評価試験の結果を示す図である。
図13Aは、従来例としての電気化学センサの断面図である。
図13Bは、図13Aの電極チップ取り付け部分の拡大図である。
【発明を実施するための形態】
(【0011】以降は省略されています)
この特許をJ-PlatPat(特許庁公式サイト)で参照する
関連特許
住友化学株式会社
偏光板
1か月前
住友化学株式会社
偏光板
1か月前
住友化学株式会社
積層体
1か月前
住友化学株式会社
偏光板
1か月前
住友化学株式会社
発光素子
1か月前
住友化学株式会社
発光素子
1か月前
住友化学株式会社
発光素子
1か月前
住友化学株式会社
熱分解装置
3日前
住友化学株式会社
フィルター
1か月前
住友化学株式会社
垂直偏光板
1か月前
住友化学株式会社
フィルター
1か月前
住友化学株式会社
光学積層体
1か月前
住友化学株式会社
樹脂組成物
1か月前
住友化学株式会社
フィルター
1か月前
住友化学株式会社
偏光積層体
1か月前
住友化学株式会社
熱分解装置
17日前
住友化学株式会社
金属有機構造体
1か月前
住友化学株式会社
電気化学センサ
1か月前
住友化学株式会社
組成物及び発光素子
15日前
住友化学株式会社
積層体および表示装置
1か月前
住友化学株式会社
プロピレンの製造方法
25日前
住友化学株式会社
偏光板及び画像表示装置
1か月前
住友化学株式会社
膜エレメントの製造方法
1か月前
住友化学株式会社
装置、方法及びプログラム
1か月前
住友化学株式会社
光学積層体及び偏光積層体
1か月前
住友化学株式会社
ポリオレフィン樹脂組成物
17日前
住友化学株式会社
組成物、硬化物および成形体
9日前
住友化学株式会社
無機アルミニウム化合物粉末
1か月前
住友化学株式会社
複合偏光板及び画像表示装置
1か月前
住友化学株式会社
粘着剤組成物および粘着剤層
1か月前
住友化学株式会社
位相差層積層体及び光学積層体
22日前
住友化学株式会社
複合成形体、及びその製造方法
22日前
住友化学株式会社
組成物、硬化物、および成形体
9日前
株式会社ユタックス
冷感生地
1日前
住友化学株式会社
リサイクル正極活物質の製造方法
1か月前
住友化学株式会社
リサイクル正極活物質の製造方法
1か月前
続きを見る
他の特許を見る