TOP
|
特許
|
意匠
|
商標
特許ウォッチ
Twitter
他の特許を見る
公開番号
2025167743
公報種別
公開特許公報(A)
公開日
2025-11-07
出願番号
2024072617
出願日
2024-04-26
発明の名称
非水電解液二次電池用積層セパレータ
出願人
住友化学株式会社
代理人
個人
,
個人
主分類
H01M
50/451 20210101AFI20251030BHJP(基本的電気素子)
要約
【課題】加圧後におけるイオン透過性を向上できる非水電解液二次電池用積層セパレータを提供する。
【解決手段】本開示の非水電解液二次電池用積層セパレータは、ポリオレフィン多孔質フィルムの片面または両面に多孔質層が積層されている。積層セパレータは、次の条件1および3または条件2および3を満たしている。条件1:多孔質層は、平均粒径が1μm以上であるフィラーを含んでいる。条件2:多孔質層は、表面の凹凸空間容積が0.4mL/m
2
以上である。条件3:(多孔質層の空隙率-ポリオレフィン多孔質フィルムの空隙率)÷非水電解液二次電池用積層セパレータの空隙率≦0.6である。
【選択図】図1
特許請求の範囲
【請求項1】
ポリオレフィン多孔質フィルムの片面または両面に多孔質層が積層されている、非水電解液二次電池用積層セパレータであって、
下記条件1および条件3を満たしている、非水電解液二次電池用積層セパレータ:
・条件1:上記多孔質層は、平均粒径が1μm以上であるフィラーを含んでいる。
・条件3:(上記多孔質層の空隙率-上記ポリオレフィン多孔質フィルムの空隙率)÷上記非水電解液二次電池用積層セパレータの空隙率≦0.6である。
続きを表示(約 870 文字)
【請求項2】
上記多孔質層は、ポリオレフィン、(メタ)アクリレート系樹脂、含フッ素樹脂、ポリアミド系樹脂、ポリエステル系樹脂および水溶性ポリマーからなる群より選択される1種類以上の樹脂を含んでいる、
請求項1に記載の非水電解液二次電池用積層セパレータ。
【請求項3】
上記多孔質層は、アラミド樹脂を含んでいる、
請求項2に記載の非水電解液二次電池用積層セパレータ。
【請求項4】
ポリオレフィン多孔質フィルムの片面または両面に多孔質層が積層されている、非水電解液二次電池用積層セパレータであって、
下記条件2および条件3を満たしている、非水電解液二次電池用積層セパレータ:
・条件2:上記多孔質層は、表面の凹凸空間容積が0.4mL/m
2
以上である。
・条件3:(上記多孔質層の空隙率-上記ポリオレフィン多孔質フィルムの空隙率)÷上記非水電解液二次電池用積層セパレータの空隙率≦0.6である。
【請求項5】
上記多孔質層は、ポリオレフィン、(メタ)アクリレート系樹脂、含フッ素樹脂、ポリアミド系樹脂、ポリエステル系樹脂および水溶性ポリマーからなる群より選択される1種類以上の樹脂を含んでいる、
請求項4に記載の非水電解液二次電池用積層セパレータ。
【請求項6】
上記多孔質層は、アラミド樹脂を含んでいる、
請求項5に記載の非水電解液二次電池用積層セパレータ。
【請求項7】
正極と、請求項1~6のいずれか1項に記載の非水電解液二次電池用積層セパレータと、負極と、がこの順に積層されている、
非水電解液二次電池用部材。
【請求項8】
請求項1~6のいずれか1項に記載の非水電解液二次電池用積層セパレータを備えている、
非水電解液二次電池。
【請求項9】
請求項7に記載の非水電解液二次電池用部材を備えている、
非水電解液二次電池。
発明の詳細な説明
【技術分野】
【0001】
本発明は、非水電解液二次電池用積層セパレータに関する。
続きを表示(約 2,100 文字)
【背景技術】
【0002】
非水電解液二次電池(特に、リチウムイオン二次電池)は、エネルギー密度が高く、パーソナルコンピュータ、携帯電話、携帯情報端末などに用いる電池として広く使用されている。また、最近では、車載用の電池としても開発が進められている。
【0003】
非水電解液二次電池を構成する部材であるセパレータも、非水電解液二次電池の性能を向上させるために、改良が進められている。例えば、特許文献1は、微多孔膜からなるセパレータ層(I)と、フィラーを主体として含む多孔質のセパレータ層(II)とを有する電気化学素子用セパレータを開示している。
【先行技術文献】
【特許文献】
【0004】
特開2008-123988号
【発明の概要】
【発明が解決しようとする課題】
【0005】
非水電解液二次電池は、充電時に電極(とりわけ負極)が膨張し、内圧が上昇することが知られていた。近年、非水電解液二次電池の高容量化に伴い、電池が大型化したり、次世代材料の電極(Si負極、Li金属負極、硫黄正極など)が用いられたりするようになった。このような変化のため、次世代型非水電解液二次電池を充電する際の内圧の上昇は、従来の非水電解液二次電池よりも大きくなる。すなわち、次世代型非水電解液二次電池では、セパレータにかかる圧力は大きくなり、電極の膨張によりセパレータが押し込まれる量も大きくなる。
【0006】
このような前提の下、特許文献1に記載されるような従来技術には、加圧後においてイオン透過性が低くなるという課題があった。
【0007】
本発明の一実施形態は、加圧後におけるイオン透過性を向上できる非水電解液二次電池用積層セパレータを提供することを目的とする。
【課題を解決するための手段】
【0008】
本発明には、下記の態様が含まれる。
<1>
ポリオレフィン多孔質フィルムの片面または両面に多孔質層が積層されている、非水電解液二次電池用積層セパレータであって、
下記条件1および条件3を満たしている、非水電解液二次電池用積層セパレータ:
・条件1:上記多孔質層は、平均粒径が1μm以上であるフィラーを含んでいる。
・条件3:(上記多孔質層の空隙率-上記ポリオレフィン多孔質フィルムの空隙率)÷上記非水電解液二次電池用積層セパレータの空隙率≦0.6である。
<2>
上記多孔質層は、ポリオレフィン、(メタ)アクリレート系樹脂、含フッ素樹脂、ポリアミド系樹脂、ポリエステル系樹脂および水溶性ポリマーからなる群より選択される1種類以上の樹脂を含んでいる、
<1>に記載の非水電解液二次電池用積層セパレータ。
<3>
上記多孔質層は、アラミド樹脂を含んでいる、
<2>に記載の非水電解液二次電池用積層セパレータ。
<4>
ポリオレフィン多孔質フィルムの片面または両面に多孔質層が積層されている、非水電解液二次電池用積層セパレータであって、
下記条件2および条件3を満たしている、非水電解液二次電池用積層セパレータ:
・条件2:上記多孔質層は、表面の凹凸空間容積が0.4mL/m
2
以上である。
・条件3:(上記多孔質層の空隙率-上記ポリオレフィン多孔質フィルムの空隙率)÷上記非水電解液二次電池用積層セパレータの空隙率≦0.6である。
<5>
上記多孔質層は、ポリオレフィン、(メタ)アクリレート系樹脂、含フッ素樹脂、ポリアミド系樹脂、ポリエステル系樹脂および水溶性ポリマーからなる群より選択される1種類以上の樹脂を含んでいる、
<4>に記載の非水電解液二次電池用積層セパレータ。
<6>
上記多孔質層は、アラミド樹脂を含んでいる、
<5>に記載の非水電解液二次電池用積層セパレータ。
<7>
正極と、<1>~<6>のいずれかに記載の非水電解液二次電池用積層セパレータと、負極と、がこの順に積層されている、
非水電解液二次電池用部材。
<8>
<1>~<6>のいずれかに記載の非水電解液二次電池用積層セパレータを備えている、
非水電解液二次電池。
<9>
<7>に記載の非水電解液二次電池用部材を備えている、
非水電解液二次電池。
【発明の効果】
【0009】
本発明の一実施形態は、加圧後におけるイオン透過性を向上できる非水電解液二次電池用積層セパレータを提供することを目的とする。
【図面の簡単な説明】
【0010】
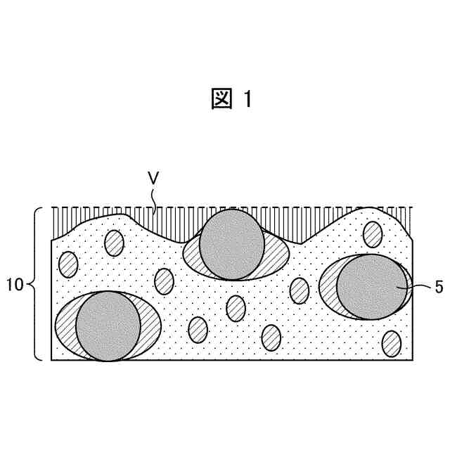
本発明の一実施形態において、多孔質層表面の凹凸空間容積を説明するための模式図である。
【発明を実施するための形態】
(【0011】以降は省略されています)
この特許をJ-PlatPat(特許庁公式サイト)で参照する
関連特許
住友化学株式会社
偏光板
1か月前
住友化学株式会社
偏光板
1か月前
住友化学株式会社
積層体
1か月前
住友化学株式会社
偏光板
1か月前
住友化学株式会社
発光素子
1か月前
住友化学株式会社
発光素子
1か月前
住友化学株式会社
発光素子
1か月前
住友化学株式会社
熱分解装置
4日前
住友化学株式会社
フィルター
1か月前
住友化学株式会社
垂直偏光板
1か月前
住友化学株式会社
フィルター
1か月前
住友化学株式会社
光学積層体
1か月前
住友化学株式会社
樹脂組成物
1か月前
住友化学株式会社
フィルター
1か月前
住友化学株式会社
偏光積層体
1か月前
住友化学株式会社
熱分解装置
18日前
住友化学株式会社
金属有機構造体
1か月前
住友化学株式会社
電気化学センサ
1か月前
住友化学株式会社
組成物及び発光素子
16日前
住友化学株式会社
積層体および表示装置
1か月前
住友化学株式会社
プロピレンの製造方法
26日前
住友化学株式会社
偏光板及び画像表示装置
1か月前
住友化学株式会社
膜エレメントの製造方法
1か月前
住友化学株式会社
装置、方法及びプログラム
1か月前
住友化学株式会社
光学積層体及び偏光積層体
1か月前
住友化学株式会社
ポリオレフィン樹脂組成物
18日前
住友化学株式会社
組成物、硬化物および成形体
10日前
住友化学株式会社
無機アルミニウム化合物粉末
1か月前
住友化学株式会社
複合偏光板及び画像表示装置
2か月前
住友化学株式会社
粘着剤組成物および粘着剤層
1か月前
住友化学株式会社
位相差層積層体及び光学積層体
23日前
住友化学株式会社
複合成形体、及びその製造方法
23日前
住友化学株式会社
組成物、硬化物、および成形体
10日前
株式会社ユタックス
冷感生地
2日前
住友化学株式会社
リサイクル正極活物質の製造方法
1か月前
住友化学株式会社
リサイクル正極活物質の製造方法
1か月前
続きを見る
他の特許を見る