TOP
|
特許
|
意匠
|
商標
特許ウォッチ
Twitter
他の特許を見る
10個以上の画像は省略されています。
公開番号
2025150825
公報種別
公開特許公報(A)
公開日
2025-10-09
出願番号
2024051947
出願日
2024-03-27
発明の名称
装置、方法及びプログラム
出願人
住友化学株式会社
代理人
個人
,
個人
主分類
G01N
21/27 20060101AFI20251002BHJP(測定;試験)
要約
【課題】微生物叢について、各種微生物の状態を解析する際の解析精度を向上させる。
【解決手段】装置は、対象物を撮影した撮影信号を分光することで生成される分光画像を取得する取得部と、前記分光画像に基づいてテクスチャを表す特徴量を算出する特徴量算出部と、学習用の対象物について算出された前記特徴量と、前記学習用の対象物に含まれる微生物の状態を表すデータと、を含む学習用データを用いて学習された学習済みモデルに、予測用の対象物について算出された前記特徴量を入力することで、前記予測用の対象物に含まれる微生物の状態を表すデータを予測する予測部とを有する。
【選択図】図11
特許請求の範囲
【請求項1】
対象物を撮影した撮影信号を分光することで生成される分光画像を取得する取得部と、
前記分光画像に基づいてテクスチャを表す特徴量を算出する特徴量算出部と、
学習用の対象物について算出された前記特徴量と、前記学習用の対象物に含まれる微生物の状態を表すデータと、を含む学習用データを用いて学習された学習済みモデルに、予測用の対象物について算出された前記特徴量を入力することで、前記予測用の対象物に含まれる微生物の状態を表すデータを予測する予測部と
を有する装置。
続きを表示(約 930 文字)
【請求項2】
前記撮影信号は、所定の波長範囲の光を対象物に照射することで得られる信号である、
請求項1に記載の装置。
【請求項3】
前記特徴量算出部により算出された、複数の前記分光画像それぞれの複数の前記特徴量の中から、一部の前記分光画像の一部の前記特徴量が選択されて、前記学習または前記予測に用いられる、
請求項1に記載の装置。
【請求項4】
前記特徴量には、前記分光画像に含まれる画素の画素値の統計量が含まれる、
請求項1に記載の装置。
【請求項5】
前記特徴量算出部は、正規化処理した前記特徴量を算出する、
請求項1に記載の装置。
【請求項6】
前記正規化処理は、前記取得部により取得された分光画像のうち、特定波長の分光画像の画素値を用いて、前記特定波長の分光画像を除く分光画像の画素値に対して演算する処理である、
請求項5に記載の装置。
【請求項7】
前記対象物は、単一種又は複数種類の微生物を含む生体由来または環境由来のサンプルである、
請求項1に記載の装置。
【請求項8】
前記微生物の状態を表すデータには、対象物に含まれる微生物の種類、量、含有比率のいずれかが含まれる、
請求項1に記載の装置。
【請求項9】
前記微生物の状態を表すデータは、対象物に含まれる各種微生物の量の、全ての種類の微生物の総量に占める比率を表す、各種微生物の含有比率であり、
前記予測部は、微生物の種類の数に応じた数の学習済みモデルを用いて、前記予測用の対象物に含まれる各種類の微生物の含有比率を予測する、
請求項8に記載の装置。
【請求項10】
前記微生物の状態を表すデータは、対象物に最も多く含まれる微生物の種類を示すデータであり、
前記予測部は、対象物に最も多く含まれる微生物の種類を予測する学習済みモデルを用いて、前記予測用の対象物に最も多く含まれる微生物の種類を予測する、
請求項8に記載の装置。
(【請求項11】以降は省略されています)
発明の詳細な説明
【技術分野】
【0001】
本開示は、装置、方法及びプログラムに関する。
続きを表示(約 1,600 文字)
【背景技術】
【0002】
家畜の腸内細菌等を調べる方法として、例えば、家畜の回腸内容物や糞便等を採取し、細菌叢を解析する方法が知られている。一般に、細菌叢の解析には、培養法による解析や16SrRNA解析等が用いられる。
【0003】
一方で、細菌叢を含む微生物叢を解析する方法として、対象物に所定の波長の光を照射することで得られる反射スペクトルを用いる方法が提案されている。当該解析方法によれば、対象物に含まれる微生物の種類を、低コストで解析することができる。
【先行技術文献】
【特許文献】
【0004】
特開2013-235014号公報
【発明の概要】
【発明が解決しようとする課題】
【0005】
しかしながら、反射スペクトルを用いる上記方法は、対象物から反射する光の各波長での反射強度を解析するものであり、解析結果は、各種微生物の反射特性に依存する。このため、例えば、反射特性の異なる微生物が対象物内に混在する微生物叢の場合、上記方法では、各種微生物の状態(例えば、含有比率等)を精度よく解析することが難しい。
【0006】
本開示は、微生物叢について、各種微生物の状態を解析する際の解析精度を向上させることを目的としている。
【課題を解決するための手段】
【0007】
一態様によれば、装置は、
対象物を撮影した撮影信号を分光することで生成される分光画像を取得する取得部と、
前記分光画像に基づいてテクスチャを表す特徴量を算出する特徴量算出部と、
学習用の対象物について算出された前記特徴量と、前記学習用の対象物に含まれる微生物の状態を表すデータと、を含む学習用データを用いて学習された学習済みモデルに、予測用の対象物について算出された前記特徴量を入力することで、前記予測用の対象物に含まれる微生物の状態を表すデータを予測する予測部とを有する。
【発明の効果】
【0008】
本開示によれば、微生物叢について、各種微生物の状態を解析する際の解析精度を向上させることができる。
【図面の簡単な説明】
【0009】
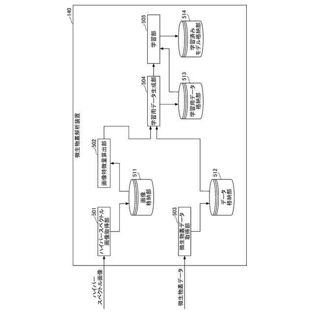
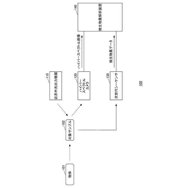
微生物叢解析システムの学習フェーズにおけるシステム構成の一例を示す図である。
微生物叢解析装置のハードウェア構成の一例を示す図である。
ハイパースペクトル画像の一例を示す図である。
微生物叢データの一例を示す図である。
微生物叢解析装置の学習フェーズにおける機能構成の一例を示す図である。
画像特徴量算出部による処理の一例を示す図である。
学習用データ生成部による処理の一例を示す図である。
学習部による処理の一例を示す図である。
微生物叢解析システムによる学習処理の流れを示すフローチャートの一例である。
微生物叢解析システムの予測フェーズにおけるシステム構成の一例を示す図である。
微生物叢解析装置の予測フェーズにおける機能構成の一例を示す図である。
予測部による処理の一例を示す図である。
出力部による処理の一例を示す図である。
微生物叢解析システムによる予測処理の流れを示すフローチャートの一例である。
各種微生物の含有比率を予測する学習済みモデルの予測精度の検証例を示す図である。
最も含有比率の高い微生物の種類を予測する学習済みモデルの予測精度の検証例を示す図である。
【発明を実施するための形態】
【0010】
以下、各実施形態について添付の図面を参照しながら説明する。なお、本明細書及び図面において、実質的に同一の機能構成を有する構成要素については、同一の符号を付することにより重複した説明を省略する。
(【0011】以降は省略されています)
この特許をJ-PlatPat(特許庁公式サイト)で参照する
関連特許
住友化学株式会社
積層体
1日前
住友化学株式会社
樹脂組成物
8日前
住友化学株式会社
積層体および表示装置
1日前
住友化学株式会社
偏光板及び画像表示装置
3日前
住友化学株式会社
膜エレメントの製造方法
2日前
住友化学株式会社
装置、方法及びプログラム
2日前
住友化学株式会社
複合偏光板及び画像表示装置
10日前
住友化学株式会社
粘着剤組成物および粘着剤層
2日前
住友化学株式会社
リサイクル正極活物質の製造方法
2日前
住友化学株式会社
偏光板およびこれを含む円偏光板
3日前
住友化学株式会社
着色剤及び着色硬化性樹脂組成物
9日前
住友化学株式会社
リサイクル正極活物質の製造方法
2日前
住友化学株式会社
リサイクル正極活物質の製造方法
2日前
住友化学株式会社
リサイクル正極活物質の製造方法
2日前
住友化学株式会社
リサイクル正極活物質の製造方法
2日前
住友化学株式会社
リサイクル正極活物質の製造方法
2日前
住友化学株式会社
リサイクル正極活物質の製造方法
2日前
住友化学株式会社
リサイクル正極活物質の製造方法
2日前
住友化学株式会社
リサイクル正極活物質の製造方法
2日前
住友化学株式会社
液晶性高分子膜及びその製造方法
1日前
住友化学株式会社
リサイクル正極活物質の製造方法
1日前
住友化学株式会社
リサイクル正極活物質の製造方法
2日前
住友化学株式会社
リサイクル正極活物質の製造方法
2日前
住友化学株式会社
リサイクル正極活物質の製造方法
2日前
住友化学株式会社
リサイクル正極活物質の製造方法
2日前
住友化学株式会社
液晶ポリエステル組成物及びフィルム
4日前
住友化学株式会社
アルミニウム加工材およびその製造方法
2日前
住友化学株式会社
複素環化合物を用いる有害節足動物防除方法
8日前
住友化学株式会社
レジスト組成物及びレジストパターンの製造方法
8日前
住友化学株式会社
着色硬化性樹脂組成物、カラーフィルタ及び表示装置
8日前
住友化学株式会社
化合物、組成物、インク、光電変換素子、及び光センサー
1日前
住友化学株式会社
レジスト組成物及びレジストパターンの製造方法並びに化合物
8日前
住友化学株式会社
レジスト組成物及びレジストパターンの製造方法並びに化合物
8日前
住友化学株式会社
レジスト組成物及びレジストパターンの製造方法並びに化合物
8日前
住友化学株式会社
レジスト組成物及びレジストパターンの製造方法並びに化合物
8日前
住友化学株式会社
化合物、組成物、カラーフィルタ、表示装置、及び固体撮像素子
10日前
続きを見る
他の特許を見る