TOP
|
特許
|
意匠
|
商標
特許ウォッチ
Twitter
他の特許を見る
公開番号
2025152714
公報種別
公開特許公報(A)
公開日
2025-10-10
出願番号
2024054748
出願日
2024-03-28
発明の名称
リサイクル正極活物質の製造方法
出願人
住友化学株式会社
,
国立大学法人京都大学
代理人
個人
,
個人
,
個人
主分類
C22B
7/00 20060101AFI20251002BHJP(冶金;鉄または非鉄合金;合金の処理または非鉄金属の処理)
要約
【課題】加熱後の混合物から正極活物質以外の成分を効率よく除去する。
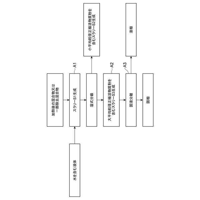
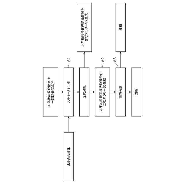
【解決手段】リサイクル正極活物質粉の製造方法は、(1)正極活物質粉及び炭素含有材料を含む正極合材に活性化処理剤を混合して混合物を得る工程、(2)混合物を加熱して加熱後の正極活物質粉を含む加熱後の混合物を得る工程、及び、(3)加熱後の混合物から加熱後の正極活物質粉以外の成分を除去する工程を含む。工程(3)は、(A1)加熱後の混合物又は一部除去混合物に対して、水を含む液体を接触させて、加熱後の正極活物質粉を含むスラリーS1を得るサブ工程、(A2)スラリーS1中で加熱後の正極活物質粉を湿式分級して、相対的に平均粒径の小さい加熱後の正極活物質粉を含むスラリーS2と、相対的に平均粒径の大きい加熱後の正極活物質粉を含むスラリーS3とを得るサブ工程、及び、(A3)スラリーS3を固液分離するサブ工程、を有する。
【選択図】図1
特許請求の範囲
【請求項1】
(1)正極活物質粉、及び、炭素含有材料を含む正極合材に、1種または2種以上のアルカリ金属化合物を含有する活性化処理剤を混合して混合物を得る工程、
(2)前記混合物を加熱して、加熱後の正極活物質粉を含む加熱後の混合物を得る工程、及び、
(3)前記加熱後の混合物から前記加熱後の正極活物質粉以外の成分を除去する工程、を含む、リサイクル正極活物質粉の製造方法であって、
工程(3)は、
(A1)前記加熱後の混合物、又は、前記加熱後の混合物から前記加熱後の正極活物質粉以外の成分が一部除去された一部除去混合物に対して、水を含む液体を接触させて、前記加熱後の正極活物質粉を含むスラリーS1を得るサブ工程、
(A2)前記スラリーS1中で前記加熱後の正極活物質粉を湿式分級して、相対的に平均粒径の小さい前記加熱後の正極活物質粉を含むスラリーS2と、相対的に平均粒径の大きい前記加熱後の正極活物質粉を含むスラリーS3とを得るサブ工程、及び、
(A3)前記スラリーS3を固液分離するサブ工程、を有する、方法。
続きを表示(約 280 文字)
【請求項2】
サブ工程(A1)は、前記加熱後の混合物に対して、水を含む液体を接触させて、前記加熱後の正極活物質粉を含むスラリーS1を得るサブ工程である、請求項1に記載の方法。
【請求項3】
サブ工程(A1)は、前記加熱後の混合物から前記加熱後の正極活物質粉以外の成分が一部除去された一部除去混合物に対して、水を含む液体を接触させて、前記加熱後の正極活物質粉を含むスラリーS1を得るサブ工程である、請求項1に記載の方法。
【請求項4】
サブ工程(A2)の湿式分級を、湿式篩又は湿式サイクロンで行う、請求項1又は2に記載の方法。
発明の詳細な説明
【技術分野】
【0001】
本発明は、リサイクル正極活物質の製造方法に関する。
続きを表示(約 1,400 文字)
【背景技術】
【0002】
電池の正極活物質にはコバルト、ニッケル、マンガン、リチウムなどの希少金属成分が含有されており、特に非水電解質二次電池の正極活物質には、上記の希少金属成分を主成分とする化合物が利用されている。希少金属成分の資源を保全するために、二次電池の電池廃材から、希少金属成分を再生産する方法が求められている。
【0003】
例えば、特許文献1には、正極合材とアルカリ金属化合物を含有する活性化処理剤とを混合し、混合物を加熱してバインダーを分解して加熱後の混合物を得、加熱後の混合物に水を添加してスラリー化した後に固液分離することにより正極活物質を回収する方法が開示されている。この方法では、有機溶剤を使用せずに、電池廃材から正極活物質を直接回収する点でコスト的に優れている。
【先行技術文献】
【特許文献】
【0004】
特開2012-186150号公報
【発明の概要】
【発明が解決しようとする課題】
【0005】
しかしながら、特許文献1においては、加熱後の混合物から正極活物質以外の成分を効率よく除去する点でなお改善の余地があった。
【0006】
本発明は上記課題に鑑みてなされたものであり、加熱後の混合物から正極活物質以外の成分を効率よく除去することのできるリサイクル正極活物質の製造方法を提供することを目的とする。
【課題を解決するための手段】
【0007】
[1](1)正極活物質粉、及び、炭素含有材料を含む正極合材に、1種または2種以上のアルカリ金属化合物を含有する活性化処理剤を混合して混合物を得る工程、
(2)前記混合物を加熱して、加熱後の正極活物質粉を含む加熱後の混合物を得る工程、及び、
(3)前記加熱後の混合物から前記加熱後の正極活物質粉以外の成分を除去する工程、を含む、リサイクル正極活物質粉の製造方法であって、
工程(3)は、
(A1)前記加熱後の混合物、又は、前記加熱後の混合物から前記加熱後の正極活物質粉以外の成分が一部除去された一部除去混合物に対して、水を含む液体を接触させて、前記加熱後の正極活物質粉を含むスラリーS1を得るサブ工程、
(A2)前記スラリーS1中で前記加熱後の正極活物質粉を湿式分級して、相対的に平均粒径の小さい前記加熱後の正極活物質粉を含むスラリーS2と、相対的に平均粒径の大きい前記加熱後の正極活物質粉を含むスラリーS3とを得るサブ工程、及び、
(A3)前記スラリーS3を固液分離するサブ工程、を有する、方法。
【0008】
[2]サブ工程(A1)は、前記加熱後の混合物に対して、水を含む液体を接触させて、前記加熱後の正極活物質粉を含むスラリーS1を得るサブ工程である、[1]に記載の方法。
【0009】
[3]サブ工程(A1)は、前記加熱後の混合物から前記加熱後の正極活物質粉以外の成分が一部除去された一部除去混合物に対して、水を含む液体を接触させて、前記加熱後の正極活物質粉を含むスラリーS1を得るサブ工程である、[1]に記載の方法。
【0010】
[4]サブ工程(A2)の湿式分級を、湿式篩又は湿式サイクロンで行う、[1]又は[2]に記載の方法。
【発明の効果】
(【0011】以降は省略されています)
この特許をJ-PlatPat(特許庁公式サイト)で参照する
関連特許
住友化学株式会社
積層体
23日前
住友化学株式会社
着色剤
1か月前
住友化学株式会社
化合物
1か月前
住友化学株式会社
偏光板
19日前
住友化学株式会社
偏光板
19日前
住友化学株式会社
偏光板
16日前
住友化学株式会社
発光素子
19日前
住友化学株式会社
発光素子
19日前
住友化学株式会社
発光素子
19日前
住友化学株式会社
フィルター
19日前
住友化学株式会社
光学積層体
19日前
住友化学株式会社
偏光積層体
19日前
住友化学株式会社
垂直偏光板
16日前
住友化学株式会社
樹脂組成物
1か月前
住友化学株式会社
フィルター
19日前
住友化学株式会社
フィルター
19日前
住友化学株式会社
電気化学センサ
3日前
住友化学株式会社
金属有機構造体
19日前
住友化学株式会社
体液に由来する試料
1か月前
住友化学株式会社
芳香族ポリスルホン
1か月前
住友化学株式会社
積層体および表示装置
23日前
住友化学株式会社
膜エレメントの製造方法
24日前
住友化学株式会社
偏光板及び画像表示装置
25日前
住友化学株式会社
装置、方法及びプログラム
24日前
住友化学株式会社
光学積層体及び偏光積層体
19日前
住友化学株式会社
複合偏光板及び画像表示装置
1か月前
住友化学株式会社
粘着剤組成物および粘着剤層
24日前
住友化学株式会社
光学積層体及びその製造方法
1か月前
住友化学株式会社
無機アルミニウム化合物粉末
3日前
住友化学株式会社
リサイクル正極活物質の製造方法
24日前
住友化学株式会社
リサイクル正極活物質の製造方法
23日前
住友化学株式会社
リサイクル正極活物質の製造方法
24日前
住友化学株式会社
液晶性高分子膜及びその製造方法
23日前
住友化学株式会社
リサイクル正極活物質の製造方法
24日前
住友化学株式会社
リサイクル正極活物質の製造方法
24日前
住友化学株式会社
リサイクル正極活物質の製造方法
24日前
続きを見る
他の特許を見る