TOP
|
特許
|
意匠
|
商標
特許ウォッチ
Twitter
他の特許を見る
公開番号
2025161192
公報種別
公開特許公報(A)
公開日
2025-10-24
出願番号
2024064175
出願日
2024-04-11
発明の名称
磁気トンネル接合素子及び磁気デバイス
出願人
住友化学株式会社
,
国立大学法人東京科学大学
代理人
個人
,
個人
,
個人
主分類
H10N
50/20 20230101AFI20251017BHJP()
要約
【課題】磁気トンネル接合の低消費電力化を可能とする磁気トンネル接合素子及び磁気デバイスを提供する。
【解決手段】磁気トンネル接合素子は、第1強磁性層と、第2強磁性層と、トンネル絶縁層と、金属窒化層と、第1導電層と、保護層と、を備える。金属窒化層は、一般式Z
1-x
M
x
W
y
N
1-y
で表され、Zは、Al、In、及び、Gaからなる群から選ばれる少なくとも1つの元素であり、Mは、Sc、B、C、Si、Gd、Cr、Zn、Y、La、Ce、Pr、Nd、Sm、Eu、Tb、Dy、Ho、Er、Tm、Yb、Ti、Hf、及び、Zrからなる群から選ばれる少なくとも1つの元素であり、Wは、O、S、Se、F、Cl、Br、及び、Iからなる群から選ばれる少なくとも1つの元素である。保護層は、Al、Si、及び、Tiからなる群から選ばれる少なくとも1つの金属元素の酸化物、金属元素の窒化物、金属元素の酸窒化物、又は、アモルファスシリコンを含む。
【選択図】図3
特許請求の範囲
【請求項1】
磁化固定層である第1強磁性層と、
磁化自由層である第2強磁性層と、
前記第1強磁性層と前記第2強磁性層との間に介在するトンネル絶縁層と、
前記第2強磁性層上に設けられた金属窒化層と、
前記金属窒化層上に設けられた第1導電層と、
前記金属窒化層の露出面を覆う保護層と、を備え、
前記金属窒化層は、金属窒化物を含む膜であって、
ウルツ鉱型構造を有し、
一般式Z
1-x
M
x
W
y
N
1-y
で表され、
Zは、Al、In、及び、Gaからなる群から選ばれる少なくとも1つの元素であり、
Mは、Sc、B、C、Si、Gd、Cr、Zn、Y、La、Ce、Pr、Nd、Sm、Eu、Tb、Dy、Ho、Er、Tm、Yb、Ti、Hf、及び、Zrからなる群から選ばれる少なくとも1つの元素であり、
Wは、O、S、Se、F、Cl、Br、及び、Iからなる群から選ばれる少なくとも1つの元素であり、
0<x≦0.45、及び、0<y≦0.4であり、
前記保護層は、Al、Si、及び、Tiからなる群から選ばれる少なくとも1つの金属元素の酸化物、前記金属元素の窒化物、前記金属元素の酸窒化物、又は、アモルファスシリコンを含む、
磁気トンネル接合素子。
続きを表示(約 310 文字)
【請求項2】
Zは、Alである、請求項1に記載の磁気トンネル接合素子。
【請求項3】
Zは、Inである、請求項1に記載の磁気トンネル接合素子。
【請求項4】
Zは、Gaである、請求項1に記載の磁気トンネル接合素子。
【請求項5】
前記第2強磁性層と前記金属窒化層との間に設けられた第2導電層を更に備える、請求項1~3のいずれか一項に記載の磁気トンネル接合素子。
【請求項6】
請求項1~3のいずれか一項に記載の磁気トンネル接合素子を備える、磁気デバイス。
【請求項7】
磁気ランダムアクセスメモリである、請求項5に記載の磁気デバイス。
発明の詳細な説明
【技術分野】
【0001】
本開示は、磁気トンネル接合素子及び磁気デバイスに関する。
続きを表示(約 2,800 文字)
【背景技術】
【0002】
磁気トンネル接合(Magnetic Tunnel Junction=MTJ)が知られている(例えば、特許文献1又は特許文献2)。MTJは、室温において巨大な磁気抵抗効果を示すことから、ハードディスクドライブ(HDD)に搭載されている磁気ヘッドや磁気ランダムアクセスメモリ(MRAM)などに採用されている。MTJは、二つの強磁性層の間に絶縁層が配置された構造を有する。絶縁層の厚さが非常に薄いため、トンネル効果により二つの強磁性層の間に微小の電流(トンネル電流)が流れる。二つの強磁性層が互いに平行のとき、MTJの電気抵抗が低くなり、トンネル電流が増加する。一方、二つの強磁性層が互いに反平行のとき、MTJの電気抵抗が高くなり、トンネル電流が減少する。MTJを採用したデバイスでは、一方の強磁性層の磁化方向を反強磁性層により固定するとともに、他方の強磁性層の磁化方向を自由に反転できるようにして、電気抵抗を変化させる。
【先行技術文献】
【特許文献】
【0003】
特開2014-229706号公報
特開2022-069247号公報
特開2007-261883号公報
【非特許文献】
【0004】
HC Lee, “Influence of sputtering pressure on the microstructure evolution of AlN thin films prepared by reactive sputtering”, Thin Solid Films, Volume 261, Issues 1-2, 1 June 1995, Pages 148-153
【発明の概要】
【発明が解決しようとする課題】
【0005】
上述のMTJにおいて、外部磁界を用いて電気抵抗を変化させるには、大きな電力が必要である。よって、低消費電力化が望まれている。
【0006】
本開示は、MTJの低消費電力化を可能とする磁気トンネル接合素子及び磁気デバイスを提供することを目的とする。
【課題を解決するための手段】
【0007】
本発明者らは、上記課題を解決すべく鋭意検討を進めたところ、ウルツ鉱型構造を有する特定の金属窒化物がMTJの低消費電力化を可能とすることを見出し、本発明を想到した。
【0008】
[1]
磁化固定層である第1強磁性層と、
磁化自由層である第2強磁性層と、
前記第1強磁性層と前記第2強磁性層との間に介在するトンネル絶縁層と、
前記第2強磁性層上に設けられた金属窒化層と、
前記金属窒化層上に設けられた第1導電層と、
前記金属窒化層の露出面を覆う保護層と、を備え、
前記金属窒化層は、金属窒化物を含む膜であって、
ウルツ鉱型構造を有し、
一般式Z
1-x
M
x
W
y
N
1-y
で表され、
Zは、Al、In、及び、Gaからなる群から選ばれる少なくとも1つの元素であり、
Mは、Sc、B、C、Si、Gd、Cr、Zn、Y、La、Ce、Pr、Nd、Sm、Eu、Tb、Dy、Ho、Er、Tm、Yb、Ti、Hf、及び、Zrからなる群から選ばれる少なくとも1つの元素であり、
Wは、O、S、Se、F、Cl、Br、及び、Iからなる群から選ばれる少なくとも1つの元素であり、
0<x≦0.45、及び、0<y≦0.4であり、
前記保護層は、Al、Si、及び、Tiからなる群から選ばれる少なくとも1つの金属元素の酸化物、前記金属元素の窒化物、前記金属元素の酸窒化物、又は、アモルファスシリコンを含む、
磁気トンネル接合素子。
[2]
Zは、Alである、[1]に記載の磁気トンネル接合素子。
[3]
Zは、Inである、[1]に記載の磁気トンネル接合素子。
[4]
Zは、Gaである、[1]に記載の磁気トンネル接合素子。
[5]
前記第2強磁性層と前記金属窒化層との間に設けられた第2導電層を更に備える、[1]~[4]のいずれか一項に記載の磁気トンネル接合素子。
[6]
[1]~[5]のいずれか一項に記載の磁気トンネル接合素子を備える、磁気デバイス。
[7]
磁気ランダムアクセスメモリである、[6]に記載の磁気デバイス。
【発明の効果】
【0009】
本開示の一態様によれば、MTJの低消費電力化を可能とする磁気トンネル接合素子及び磁気デバイスが提供される。
【図面の簡単な説明】
【0010】
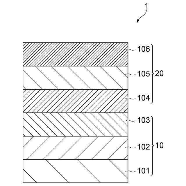
図1は、実施形態に係るMTJ素子を示す断面図である。
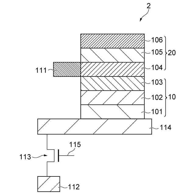
図2は、実施形態に係るMRAMの単一セルを示す断面図である。
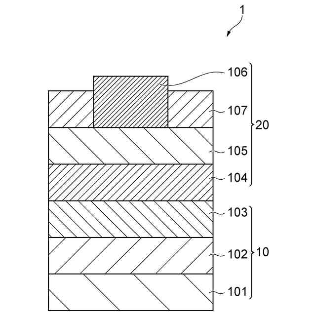
図3は、変形例に係るMTJ素子を示す断面図である。
図4は、AFMを用いたAl
0.7
Sc
0.3
O
0.05
N
0.95
膜の評価方法を説明する図である。
図5(a)は、書き込み領域及び書き込み電圧の説明図である。図5(b)は、書き込み後の磁化状態を示すMFM像である。
図6(a)は、書き込み領域及び書き込み電圧の説明図である。図6(b)は、書き込み後の表面形状を示すAFM像である。図6(c)は、書き込み後の磁化状態を示す膜のMFM像である。
図7(a)は、Al
0.7
Sc
0.3
O
0.05
N
0.95
膜の磁化曲線を示すグラフである。図7(b)は、Al
0.7
Sc
0.3
O
0.2
N
0.8
膜の磁化曲線を示すグラフである。
図8は、AlScN膜のX線回折の結果である。
図9は、Al
0.7
Sc
0.3
O
y
N
1-y
膜の磁化曲線を示すグラフである。
図10は、酸素置換量及び飽和磁化量の関係を示すグラフである。
図11は、飽和磁化量の経時変化を示すグラフである。
【発明を実施するための形態】
(【0011】以降は省略されています)
この特許をJ-PlatPat(特許庁公式サイト)で参照する
関連特許
住友化学株式会社
偏光板
1か月前
住友化学株式会社
偏光板
1か月前
住友化学株式会社
偏光板
1か月前
住友化学株式会社
積層体
1か月前
住友化学株式会社
発光素子
1か月前
住友化学株式会社
発光素子
1か月前
住友化学株式会社
発光素子
1か月前
住友化学株式会社
熱分解装置
16日前
住友化学株式会社
熱分解装置
2日前
住友化学株式会社
フィルター
1か月前
住友化学株式会社
フィルター
1か月前
住友化学株式会社
フィルター
1か月前
住友化学株式会社
偏光積層体
1か月前
住友化学株式会社
光学積層体
1か月前
住友化学株式会社
垂直偏光板
1か月前
住友化学株式会社
金属有機構造体
1か月前
住友化学株式会社
電気化学センサ
29日前
住友化学株式会社
組成物及び発光素子
14日前
住友化学株式会社
プロピレンの製造方法
24日前
住友化学株式会社
積層体および表示装置
1か月前
住友化学株式会社
膜エレメントの製造方法
1か月前
住友化学株式会社
偏光板及び画像表示装置
1か月前
住友化学株式会社
ポリオレフィン樹脂組成物
16日前
住友化学株式会社
装置、方法及びプログラム
1か月前
住友化学株式会社
光学積層体及び偏光積層体
1か月前
住友化学株式会社
組成物、硬化物および成形体
8日前
住友化学株式会社
無機アルミニウム化合物粉末
29日前
住友化学株式会社
粘着剤組成物および粘着剤層
1か月前
住友化学株式会社
組成物、硬化物、および成形体
8日前
住友化学株式会社
位相差層積層体及び光学積層体
21日前
株式会社ユタックス
冷感生地
今日
住友化学株式会社
複合成形体、及びその製造方法
21日前
住友化学株式会社
リサイクル正極活物質の製造方法
1か月前
住友化学株式会社
液晶性高分子膜及びその製造方法
1か月前
住友化学株式会社
リサイクル正極活物質の製造方法
1か月前
住友化学株式会社
リサイクル正極活物質の製造方法
1か月前
続きを見る
他の特許を見る