TOP
|
特許
|
意匠
|
商標
特許ウォッチ
Twitter
他の特許を見る
10個以上の画像は省略されています。
公開番号
2025171783
公報種別
公開特許公報(A)
公開日
2025-11-20
出願番号
2024077445
出願日
2024-05-10
発明の名称
距離測定装置
出願人
スタンレー電気株式会社
代理人
弁理士法人むつきパートナーズ
主分類
G01S
7/497 20060101AFI20251113BHJP(測定;試験)
要約
【課題】簡素な構成で測距性能の低下を抑制し、測距範囲を適正に維持すること。
【解決手段】レーザ光を放出する光源と、前記光源から放出されるレーザ光を偏向する偏向器と、前記偏向器によって偏向された前記レーザ光が物体に照射されることによって生じる反射光を受光する受光センサと、前記光源及び前記偏向器の動作を制御するとともに、前記受光センサによって受光される前記反射光に基づいて前記物体との間の距離を測定するコントローラとを含み、前記コントローラは、前記偏向器に設定した回転角に対して想定される前記レーザ光の前記受光センサの受光面上での基準入光位置と、前記設定した回転角にて実際に前記偏光器を動作させて前記レーザ光を偏向させたことによって生じた前記反射光に基づいて求められる前記レーザ光の前記受光センサでの実際の入光位置との差分に基づいて前記偏向器の制御ずれを検出する、距離測定装置である。
【選択図】図1
特許請求の範囲
【請求項1】
物体との間の距離を測定するための装置であって、
レーザ光を放出する光源と、
前記光源から放出されるレーザ光を偏向する偏向器と、
前記偏向器によって偏向された前記レーザ光が前記物体に照射されることによって生じる反射光を受光する受光センサと、
前記光源及び前記偏向器の動作を制御するとともに、前記受光センサによって受光される前記反射光に基づいて前記物体との間の距離を測定するコントローラと、
を含み、
前記コントローラは、前記偏向器に設定した回転角に対して想定される前記レーザ光の前記受光センサの受光面上での基準入光位置と、前記設定した回転角にて実際に前記偏光器を動作させて前記レーザ光を偏向させたことによって生じた前記反射光に基づいて求められる前記レーザ光の前記受光センサでの実際の入光位置との差分に基づいて前記偏向器の制御ずれを検出する、
距離測定装置。
続きを表示(約 510 文字)
【請求項2】
前記コントローラは、前記差分に基づいて、前記偏光器の制御ずれを補正する、
請求項1に記載の距離測定装置。
【請求項3】
前記受光センサは、各々が受光の最小単位となる複数の受光部を有しており、
前記コントローラは、前記複数の受光部の各々の位置に基づいて前記実際の入光位置を検出する
請求項1に記載の距離測定装置。
【請求項4】
前記コントローラは、前記偏光器に設定した前記回転角のうち重複しない2つの角度範囲に含まれる前記回転角に対して想定される前記基準入光位置と、当該2つの角度範囲に含まれる前記回転角に対して得られた前記実際の入光位置との前記差分に基づいて前記偏光器のずれを検出する、
請求項1に記載の距離測定装置。
【請求項5】
前記2つの角度範囲の各々の一部を通常動作時の測定範囲の外側に該当する角度とし、
当該測定範囲外に該当する角度の前記回転角に設定された前記偏光器によって偏向された前記レーザ光を前記測定範囲の内側へ折り返すように反射する固定ミラーを更に含む、
請求項4に記載の距離測定装置。
発明の詳細な説明
【技術分野】
【0001】
本開示は、距離測定装置に関する。
続きを表示(約 2,700 文字)
【背景技術】
【0002】
レーザ光を照射し、それによる反射光を検出することにより物体検出を行う装置が知られている。例えば、特開2017-72532号(特許文献1)には、レーザ光を投光する投光部と、複数の受光素子が配置された受光素子アレイと、前記受光素子アレイに対して集光する集光レンズと、前記受光素子アレイの1以上の前記受光素子の出力を検出する検出部と、前記レーザ光の投光角度に対応する対象物からの反射光の前記集光レンズに対する入射角度に応じて、前記投光角度が大きくなった場合の前記受光素子アレイにおける前記レーザ光の照射範囲の歪みを考慮して、前記検出部に出力させる前記受光素子を選択する選択部と、を備えることを特徴とする距離測定装置が記載されている。
【0003】
上記のような距離測定装置では、偏向器を用いてレーザ光を空間内に走査するが、その際、使用環境(温度、気圧等)や経年劣化などにより、偏向角へ指示を与えた駆動角と実際の駆動角との間に差異を生じる場合がある。このような差異は測距性能を低下させる原因となる。
【0004】
このような課題に関して、例えば特開2016-31236号公報(特許文献2)には、レーザ光が通る位置にレーザ光を反射する複数のマーカが並べられているウィンドウを配置し、測距によって得られる距離強度画像から複数のマーカの距離値と位置座標を取得し、それらに基づいてスキャナ(偏光器)の設置位置及び設置角度を特定することで、スキャナの較正を行えるようにした、レーザレーダ装置が記載されている。しかし、このレーザレーダ装置では、レーザ光の経路上に複数のマーカを設けることから、マーカによってレーザ光が遮られる箇所が生じるので死角あるいは測距性能の低い方向を生じ、それにより測距性能の低下を招くという点で改良の余地があると考えられる。
【先行技術文献】
【特許文献】
【0005】
特開2017-72532号
特開2016-31236号公報
【発明の概要】
【発明が解決しようとする課題】
【0006】
本開示に係る具体的態様は、レーザ光を用いた距離測定装置において、簡素な構成で測距性能の低下を抑制し、測距範囲を適正に維持することを可能とする技術を提供することを目的の1つとする。
【課題を解決するための手段】
【0007】
本開示に係る一態様の距離測定装置は、
物体との間の距離を測定するための装置であって、
レーザ光を放出する光源と、
前記光源から放出されるレーザ光を偏向する偏向器と、
前記偏向器によって偏向された前記レーザ光が前記物体に照射されることによって生じる反射光を受光する受光センサと、
前記光源及び前記偏向器の動作を制御するとともに、前記受光センサによって受光される前記反射光に基づいて前記物体との間の距離を測定するコントローラと、
を含み、
前記コントローラは、前記偏向器に設定した回転角に対して想定される前記レーザ光の前記受光センサの受光面上での基準入光位置と、前記設定した回転角にて実際に前記偏光器を動作させて前記レーザ光を偏向させたことによって生じた前記反射光に基づいて求められる前記レーザ光の前記受光センサでの実際の入光位置との差分に基づいて前記偏向器の制御ずれを検出する、
距離測定装置である。
【0008】
上記構成によれば、レーザ光を用いた距離測定装置において、簡素な構成で測距性能の低下を抑制し、測距範囲を適正に維持することが可能となる。
【図面の簡単な説明】
【0009】
図1は、一実施形態の距離測定装置の構成を示す図である。
図2は、光源部及び受光部の配置例並びに受光視野を説明するための図である。
図3は、予め定められるMEMSミラーの回転角について説明するための図である。
図4は、回転角の設定内容を説明するための図である。
図5は、偏向角度のずれの検出と、その検出結果に基づく駆動角の補正を行う際の処理内容を示すフローチャートである。
図6は、MEMSミラー、レンズ及び受光センサの座標系を示す図である。
図7は、受光センサの複数の受光部について説明するための図である。
図8は、上記した図5におけるステップS6の詳細な処理内容を説明するためのフローチャートである。
図9は、理想状態における射出光の飛行経路並びにV軸方向に回転角がずれている場合の射出光の飛行経路を模式的に示す図である。
図10は、図9に例示した飛行経路の射出光における飛行距離Dと反射光を受光する受光センサの位置の関係を示す図である。
図11は、理想状態における射出光の飛行経路並びにH軸方向に回転角がずれている場合の射出光の飛行経路を模式的に示す図である。
図12は、図10に例示した飛行経路の射出光における飛行距離Dと反射光を受光する受光センサの位置の関係を示す図である。
図13(A)は、比較例としての第1実施形態での測定範囲を説明するための図であり、図13(B)は、第2実施形態の測定範囲を説明するための図である。
図14(A)は、比較例としての第1実施形態での測定範囲を説明するための図であり、図14(B)は、第2実施形態の測定範囲を説明するための図である。
図15は、射出光の遷移を説明するための図である。
図16は、飛行距離と受光センサの受光位置との関係を例示する図である。
図17は、第3実施形態における詳細な処理内容を説明するためのフローチャートである。
図18は、第4実施形態における詳細な処理内容を説明するためのフローチャートである。
【発明を実施するための形態】
【0010】
(第1実施形態)
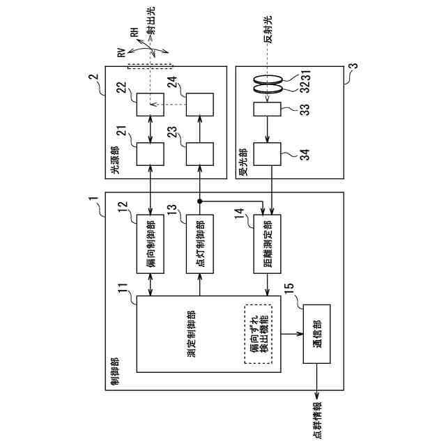
図1は、第1実施形態の距離測定装置の構成を示す図である。本実施形態の距離測定装置(物体検出装置)は、レーザ光である射出光を用いて対象空間へ光走査を行って反射光を受光し、当該反射光を用いて対象空間に存在する物体の位置や相対距離などを検出するためのものであり、制御部(コントローラ)1、光源部2、受光部3を含んで構成されている。
(【0011】以降は省略されています)
この特許をJ-PlatPat(特許庁公式サイト)で参照する
関連特許
日本精機株式会社
検出装置
17日前
個人
採尿及び採便具
23日前
個人
アクセサリー型テスター
1か月前
個人
計量機能付き容器
12日前
個人
高精度同時多点測定装置
1か月前
株式会社カクマル
境界杭
2日前
株式会社ミツトヨ
測定器
29日前
甲神電機株式会社
電流検出装置
17日前
アズビル株式会社
電磁流量計
1か月前
大成建設株式会社
風洞実験装置
12日前
個人
計量具及び計量機能付き容器
12日前
愛知電機株式会社
軸部材の外観検査装置
26日前
個人
システム、装置及び実験方法
1か月前
ローム株式会社
半導体装置
1か月前
愛知時計電機株式会社
ガスメータ
29日前
ローム株式会社
半導体装置
1か月前
大和製衡株式会社
組合せ計量装置
26日前
長崎県
形状計測方法
1か月前
大和製衡株式会社
組合せ計量装置
26日前
双庸電子株式会社
誤配線検査装置
18日前
個人
非接触による電磁パルスの測定方法
15日前
日本特殊陶業株式会社
ガスセンサ
10日前
日本信号株式会社
距離画像センサ
15日前
株式会社不二越
X線測定装置
15日前
キーコム株式会社
画像作成システム
2日前
日本特殊陶業株式会社
センサ
29日前
個人
液位検視及び品質監視システム
10日前
株式会社デンソー
電流センサ
1か月前
日東精工株式会社
振動波形検査装置
18日前
トヨタ自動車株式会社
測定システム
1か月前
アンリツ株式会社
X線検査装置
29日前
株式会社マグネア
磁界検出素子
15日前
株式会社エルメックス
希釈液収容容器
12日前
理研計器株式会社
ガス検知装置
2日前
株式会社電巧社
試験装置及び試験方法
18日前
株式会社不二越
X線測定システム
1か月前
続きを見る
他の特許を見る