TOP
|
特許
|
意匠
|
商標
特許ウォッチ
Twitter
他の特許を見る
10個以上の画像は省略されています。
公開番号
2025165843
公報種別
公開特許公報(A)
公開日
2025-11-05
出願番号
2024079764
出願日
2024-04-23
発明の名称
電流検出装置
出願人
甲神電機株式会社
代理人
主分類
G01R
15/20 20060101AFI20251028BHJP(測定;試験)
要約
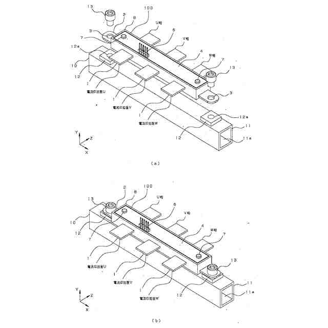
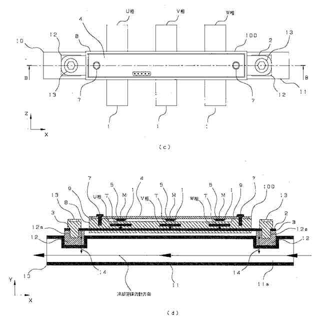
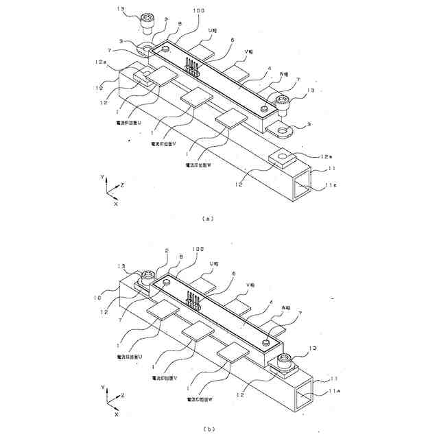
【課題】導体に被検出電流を印加した際に生じる発熱を冷却することで、高精度な電流検出が可能な電流検出装置を提供する。
【解決手段】筐体8を貫通する姿勢で固定されZ方向に延伸する導体1に対し、同じく筐体8に固定され締結部3を有する冷却板2を、締結部3を筐体に重ならない位置でX方向に延伸するように配置し、締結部3を冷却器10へと固定および接続する。
【選択図】図2-1
特許請求の範囲
【請求項1】
冷却器に接続および固定され、被検出電流が印加されることで生じる発熱が前記冷却器により冷却される電流検出装置であって、
前記被検出電流が印加される矩形形状の1次導体と、
前記被検出電流を検出する検出手段を有する検出部と
前記1次導体に前記検出電流が印加された際の発熱を伝熱させ、少なくとも1つ以上の前記冷却器に接続するための締結部を有する冷却板と、
前記1次導体と、前記検出部と、前記冷却板が固定される筐体と、を具備し、
前記1次導体は、前記筐体の内部を貫通して延伸して前記筐体に固定されており、
前記冷却板は、前記1次導体の延伸方向の下面側にあり、前記1次導体の延伸方向に直交する方向に延伸して、前記締結部が前記筐体と重ならない配置で、前記筐体に固定されている電流検出装置。
続きを表示(約 1,300 文字)
【請求項2】
前記検出手段は、前記1次導体に前記被検出電流が印加される際に生じる磁束を検出する手段で、
前記冷却板は非磁性材料で形成されており、
前記検出部は、前記被検出電流が印加された際に生じる磁束を検出する少なくとも1つ以上の磁電変換素子を有する磁気センサと、検出した磁束に応じて出力される出力信号を外部へと出力するためのアナログ回路と出力端子と、を具備し、
前記磁気センサは、前記磁電変換素子が前記1次導体に印加される前記1次導体の延伸方向の上面側、もしくは下面側にあるように配置されることを特徴とする請求項1に記載の電流検出装置。
【請求項3】
前記検出手段は、前記1次導体に前記被検出電流が印加される際の、前記1次導体の電圧降下を検出する手段であり、
前記検出部は前記1次導体の、任意の2点間の電圧降下値を検出する電圧検出器を備えることを特徴とする請求項1に記載の電流検出装置。
【請求項4】
前記磁電変換素子の数量は1つで、
前記磁電変換素子の感磁軸方向が、前記冷却板の延伸方向であることを特徴とする請求項2に記載の電流検出装置。
【請求項5】
前記磁電変換素子の数量は2つで、2つの前記磁電変換素子は、前記1次導体の延伸方向の上面側もしくは下面側に、前記冷却板の延伸方向に離間して並設され、
前記磁電変換素子の感磁軸方向が、前記1次導体の延伸方向と前記冷却板の延伸方向に直交する方向であることを特徴とする請求項2に記載の電流検出装置。
【請求項6】
前記1次導体は貫通スリットを有し、
前記磁電変換素子の数量は2つで、
前記磁気センサは、2つの前記磁電変換素子が前記1次導体の前記貫通スリットを挟んで、前記1次導体の延伸方向の上面側と下面側にそれぞれ1つずつ対向する姿勢で配置され、
前記磁電変換素子の感磁軸方向が、前記冷却板の延伸方向であることを特徴とする請求項2に記載の電流検出装置。
【請求項7】
前記1次導体は、前記貫通スリットにて、少なくとも1回以上屈曲する形状を有することを特徴とする請求項6に記載の電流検出装置。
【請求項8】
前記検出部は、略C字形状により形成された第1の空隙部と、コアギャップを有する磁性体コアを有し、
前記磁性体コアは、前記第1の空隙部に前記1次導体が貫通する姿勢で配置され、また前記磁電変換素子が前記コアギャップ内にあるように前記磁気センサが配置されることを特徴とする請求項4に記載の電流検出装置。
【請求項9】
前記検出部は、略U字形状により形成された第2の空隙部を有する磁性体コアを有し、
前記磁性体コアは、前記第2の空隙部に前記1次導体が貫通する姿勢で配置され、
前記磁電変換素子が、前記第2の空隙部にあるように前記磁気センサが配置されることを特徴とする請求項4に記載の電流検出装置。
【請求項10】
前記電圧検出器が電圧を検出する、前記1次導体の前記任意の2点間に、異なる抵抗値を有することを特徴とする請求項3に記載の電流検出装置。
(【請求項11】以降は省略されています)
発明の詳細な説明
【技術分野】
【0001】
本発明は、電流検出装置に関する。
続きを表示(約 1,200 文字)
【背景技術】
【0002】
近年、電気自動車およびハイブリッド車の普及が進んでおり、これらの車両のモータの制御を行う為、モータを流れる電流を正確に検出することが重要であり、その電流を検出するために、ホール素子や磁気抵抗効果素子などの検出素子を備えた電流センサなどの電流検出装置が用いられている。
【0003】
しかしながら近年、インバータに使用されるパワー半導体として、高耐圧かつ低スイッチング損失のSiCが使用されており、それに伴い、モータを流れる電流が大電流化される傾向となっている。モータを流れる電流が大電流化されると、電流が流れる1次導体が大きく発熱することから、その電流を検出する電流センサも1次導体の発熱の影響を受け、検出素子が配置される箇所が高温化してしまう。
【0004】
特に近年では、電流センサに小型化、低背化が求められていることから、1次導体を流れる電流から生じる磁束を、検出素子が直接検出する、磁性体のコアを有さないコアレス電流センサが使用されているが、磁性体のコアがないため、検出素子が検出する磁束密度量が小さくなってしまうことから、その検出する磁束密度量を大きくするため、1次導体の断面積を小さくする手段や、1次導体の近くに検出素子を配置する手段がとられているが、1次導体の発熱量が大きくなる、もしくは発熱の影響を受けやすい位置に配置されることとなる。
【0005】
検出素子は、使用環境下が高温となると、その特性が変化してしてしまうことから、モータを流れる電流の検出精度に影響を及ぼしてしまうため、従来では冷却機能を有する他の部品に1次導体を直接接続することで、1次導体を直接冷却する手法がとられてきた。
【0006】
例えば特許文献1では、冷却機能付きインバータを用い、最大電流が流れる検出相のコアおよび検出素子をインバータ側に配置することで、冷却機能を一様化して、高精度に電流検出が可能な電流センサ構造が提案されている。
【先行技術文献】
【特許文献】
【0007】
特開2018-207726号公報
【発明の概要】
【発明が解決しようとする課題】
【0008】
冷却機能付きインバータに、1次導体が直接接続される構造となっていることから、冷却機能としては最も効率がよいが、電流センサが大型もしくは複雑な構造となると、冷却機能付きインバータから検出素子までの距離が遠くなることがあり、冷却効果が十分ではない場合が生じ、その結果検出素子が発熱の影響を受けてしまい電流検出の精度が悪化してしまうことがある。
【0009】
本発明では上記問題を鑑み、新たな冷却経路を設けることで、従来の冷却方法と異なる冷却方法を有する電流センサ構造を提案するものである。
【0010】
【課題を解決するための手段】
(【0011】以降は省略されています)
この特許をJ-PlatPat(特許庁公式サイト)で参照する
関連特許
甲神電機株式会社
変流器
6か月前
甲神電機株式会社
電流検出装置
20日前
甲神電機株式会社
変流器及び零相変流器
20日前
日本精機株式会社
検出装置
20日前
個人
採尿及び採便具
26日前
個人
アクセサリー型テスター
1か月前
個人
高精度同時多点測定装置
1か月前
個人
計量機能付き容器
15日前
株式会社カクマル
境界杭
5日前
甲神電機株式会社
電流検出装置
20日前
株式会社ミツトヨ
測定器
1か月前
アズビル株式会社
電磁流量計
1か月前
トヨタ自動車株式会社
監視装置
1か月前
大成建設株式会社
風洞実験装置
15日前
株式会社ヨコオ
ソケット
1か月前
株式会社ヨコオ
ソケット
1か月前
ダイキン工業株式会社
監視装置
1か月前
愛知時計電機株式会社
ガスメータ
1か月前
日本特殊陶業株式会社
ガスセンサ
13日前
大和製衡株式会社
組合せ計量装置
29日前
個人
システム、装置及び実験方法
1か月前
大和製衡株式会社
組合せ計量装置
29日前
ローム株式会社
半導体装置
1か月前
ローム株式会社
半導体装置
1か月前
愛知電機株式会社
軸部材の外観検査装置
29日前
長崎県
形状計測方法
1か月前
個人
非接触による電磁パルスの測定方法
18日前
個人
計量具及び計量機能付き容器
15日前
日本信号株式会社
距離画像センサ
18日前
双庸電子株式会社
誤配線検査装置
21日前
TDK株式会社
磁気センサ
1か月前
日本特殊陶業株式会社
センサ
1か月前
日本特殊陶業株式会社
センサ
1か月前
株式会社デンソー
電流センサ
1か月前
トヨタ自動車株式会社
測定システム
1か月前
株式会社不二越
X線測定装置
18日前
続きを見る
他の特許を見る