TOP
|
特許
|
意匠
|
商標
特許ウォッチ
Twitter
他の特許を見る
公開番号
2025158023
公報種別
公開特許公報(A)
公開日
2025-10-16
出願番号
2024060446
出願日
2024-04-03
発明の名称
電流センサ
出願人
株式会社デンソー
代理人
個人
,
個人
主分類
G01R
15/20 20060101AFI20251008BHJP(測定;試験)
要約
【課題】熱応力を低減しつつバスバーの位置精度を高めることができる電流センサを提供すること
【解決手段】電流センサは、バスバー20、バスバーを保持する樹脂部材30、樹脂部材30に対して位置決めされ、バスバー20に流れる電流を検出する磁電変換素子を備える。樹脂部材30は、貫通孔31を有している。バスバー20は、貫通孔31を挿通している。バスバー20は、貫通孔31内に配置される部分として、電流が流れる本体部23と、本体部23に連なり、樹脂部材30における貫通孔31の壁面33に接触してバスバー20の板幅方向にばね変形する少なくともひとつのばね構造部24を有する。バスバー20は、樹脂部材30に圧入固定されている。
【選択図】図4
特許請求の範囲
【請求項1】
バスバー(20)と、
前記バスバーを保持する樹脂部材(30)と、
前記樹脂部材に対して位置決めされ、前記バスバーに流れる電流を検出する磁電変換素子(40)と、
を備え、
前記樹脂部材は、貫通孔(31)を有し、
前記バスバーは、前記貫通孔を挿通し、
前記バスバーは、前記貫通孔内に配置される部分として、前記電流が流れる本体部(23)と、前記本体部に連なり、前記樹脂部材における前記貫通孔の壁面に接触して前記バスバーの板幅方向にばね変形する少なくともひとつのばね構造部(24)と、を有し、前記樹脂部材に圧入固定されている、電流センサ。
続きを表示(約 710 文字)
【請求項2】
前記バスバーは、前記ばね構造部を複数有する、請求項1に記載の電流センサ。
【請求項3】
前記ばね構造部は、前記板幅方向において両端位置にそれぞれ設けられている、請求項2に記載の電流センサ。
【請求項4】
前記ばね構造部は、前記貫通孔の延設方向において離間して設けられている、請求項2に記載の電流センサ。
【請求項5】
前記ばね構造部において、前記本体部との境界から所定位置までの根元部(241)の幅は、前記根元部に連なる先端部(242)の幅よりも狭い、請求項1~4いずれか1項に記載の電流センサ。
【請求項6】
前記バスバーは、前記本体部と前記ばね構造部とを区画する切り欠き(25)を有する、請求項1~4いずれか1項に記載の電流センサ。
【請求項7】
前記バスバーは、前記本体部に連なって前記本体部とともに電流経路を構成し、前記貫通孔の外において金属部材が溶接される溶接部(21)を有する、請求項6に記載の電流センサ。
【請求項8】
前記樹脂部材は、前記貫通孔の壁面において突出し、前記バスバーに接触する突起部(34)を有する、請求項1~4いずれか1項に記載の電流センサ。
【請求項9】
前記突起部は、前記ばね構造部において前記バスバーの側面に接触する側面突起部(342)を含む、請求項8に記載の電流センサ。
【請求項10】
前記突起部は、前記バスバーの板面に接触する板面突起部(341)を含む、請求項8に記載の電流センサ。
(【請求項11】以降は省略されています)
発明の詳細な説明
【技術分野】
【0001】
この明細書における開示は、電流センサに関する。
続きを表示(約 1,800 文字)
【背景技術】
【0002】
特許文献1は、電流センサを開示している。先行技術文献の記載内容は、この明細書における技術的要素の説明として、参照により援用される。
【先行技術文献】
【特許文献】
【0003】
特開2006-194650号公報
【発明の概要】
【発明が解決しようとする課題】
【0004】
特許文献1では、バスバーが、インサート部品として、樹脂ケースに一体成形されている。バスバーが樹脂によって覆われているため、バスバーとケースの線膨張係数差による熱応力が大きい。熱応力は、たとえばケースの樹脂割れ、バスバーの位置ずれなどを引き起こす虞がある。これに対し、樹脂製のケースに貫通孔を設け、バスバーを貫通孔に通す構成が考えられる。しかしながら、ケース、ひいてはケースに対して位置決めされた磁束密度検出素子に対して、バスバーの位置ずれが生じやすい。位置ずれは、たとえば電流検出精度の低下、バスバーと他部材との接続性の低下など引き起こす虞がある。上記した観点において、または言及されていない他の観点において、電流センサにはさらなる改良が求められている。
【0005】
開示されるひとつの目的は、熱応力を低減しつつバスバーの位置精度を高めることができる電流センサを提供することにある。
【課題を解決するための手段】
【0006】
開示のひとつの態様は、
バスバー(20)と、
バスバーを保持する樹脂部材(30)と、
樹脂部材に対して位置決めされ、バスバーに流れる電流を検出する磁電変換素子(40)と、
を備え、
樹脂部材は、貫通孔(31)を有し、
バスバーは、貫通孔を挿通し、
バスバーは、貫通孔内に配置される部分として、電流が流れる本体部(23)と、本体部に連なり、樹脂部材における貫通孔の壁面に接触してバスバーの板幅方向にばね変形する少なくともひとつのばね構造部(24)と、を有し、樹脂部材に圧入固定されている。
【0007】
開示の電流センサによれば、樹脂部材の貫通孔をバスバーが挿通する構成であるため、熱応力を低減することができる。さらに、バスバーがばね構造部を有しているため、樹脂部材、ひいては磁電変換素子に対してバスバーの位置精度を高めることができる。この結果、熱応力を低減しつつバスバーの位置精度を高めることができる電流センサを提供することができる。
【0008】
この明細書における開示された複数の態様は、それぞれの目的を達成するために、互いに異なる技術的手段を採用する。請求の範囲に記載した括弧内の符号は、後述する実施形態の部分との対応関係を例示的に示すものであって、技術的範囲を限定することを意図するものではない。この明細書に開示される目的、特徴、および効果は、後続の詳細な説明、および添付の図面を参照することによってより明確になる。
【図面の簡単な説明】
【0009】
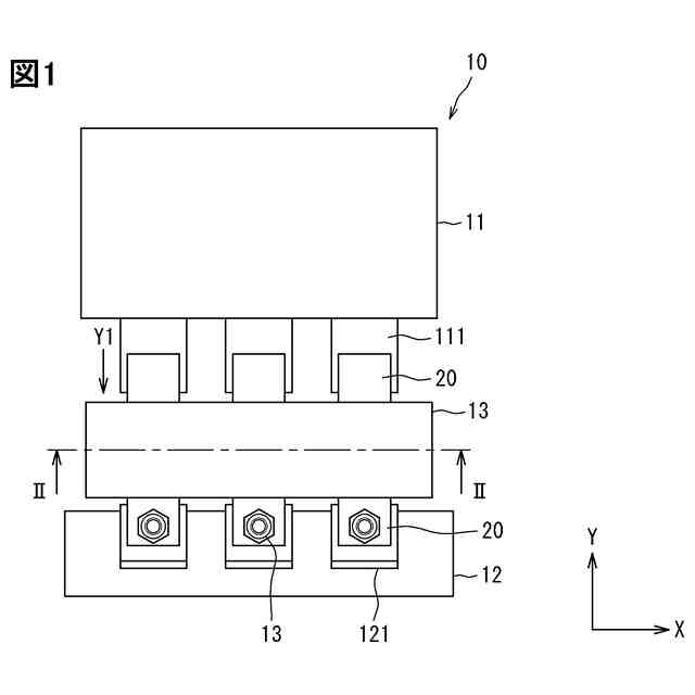
第1実施形態に係る電流センサを備えた電力変換装置の一例を示す図である。
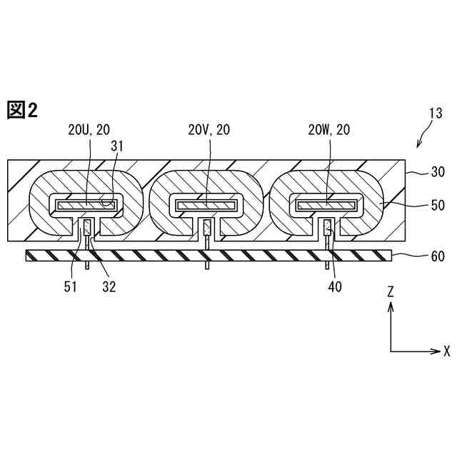
電流センサを示す、図1のII-II線に沿う断面図である。
図1のY1方向から見た平面図である。
図3のIV-IV線に沿う断面図である。
第2実施形態に係る電流センサを示す断面図である。
第3実施形態に係る電流センサを示す断面図である。
第4実施形態に係る電流センサを示す断面図である。
第5実施形態に係る電流センサを示す断面図である。
【発明を実施するための形態】
【0010】
以下、図面に基づいて複数の実施形態を説明する。なお、各実施形態において対応する構成要素には同一の符号を付すことにより、重複する説明を省略する場合がある。各実施形態において構成の一部分のみを説明している場合、当該構成の他の部分については、先行して説明した他の実施形態の構成を適用することができる。また、各実施形態の説明において明示している構成の組み合わせばかりではなく、特に組み合わせに支障が生じなければ、明示していなくても複数の実施形態の構成同士を部分的に組み合せることができる。
(【0011】以降は省略されています)
この特許をJ-PlatPat(特許庁公式サイト)で参照する
関連特許
株式会社デンソー
ロータ
6日前
株式会社デンソー
ロータ
6日前
株式会社デンソー
電動機
11日前
株式会社デンソー
回転電機
4日前
株式会社デンソー
光学部材
11日前
株式会社デンソー
整流回路
4日前
株式会社デンソー
電子装置
11日前
株式会社デンソー
レーダ装置
5日前
株式会社デンソーエレクトロニクス
電磁継電器
5日前
株式会社デンソー
音低減装置
4日前
株式会社デンソー
電磁継電器
11日前
株式会社デンソー
電子制御装置
4日前
株式会社デンソー
衝突判定装置
今日
株式会社デンソー
電磁弁駆動装置
11日前
株式会社デンソー
冷凍サイクル装置
4日前
株式会社デンソーウェーブ
投入品管理用装置
4日前
株式会社デンソー
セル制御システム
4日前
株式会社デンソー
ロータ及びコンプレッサ
6日前
株式会社デンソー
車両制御装置、車両制御方法
4日前
株式会社デンソー
スイッチトキャパシタ電源回路
11日前
株式会社デンソー
車両制御方法、車両制御システム
11日前
株式会社デンソーテン
貼り合わせ装置および貼り合わせ方法
11日前
株式会社デンソー
電力変換モジュール及び電力変換装置
5日前
株式会社デンソーテン
画像処理装置および画像処理プログラム
5日前
株式会社デンソーテン
通知装置、情報処理装置およびプログラム
4日前
株式会社デンソー
通信システム、トラフィック情報の収集方法
5日前
株式会社豊田中央研究所
二酸化炭素回収システム
今日
株式会社デンソーテン
検知装置、検知方法、プログラム及び検知システム
11日前
トヨタ自動車株式会社
降車支援装置及びプログラム
4日前
株式会社デンソー
電界効果トランジスタ
6日前
株式会社デンソーテン
画像処理装置、情報処理システム、情報処理方法、および、プログラム
4日前
株式会社デンソー
ログ管理装置、ログ管理方法、ログ管理プログラム、及びログ管理システム
11日前
株式会社デンソー
レーダシステム、レーダ制御装置、レーダ制御方法、レーダ制御プログラム
5日前
株式会社デンソーテン
感情推定装置、感情推定方法、感情推定プログラムおよび感情推定システム
11日前
トヨタ自動車株式会社
牽引バー推定装置、牽引バー推定方法及びプログラム
4日前
株式会社デンソー
情報処理装置、情報処理方法、プログラム、及び、コンピュータ読み取り可能な記録媒体
11日前
続きを見る
他の特許を見る