TOP
|
特許
|
意匠
|
商標
特許ウォッチ
Twitter
他の特許を見る
公開番号
2025158581
公報種別
公開特許公報(A)
公開日
2025-10-17
出願番号
2024061263
出願日
2024-04-05
発明の名称
光導波路部品
出願人
新光電気工業株式会社
代理人
個人
,
個人
主分類
G02B
6/30 20060101AFI20251009BHJP(光学)
要約
【課題】光導波路と光ファイバとの間に高い結合効率を得ることができる光導波路部品を提供する。
【解決手段】光導波路部品は、第1主面を有する基板と、前記第1主面に設けられ、第1コアを含む光導波路と、前記第1主面に固定された第1光コネクタと、を有し、前記第1光コネクタは、前記第1コアの第1光軸上に設けられた第1鏡を有し、前記第1鏡は、前記第1光軸から傾斜した第2光軸を備え、前記第1コアから入射してきた光をコリメート光にして反射できる。
【選択図】図3
特許請求の範囲
【請求項1】
第1主面を有する基板と、
前記第1主面に設けられ、第1コアを含む光導波路と、
前記第1主面に固定された第1光コネクタと、
を有し、
前記第1光コネクタは、前記第1コアの第1光軸上に設けられた第1鏡を有し、
前記第1鏡は、前記第1光軸から傾斜した第2光軸を備え、前記第1コアから入射してきた光をコリメート光にして反射できる、光導波路部品。
続きを表示(約 610 文字)
【請求項2】
前記第1鏡は凹面鏡である、請求項1に記載の光導波路部品。
【請求項3】
前記光導波路はポリマー導波路である、請求項1又は2に記載の光導波路部品。
【請求項4】
前記第1光軸は前記第1主面に平行であり、
前記第2光軸は前記第1光軸から45度傾斜している、請求項1又は2に記載の光導波路部品。
【請求項5】
第2鏡を含み、前記第1光コネクタに着脱可能な第2光コネクタを有し、
前記第1鏡と前記第2鏡との間でコリメート光の信号が伝送される、請求項1又は2に記載の光導波路部品。
【請求項6】
前記第2光コネクタは、光ファイバの第2コアを備え、
前記第2鏡は、前記第2コアの第3光軸上に設けられ、前記第3光軸から傾斜した第4光軸を備え、前記第2コアから入射してきた光をコリメート光にして反射できる、請求項5に記載の光導波路部品。
【請求項7】
前記第2鏡は凹面鏡である、請求項5に記載の光導波路部品。
【請求項8】
前記第1主面に平行な方向で前記第1光コネクタと前記第2光コネクタとを互いに拘束する拘束機構を有する、請求項5に記載の光導波路部品。
【請求項9】
前記基板に実装され、前記光導波路に光学的に結合された光半導体チップを有する、請求項1又は2に記載の光導波路部品。
発明の詳細な説明
【技術分野】
【0001】
本開示は、光導波路部品に関する。
続きを表示(約 1,000 文字)
【背景技術】
【0002】
基板上に設けられた光導波路に光ファイバを光学的に結合するための種々の技術が提案されている。
【先行技術文献】
【特許文献】
【0003】
特開2011-081299号公報
特開2015-114645号公報
【非特許文献】
【0004】
A. Norikiら、「Low-Cost MT-Ferrule-Compatible Optical Connector for Co-packaged Optics Using Single-Mode Polymer Waveguide」、Electronic Components and Technology Conference、1 May 2019
【発明の概要】
【発明が解決しようとする課題】
【0005】
従来の技術では、光導波路と光ファイバとの間に高い結合効率を得ることが困難である。
【0006】
本開示は、光導波路と光ファイバとの間に高い結合効率を得ることができる光導波路部品を提供することを目的とする。
【課題を解決するための手段】
【0007】
本開示の一形態によれば、第1主面を有する基板と、前記第1主面に設けられ、第1コアを含む光導波路と、前記第1主面に固定された第1光コネクタと、を有し、前記第1光コネクタは、前記第1コアの第1光軸上に設けられた第1鏡を有し、前記第1鏡は、前記第1光軸から傾斜した第2光軸を備え、前記第1コアから入射してきた光をコリメート光にして反射できる、光導波路部品が提供される。
【発明の効果】
【0008】
本開示によれば、光導波路と光ファイバとの間に高い結合効率を得ることができる。
【図面の簡単な説明】
【0009】
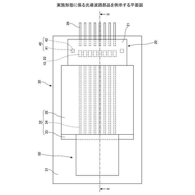
実施形態に係る光導波路部品を例示する平面図である。
実施形態に係る光導波路部品を例示する断面図(その1)である。
実施形態に係る光導波路部品を例示する断面図(その2)である。
【発明を実施するための形態】
【0010】
以下、本開示の実施形態について添付の図面を参照しながら具体的に説明する。なお、本明細書及び図面において、実質的に同一の機能構成を有する構成要素については、同一の符号を付することにより重複した説明を省くことがある。
(【0011】以降は省略されています)
この特許をJ-PlatPat(特許庁公式サイト)で参照する
関連特許
アイカ工業株式会社
反射防止フィルム
4日前
キヤノン株式会社
表示装置
9日前
キヤノン株式会社
表示装置
2日前
京セラ株式会社
アイソレータ
9日前
古河電気工業株式会社
光ファイバケーブル
2日前
住友化学株式会社
複合偏光板
2日前
古河電気工業株式会社
光ファイバケーブル
2日前
株式会社タムロン
ズームレンズ及び撮像装置
2日前
住友ベークライト株式会社
光学部品の製造方法
2日前
古河電気工業株式会社
融着機、ピッチ変換部材
2日前
日東電工株式会社
光学積層体
2日前
日東電工株式会社
光学積層体
2日前
日東電工株式会社
光学積層体
2日前
吉祥園株式会社
近くの物体を遠くに鏡像させて見る光学器具
3日前
個人
双眼ルーペ
4日前
東芝テック株式会社
光学装置
2日前
キヤノン株式会社
走査光学装置及び画像形成装置
9日前
TOPPANホールディングス株式会社
調光装置
9日前
キヤノン株式会社
表示光学系および表示装置
2日前
キヤノン株式会社
表示光学系および表示装置
2日前
TOPPANホールディングス株式会社
調光シート
2日前
TOPPANホールディングス株式会社
調光シート
10日前
キヤノン株式会社
ズームレンズおよび撮像装置
9日前
日本精機株式会社
車両用表示装置
2日前
キヤノン株式会社
導光素子および画像表示装置
3日前
キヤノン株式会社
レンズ駆動装置および光学機器
9日前
キヤノン株式会社
レンズ装置及び撮像装置
3日前
パナソニックIPマネジメント株式会社
撮像装置
10日前
京セラSOC株式会社
半導体レーザ励起固体レーザ
9日前
国立大学法人京都大学
二光子吸収材料
3日前
デクセリアルズ株式会社
光学積層体及び物品
3日前
キヤノン株式会社
ズームレンズ及び撮像装置
9日前
京セラSOC株式会社
半導体レーザ励起固体レーザ
9日前
キヤノン株式会社
ズームレンズ及び撮像装置
4日前
株式会社ジャパンディスプレイ
液晶素子
2日前
東芝テック株式会社
レンズミラーアレイ
2日前
続きを見る
他の特許を見る