TOP
|
特許
|
意匠
|
商標
特許ウォッチ
Twitter
他の特許を見る
10個以上の画像は省略されています。
公開番号
2025163723
公報種別
公開特許公報(A)
公開日
2025-10-30
出願番号
2024067193
出願日
2024-04-18
発明の名称
ズームレンズ及び撮像装置
出願人
株式会社タムロン
代理人
個人
主分類
G02B
15/20 20060101AFI20251023BHJP(光学)
要約
【課題】大口径比でありながらズームレンズ全体の小型化を可能とし、ズーム全領域において諸収差が良好に補正されたズームレンズ及び当該ズームレンズを備えた撮像装置を提供することを目的とする。
【解決手段】この目的を達成するため、物体側から順に、正の屈折力を有する第1レンズ群と、負の屈折力を有する第2レンズ群と、1つ以上のレンズ群を含み全体として正の屈折力を有する中間群と、負の屈折力を有する第n-1レンズ群と、第nレンズ群とから構成され、広角端から望遠端への変倍に際して隣り合うレンズ群の間隔が変化し、広角端から望遠端への変倍に際して少なくとも前記第1レンズ群は光軸方向に移動し、所定の条件式を満足することを特徴とするズームレンズを採用した。
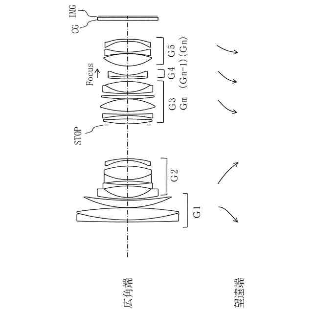
【選択図】図1
特許請求の範囲
【請求項1】
物体側から順に、正の屈折力を有する第1レンズ群と、負の屈折力を有する第2レンズ群と、1つ以上のレンズ群を含み全体として正の屈折力を有する中間群と、負の屈折力を有する第n-1レンズ群と、第nレンズ群とから構成され、
広角端から望遠端への変倍に際して隣り合うレンズ群の間隔が変化し、
広角端から望遠端への変倍に際して前記第1レンズ群と前記第nレンズ群は光軸方向に移動し、
以下の条件式を満足することを特徴とするズームレンズ。
-1.00 ≦ βmt ≦ -0.30 ・・・(1)
1.20 ≦ β2t/β2w ≦ 1.90 ・・・(2)
-0.31 ≦ xn/(fw×ft)
1/2
< 0.00 ・・・(3)
但し、
βmt:望遠端の無限遠合焦時における前記中間群の横倍率
β2t:望遠端の無限遠合焦時における前記第2レンズ群の横倍率
β2w:広角端の無限遠合焦時における前記第2レンズ群の横倍率
xn:広角端から望遠端への変倍における前記第nレンズ群の広角端の位置と前記第nレンズ群の望遠端の位置との差分の移動量であって、物体側への移動の符号を負とし像側への移動の符号を正とする
fw:広角端における当該ズームレンズ全系の焦点距離
ft:望遠端における当該ズームレンズ全系の焦点距離
続きを表示(約 2,000 文字)
【請求項2】
物体側から順に、正の屈折力を有する第1レンズ群と、負の屈折力を有する第2レンズ群と、1つ以上のレンズ群を含み全体として正の屈折力を有する中間群と、負の屈折力を有する第n-1レンズ群と、第nレンズ群とから構成され、
広角端から望遠端への変倍に際して隣り合うレンズ群の間隔が変化し、
広角端から望遠端への変倍に際して前記第1レンズ群は光軸方向に移動し、
以下の条件式を満足することを特徴とするズームレンズ。
-0.74 ≦ βmt ≦ -0.30 ・・・(1)’
1.20 ≦ β2t/β2w ≦ 2.10 ・・・(2)’
0.55 ≦ bfw/Y’ ≦ 0.97 ・・・(4)
但し、
βmt:望遠端の無限遠合焦時における前記中間群の横倍率
β2t:望遠端の無限遠合焦時における前記第2レンズ群の横倍率
β2w:広角端の無限遠合焦時における前記第2レンズ群の横倍率
bfw:広角端におけるバックフォーカスであって、最も像側のレンズの像側面から像面までの光軸上の距離であり、カバーガラス厚を空気換算したときの値
Y’:当該ズームレンズの最大像高
【請求項3】
物体側から順に、正の屈折力を有する第1レンズ群と、負の屈折力を有する第2レンズ群と、1つ以上のレンズ群を含み全体として正の屈折力を有する中間群と、負の屈折力を有する第n-1レンズ群と、第nレンズ群とから構成され、
広角端から望遠端への変倍に際して隣り合うレンズ群の間隔が変化し、
広角端から望遠端への変倍に際して前記第1レンズ群は光軸方向に移動し、
以下の条件式を満足することを特徴とするズームレンズ。
-0.74 ≦ βmt ≦ -0.30 ・・・(1)’
1.20 ≦ β2t/β2w ≦ 2.10 ・・・(2)’
0.80 ≦ fmt/frt ≦ 1.30 ・・・(5)
但し、
βmt:望遠端の無限遠合焦時における前記中間群の横倍率
β2t:望遠端の無限遠合焦時における前記第2レンズ群の横倍率
β2w:広角端の無限遠合焦時における前記第2レンズ群の横倍率
fmt:望遠端における前記中間群の焦点距離
frt:望遠端における前記第2レンズ群より像側に配置される全てのレンズの無限遠合焦時の合成焦点距離
【請求項4】
無限遠物体から有限距離物体への合焦は、前記第n-1レンズ群を光軸方向に移動させることで行う請求項1から請求項3のいずれか一項に記載のズームレンズ。
【請求項5】
以下の条件式を満足する請求項1から請求項3のいずれか一項に記載のズームレンズ。
-1.20 ≦ β2t ≦ -0.30 ・・・(6)
【請求項6】
前記中間群は、
正の屈折力を有するレンズ群から構成される、
または、2つの正の屈折力を有するレンズ群から構成される請求項1から請求項3のいずれか一項に記載のズームレンズ。
【請求項7】
以下の条件式を満足する請求項1から請求項3いずれか一項に記載のズームレンズ。
1.05 ≦ βmt/βmw ≦ 1.80 ・・・(7)
但し、
βmw:広角端の無限遠合焦時における前記中間群の横倍率
【請求項8】
以下の条件式を満足する請求項1から請求項3のいずれか一項に記載のズームレンズ。
0.15 ≦ fmt/ft ≦ 0.80 ・・・(8)
但し、
fmt:望遠端における前記中間群の焦点距離
ft:望遠端における当該ズームレンズ全系の焦点距離
【請求項9】
以下の条件式を満足する請求項1から請求項3のいずれか一項に記載のズームレンズ。
-1.50 ≦ f2/fw ≦ -0.50 ・・・(9)
但し、
f2:前記第2レンズ群の焦点距離
fw:広角端における当該ズームレンズ全系の焦点距離
【請求項10】
以下の条件式を満足する請求項1から請求項3のいずれか一項に記載のズームレンズ。
-8.0 ≦ f1/f2 ≦ -2.0 ・・・(10)
但し、
f1:前記第1レンズ群の焦点距離
f2:前記第2レンズ群の焦点距離
(【請求項11】以降は省略されています)
発明の詳細な説明
【技術分野】
【0001】
本件発明は、ズームレンズ及び撮像装置に関し、特に、デジタルスチルカメラやデジタルビデオカメラ等の固体撮像素子(CCDやCMOS等)を用いた撮像装置に好適なズームレンズ及び当該ズームレンズを備えた撮像装置に関する。
続きを表示(約 2,700 文字)
【背景技術】
【0002】
デジタルスチルカメラやデジタルビデオカメラ等の固体撮像素子を用いた撮像装置が広く普及している。特に一眼レフカメラやミラーレス一眼カメラなどのレンズ交換式撮像装置は、レンズを交換することによって様々な画角や明るさ、被写界深度などで撮影することが可能となっている。そして、この交換用レンズにおいては、近年、より一層の明るさやボケを活かした撮影のために、大口径比のレンズが望まれている。ここで、従来のズームレンズの場合は明るくてもFナンバーが2.8程度であることが多い。それよりも明るいレンズを求める場合は、単焦点レンズを選択せざるを得ないことが多い。しかしながら、単焦点レンズは焦点距離が固定されているため、撮影可能な範囲が限定される、別の焦点距離に変更するためにレンズを交換する手間がかかる、焦点距離の異なる複数のレンズを持ち歩く必要がある、といった不都合がある。これらの問題を解決し、利便性を改善するために大口径比のズームレンズが望まれている。
【0003】
さらに、ミラーや光学式ファインダー等を備えない小型のミラーレス一眼カメラの普及が進んでいることに伴い、カメラ本体だけでなく、レンズも小型であることも望まれている。しかしながら、大口径比のズームレンズを実現しようとした場合、レンズ径や絞り径が大きくなり、ズームレンズの全長も長くなる。更に、駆動機構等も大型化することになるので、鏡筒部分を含むレンズユニット全体が大型化する問題がある。
【0004】
ここで、ズームレンズの小型化を図るには、絞り径や最も物体側のレンズの径及び最も像側のレンズの径の小型化、そしてズームレンズの全長の短縮が必要である。加えて、鏡筒部分を含むレンズユニット全体の小型化を図るには、フォーカスの駆動機構、絞りユニット、各機構部品等を、鏡筒部分を含むレンズユニット全体中で光学系の径が小さい位置に埋め込むように配置することが望まれることから、外径が小さいレンズが配置されている領域を設けることが必要である。更に、フォーカス群の重量が重い場合、大きな駆動力を有する駆動機構が必要になり、鏡筒部分を含むレンズユニット全体の小型化が困難になってしまう。そこで、フォーカス群を小型にすることも必要である。
【0005】
最も物体側に正の屈折力のレンズ群が配置されるポジティブリード型のズームレンズでは、その像側に強い負の屈折力のレンズ群(第2レンズ群)を配置し、大きな変倍作用を持たせていることが多い。この場合、第2レンズ群の像側に配置されるレンズ群は、第2レンズ群の負の屈折力により発散された軸上光束が入射するため、軸上光線高が高くなる。そして、大口径比にした場合は、この軸上光線高が特に高くなるため、レンズ等の大型化が問題となる。このように、大口径比にした場合は、第2レンズ群の像側に配置されるレンズ群は軸上光線高が特に高くなるため、球面収差やコマ収差等の発生量が増え、ズーム全領域で収差を良好に補正することが困難になる。
【0006】
大口径比にした場合は、更に、絞りの大型化も問題になる。絞りの配置については、光学系の物体側や像側に絞りを配置しなければならない特別な事情がある場合を除いて、収差補正の容易性やレンズの大型化防止のため、光学系の中央部付近に配置することが好ましい。そのため、第2レンズ群の像側に隣接して配置されるレンズ群を第3レンズ群とするとき、絞りは第3レンズ群付近や第3レンズ群内に配置することが多く、大口径比にした場合は、絞りの大型化も問題となる。加えて、大口径比にした場合は、最も物体側のレンズの径及び最も像側のレンズの径も大型化し、ズームレンズの全長も長くなってしまう。従って、大口径比でありながらも、ズームレンズの小型化を実現するには、各レンズ群の屈折力、横倍率、変倍負担を適切に設定することが重要になる。
【0007】
ここで、Fナンバーが2.0程度の大口径比なズームレンズで、ポジティブリード型のズームレンズとしては、特許文献1、2などが知られている。特許文献1では、例えば実施例1において、物体側から順に、正の屈折力を有する第1レンズ群、負の屈折力を有する第2レンズ群、正の屈折力を有する第3レンズ群、正の屈折力を有する第4レンズ群から構成され、Fナンバーが2.06の大口径比のズームレンズが提案されている。また、特許文献2では、例えば実施例1において、物体側から順に、正の屈折力を有する第1レンズ群、負の屈折力を有する第2レンズ群、正の屈折力を有する第3レンズ群、正の屈折力を有する第4レンズ群、負の屈折力を有する第5レンズ群から構成され、Fナンバーが2.06の大口径比のズームレンズが提案されている。
【先行技術文献】
【特許文献】
【0008】
特開2019-015956号
特開2016-014841号
【発明の概要】
【発明が解決しようとする課題】
【0009】
しかしながら、特許文献1のズームレンズにおいては、第2レンズ群中の像側のレンズは比較的外径が小さいものの、第3レンズ群から第4レンズ群中の物体側にかけて、軸上光線高が高く、外径が大きいレンズが連続して配置されている。その結果、フォーカスの駆動機構、絞りユニット、各機構部品等を配置するスペースを、鏡筒部分を含むレンズユニット全体中の径が小さい位置に確保することが難しくなるため、鏡筒部分を含むレンズユニット全体が大型化する問題がある。更に、フォーカス群である第2レンズ群は、レンズ枚数が5枚と多く、フォーカス群の重量が重くなるため、大きな駆動力を有する駆動機構が必要となり、鏡筒部分を含むレンズユニット全体が大型化する問題がある。
【0010】
また、特許文献2のズームレンズにおいては、最終レンズ群である第5レンズ群が固定されているため、最終レンズ群が大型化している。また、バックフォーカスが長いため、全長も長く、小型化が不十分である。更に、フォーカス群である第4レンズ群は、軸上光束径が大きく、レンズ外径が大きい。そのため、フォーカス群の重量が重くなり、大きな駆動力を有する駆動機構が必要となることから、鏡筒部分を含むレンズユニット全体が大型化する問題がある。
(【0011】以降は省略されています)
この特許をJ-PlatPat(特許庁公式サイト)で参照する
関連特許
株式会社タムロン
ズームレンズ及び撮像装置
1か月前
株式会社タムロン
ズームレンズ及び撮像装置
15日前
個人
立体像表示装置
1か月前
住友化学株式会社
偏光板
1か月前
カンタツ株式会社
光学系
1か月前
株式会社シグマ
結像光学系
22日前
株式会社シグマ
結像光学系
1か月前
住友化学株式会社
垂直偏光板
1か月前
東レ株式会社
赤外線遮蔽構成体
1か月前
東レ株式会社
貼合体の製造方法
1か月前
日本精機株式会社
ミラーユニット
1か月前
古河電気工業株式会社
融着機
1か月前
日本電気株式会社
光モジュール
1か月前
日東電工株式会社
導光部材
22日前
日本電気株式会社
光集積回路素子
1か月前
個人
多方向視差効果のための微細穴加工
1か月前
豊田合成株式会社
調光装置
9日前
株式会社コシナ
投射ズームレンズ
15日前
日東電工株式会社
光学積層体
24日前
三菱電機株式会社
レンズモジュール
1か月前
個人
眼鏡装着位置変更具および眼鏡
1か月前
京セラ株式会社
光学系
1か月前
AGC株式会社
インフィニティミラー
1か月前
住友化学株式会社
積層体
1か月前
住友化学株式会社
偏光板
1か月前
日本精機株式会社
ヘッドアップディスプレイ
22日前
住友化学株式会社
偏光板
1か月前
日本精機株式会社
ヘッドアップディスプレイ
25日前
日東電工株式会社
調光フィルム
1か月前
キヤノン株式会社
表示装置
1日前
日本精機株式会社
ヘッドアップディスプレイ装置
23日前
住友化学株式会社
光学積層体
1か月前
新光電気工業株式会社
光導波路部品
1か月前
マクセル株式会社
映像表示装置
15日前
住友化学株式会社
偏光積層体
1か月前
京セラ株式会社
アイソレータ
1日前
続きを見る
他の特許を見る