TOP
|
特許
|
意匠
|
商標
特許ウォッチ
Twitter
他の特許を見る
公開番号
2025165453
公報種別
公開特許公報(A)
公開日
2025-11-05
出願番号
2024069481
出願日
2024-04-23
発明の名称
光学積層体
出願人
日東電工株式会社
代理人
個人
,
個人
主分類
G02B
5/32 20060101AFI20251028BHJP(光学)
要約
【課題】ホログラムを含むフォトポリマー層と別層とが接着されてなる光学積層体において、接着前後でのホログラムの色ずれを抑制する。
【解決手段】光学積層体が、ホログラムを含むフォトポリマー層である第一層と、前記第一層に積層された第二層と、前記第一層と前記第二層との間に介在する分子接着剤層と、を有する。
【選択図】図1
特許請求の範囲
【請求項1】
ホログラムを含むフォトポリマー層である第一層と、
前記第一層に積層された第二層と、
前記第一層と前記第二層との間に介在する分子接着剤層と、を有する、光学積層体。
続きを表示(約 360 文字)
【請求項2】
前記第二層は、ガラス、および樹脂の少なくとも一方を含む基材である、請求項1に記載の光学積層体。
【請求項3】
前記第二層は、ホログラムを含むフォトポリマー層である、請求項1に記載の光学積層体。
【請求項4】
前記分子接着剤層は分子接着剤の硬化物を含み、前記分子接着剤は、シランカップリング剤を含む、請求項1または2に記載の光学積層体。
【請求項5】
前記分子接着剤は、アミノ系シランカップリング剤と、エポキシ系シランカップリング剤とを含む、請求項4に記載の光学積層体。
【請求項6】
前記アミノ系シランカップリング剤と前記エポキシ系シランカップリング剤との割合は、質量比で、20:80~80:20である、請求項5に記載の光学積層体。
発明の詳細な説明
【技術分野】
【0001】
本開示は、光学積層体に関する。
続きを表示(約 1,300 文字)
【背景技術】
【0002】
特許文献1には、露光によりホログラムが記録されたフォトポリマー層と、当該フォトポリマー層に接合した接着剤層とを含み、さらに基材等の別層が接着されてなる光学積層体が開示されている。特許文献1の構成においては、接着剤層として、ポリオレフィン系接着剤、ウレタン系接着剤といった種類の感圧接着剤またはホットメルト接着剤が使用されている。
【先行技術文献】
【特許文献】
【0003】
特表2015-510526号公報
【発明の概要】
【発明が解決しようとする課題】
【0004】
特許文献1によれば、開示の構成によって、ホログラムの色ずれ、すなわち、接着後の積層体におけるホログラムの色が、接着前のフォトポリマー層単独の状態でのホログラムの色から変化してしまうことを抑制できることが記載されている。しかしながら、上記のような接着剤層を含む構成では、色ずれの抑制作用が十分でなく、近年におけるホログラムの高い色品質に対する高い要求に応えることができないことがある。
【0005】
本開示は、ホログラムを含むフォトポリマー層と別層とが接着されてなる光学積層体において、接着前後でのホログラムの色ずれを抑制することを目的とする。
【課題を解決するための手段】
【0006】
本開示の一態様は、ホログラムを含むフォトポリマー層である第一層と、前記第一層に積層された第二層と、前記第一層と前記第二層との間に介在する分子接着剤層と、を有する光学積層体である。
【発明の効果】
【0007】
本開示によれば、ホログラムを含むフォトポリマー層と別層とが接着されてなる光学積層体において、接着前後でのホログラムの色ずれを抑制できる。
【図面の簡単な説明】
【0008】
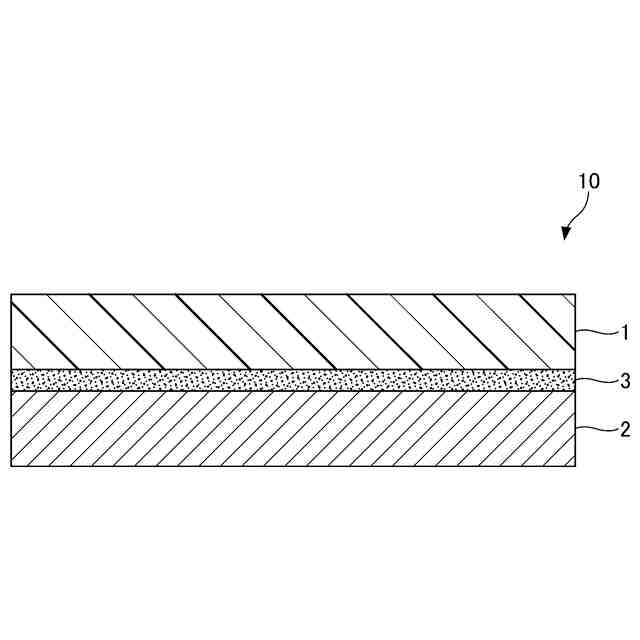
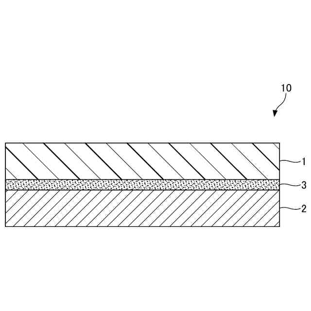
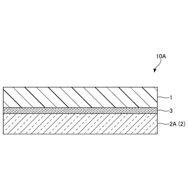
本開示の一実施形態による光学積層体を示す模式図である。
第一実施形態による光学積層体を示す模式図である。
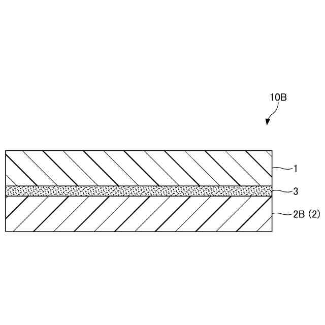
第二実施形態による光学積層体を示す模式図である。
代表的な実施例、および比較例の層構成の模式図である。
実施例1-1の光学積層体の透過率スペクトルである。
比較例1の光学積層体の透過率スペクトルである。
【発明を実施するための形態】
【0009】
以下、図面も参照しつつ本開示の具体的な実施形態についてより詳細に説明する。なお、本明細書および図面において、実質的に同一の機能構成を有する構成要素については、同一の符号を付することにより重複した説明を省くことがある。
【0010】
(光学積層体)
図1に、本開示の一実施形態による光学積層体10を示す。光学積層体10は、ホログラムを含むフォトポリマー層である第一層1と、前記第一層1に積層された第二層2と、前記第一層1と前記第二層2との間に介在する分子接着剤層3と、を有する。本明細書において、光学積層体とは、複数の層が積層されてなる光学的機能を備えた構造物である。
(【0011】以降は省略されています)
この特許をJ-PlatPat(特許庁公式サイト)で参照する
関連特許
日東電工株式会社
導光部材
1か月前
日東電工株式会社
シート体
1か月前
日東電工株式会社
ロボット
12日前
日東電工株式会社
照明装置
2か月前
日東電工株式会社
粘着シート
2か月前
日東電工株式会社
光学積層体
4日前
日東電工株式会社
粘着シート
1か月前
日東電工株式会社
光学積層体
4日前
日東電工株式会社
光学積層体
4日前
日東電工株式会社
粘着シート
19日前
日東電工株式会社
光学積層体
1か月前
日東電工株式会社
粘着シート
1か月前
日東電工株式会社
粘着シート
2か月前
日東電工株式会社
補強フィルム
11日前
日東電工株式会社
配線回路基板
1か月前
日東電工株式会社
配線回路基板
1か月前
日東電工株式会社
スイッチ装置
2か月前
日東電工株式会社
表面保護シート
1か月前
日東電工株式会社
パッチアンテナ
12日前
日東電工株式会社
パッチアンテナ
12日前
日東電工株式会社
ロール体の製造方法
19日前
日東電工株式会社
導光体、及び照明装置
2か月前
日東電工株式会社
多孔質ポリマーシート
19日前
日東電工株式会社
レンズ及び内視鏡用部材
2か月前
日東電工株式会社
分離機能層、及び分離膜
1か月前
日東電工株式会社
配線回路基板の製造方法
2か月前
日東電工株式会社
光半導体素子封止用シート
1か月前
日東電工株式会社
フレキシブル多層回路基板
19日前
日東電工株式会社
積層光学部材及び光学装置
2か月前
日東電工株式会社
積層光学フィルムの製造方法
6日前
日東電工株式会社
ポリマー粒子およびその利用
1か月前
日東電工株式会社
粘着シートおよび光半導体装置
19日前
日東電工株式会社
情報カードおよびその製造方法
1か月前
日東電工株式会社
表面保護フィルムおよびその用途
11日前
日東電工株式会社
反射防止フィルム及びその製造方法
27日前
日東電工株式会社
ロール体およびロール体の製造方法
11日前
続きを見る
他の特許を見る