TOP
|
特許
|
意匠
|
商標
特許ウォッチ
Twitter
他の特許を見る
公開番号
2025146328
公報種別
公開特許公報(A)
公開日
2025-10-03
出願番号
2024047044
出願日
2024-03-22
発明の名称
反射防止フィルム
出願人
日東電工株式会社
代理人
弁理士法人いくみ特許事務所
主分類
G02B
1/18 20150101AFI20250926BHJP(光学)
要約
【課題】耐UV性に優れ、さらに、環境負荷を低減できる、反射防止フィルムを提供する。
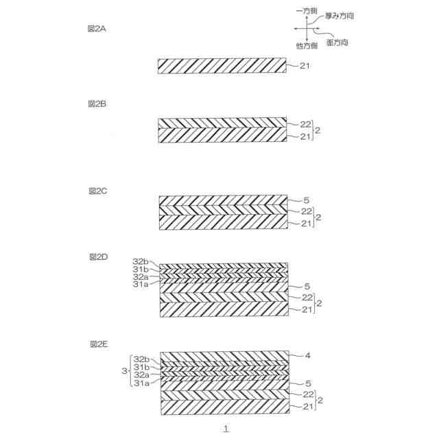
【解決手段】反射防止フィルム1は、透明基材フィルム2と、反射防止層3と、防汚層4とを厚み方向一方側に向かって順に備える。反射防止層3は、高屈折率層31および低屈折率層32の交互積層体である。防汚層4が、フッ素原子を含まず、シロキサン骨格を有する化合物を含有する。
【選択図】図1
特許請求の範囲
【請求項1】
透明基材フィルムと、反射防止層と、防汚層とを厚み方向一方側に向かって順に備え、
前記反射防止層は、高屈折率層および低屈折率層からなる交互積層体であり、
前記防汚層が、フッ素原子を含まず、シロキサン骨格を有する化合物を含有する、反射防止フィルム。
続きを表示(約 750 文字)
【請求項2】
前記防汚層が、ジメチルシロキサン骨格を有する化合物を含有する、請求項1に記載の反射防止フィルム。
【請求項3】
前記透明基材フィルムは、透明樹脂フィルムと、前記透明樹脂フィルムの厚み方向一方側に配置される硬化樹脂層とを備える、請求項1に記載の反射防止フィルム。
【請求項4】
前記透明基材フィルムと前記反射防止層との間に配置されるプライマー層を、さらに備え、
前記プライマー層は、金属酸化物層である、請求項1に記載の反射防止フィルム。
【請求項5】
前記高屈折率層が、酸化ニオブ層であり、
前記低屈折率層が、酸化ケイ素層である、請求項1に記載の反射防止フィルム。
【請求項6】
前記反射防止層の厚み方向一方面が、プラズマ処理表面である、請求項1に記載の反射防止フィルム。
【請求項7】
前記防汚層の厚み方向一方面の動摩擦係数が、0.55以下である、請求項1~6のいずれか一項に記載の反射防止フィルム。
【請求項8】
前記防汚層の厚み方向一方面の水接触角が、100度以上であり、
前記防汚層の厚み方向一方面の水滑落角が、60度未満であり、
前記防汚層の厚み方向一方面のオレイン酸滑落角が、45度未満である、請求項1~6のいずれか一項に記載の反射防止フィルム。
【請求項9】
前記防汚層の厚み方向一方面のUV試験後水接触角が、95度以上である、請求項1~6いずれか一項に記載の反射防止フィルム。
【請求項10】
前記防汚層の厚み方向一方面の摺動試験後水接触角が、80度以上である、請求項1~6いずれか一項に記載の反射防止フィルム。
発明の詳細な説明
【技術分野】
【0001】
本発明は、反射防止フィルムに関する。
続きを表示(約 980 文字)
【背景技術】
【0002】
液晶ディスプレイおよび有機ELディスプレイなどの画像表示装置において、外光の映り込みを防止するため、反射防止フィルムがディスプレイ画面の最表面に配置される。このような、反射防止フィルムは、透明基材フィルムと、高屈折率層および低屈折率層からなる反射防止層とを備える。
【0003】
また、汚染物質の付着を抑制するために、さらに、防汚層を備える反射防止フィルムが提案されている(例えば、特許文献1参照。)。
【先行技術文献】
【特許文献】
【0004】
特開2022-079332号公報
【発明の概要】
【発明が解決しようとする課題】
【0005】
一方、反射防止フィルムは、ディスプレイ画面の最表面に配置されるため、紫外線耐久性(耐UV性)が要求される。また、反射防止フィルムの防汚層は、環境への配慮から、フッ素原子を含まないことを望まれる。
【0006】
本発明は、耐UV性に優れ、さらに、環境負荷を低減できる、反射防止フィルムを提供することにある。
【課題を解決するための手段】
【0007】
本発明[1]は、透明基材フィルムと、反射防止層と、防汚層とを厚み方向一方側に向かって順に備え、前記反射防止層は、高屈折率層および低屈折率層の交互積層体であり、前記防汚層が、フッ素原子を含まず、シロキサン骨格を有する化合物を含有する、反射防止フィルムを含んでいる。
【0008】
本発明[2]は、前記防汚層が、ジメチルシロキサン骨格を有する化合物を含有する、[1]に記載の反射防止フィルムを含んでいる。
【0009】
本発明[3]は、前記透明基材フィルムは、透明樹脂フィルムと、前記透明樹脂フィルムの厚み方向一方側に配置される硬化樹脂層とを備える、[1]または[2]に記載の反射防止フィルムを含んでいる。
【0010】
本発明[4]は、前記透明基材フィルムと前記反射防止層との間に配置されるプライマー層を、さらに備え、前記プライマー層は、金属酸化物層である、[1]~[3]のいずれか一項に記載の反射防止フィルムを含んでいる。
(【0011】以降は省略されています)
この特許をJ-PlatPat(特許庁公式サイト)で参照する
関連特許
日東電工株式会社
吸着材
2日前
日東電工株式会社
発光装置
3日前
日東電工株式会社
光学積層体
1か月前
日東電工株式会社
光学積層体
17日前
日東電工株式会社
複合ケーブル
1か月前
日東電工株式会社
スイッチ装置
3日前
日東電工株式会社
偏光フィルム
24日前
日東電工株式会社
光学粘着シート
4日前
日東電工株式会社
光学粘着シート
4日前
日東電工株式会社
光学粘着シート
4日前
日東電工株式会社
ガラス樹脂複合体
1か月前
日東電工株式会社
反射防止フィルム
2日前
日東電工株式会社
反射防止フィルム
2日前
日東電工株式会社
ロール体の製造方法
6日前
日東電工株式会社
調光用導電性フィルム
16日前
日東電工株式会社
光学積層体の製造方法
3日前
日東電工株式会社
光学積層体の製造方法
1か月前
日東電工株式会社
光学積層体の製造方法
3日前
日東電工株式会社
延伸フィルムの製造方法
16日前
日東電工株式会社
ウレア化合物の製造方法
10日前
日東電工株式会社
延伸フィルムの製造方法
16日前
日東電工株式会社
表示システムおよび表示体
1か月前
日東電工株式会社
搬送キャリアの再利用方法
1か月前
日東電工株式会社
スパイラル型膜モジュール
18日前
日東電工株式会社
表示システムおよび表示体
1か月前
日東電工株式会社
表示システムおよび表示体
1か月前
日東電工株式会社
フィルムチップの製造方法
1か月前
日東電工株式会社
フィルムチップの製造方法
1か月前
日東電工株式会社
フィルムチップの製造方法
1か月前
日東電工株式会社
表示システムおよび表示体
1か月前
日東電工株式会社
粘着剤および/または接着剤
1か月前
日東電工株式会社
発泡体、部材、及び放熱構造
16日前
日東電工株式会社
光学積層体および表示システム
1か月前
日東電工株式会社
積層ホログラム素子の製造方法
1か月前
日東電工株式会社
光学積層体および画像表示装置
1か月前
日東電工株式会社
半導体ウエハ加工用粘着シート
1か月前
続きを見る
他の特許を見る