TOP
|
特許
|
意匠
|
商標
特許ウォッチ
Twitter
他の特許を見る
公開番号
2025146606
公報種別
公開特許公報(A)
公開日
2025-10-03
出願番号
2024160993
出願日
2024-09-18
発明の名称
吸着材
出願人
日東電工株式会社
代理人
弁理士法人青藍国際特許事務所
主分類
B01J
20/22 20060101AFI20250926BHJP(物理的または化学的方法または装置一般)
要約
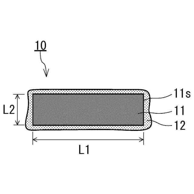
【課題】金属有機構造体を含み、耐久性の向上に適した吸着材を提供する。
【解決手段】吸着材10は、金属有機構造体を含む本体部11と、本体部11の表面11sを被覆し、樹脂を含む被覆層12とを備える。本体部11が、下記(i)から(iii)よりなる群から選択される少なくとも1つを満たす。(i)本体部11が成形体である。(ii)前記本体部の体積が0.004mm
3
以上である。(iii)前記本体部がシート形状を有する。
【選択図】図1
特許請求の範囲
【請求項1】
金属有機構造体を含む本体部と、
前記本体部の表面を被覆し、樹脂を含む被覆層と、
を備え、
前記本体部が、下記(i)から(iii)よりなる群から選択される少なくとも1つを満たす、吸着材。
(i)前記本体部が成形体である。
(ii)前記本体部の体積が0.004mm
3
以上である。
(iii)前記本体部がシート形状を有する。
続きを表示(約 690 文字)
【請求項2】
前記金属有機構造体は、コアとしての金属イオン、金属クラスター、又は金属酸化物クラスターと、2座以上の有機配位子とを有する、請求項1に記載の吸着材。
【請求項3】
前記被覆層の最小厚さが、300nm以上900μm以下の範囲にある、請求項1に記載の吸着材。
【請求項4】
前記樹脂が、熱可塑性樹脂を含む、請求項1に記載の吸着材。
【請求項5】
前記熱可塑性樹脂が、エラストマー及びポリビニル系樹脂よりなる群から選択される少なくとも1つである、請求項4に記載の吸着材。
【請求項6】
前記エラストマーが、ブチルゴム、ブタジエンゴム、スチレンブタジエンゴム、イソプレンゴム、及びニトリルゴムよりなる群から選択される少なくとも1つを含む、請求項5に記載の吸着材。
【請求項7】
前記ポリビニル系樹脂が、ポリビニルアルコール及びポリビニルアセタールよりなる群から選択される少なくとも1つを含む、請求項5に記載の吸着材。
【請求項8】
前記樹脂が、カルボキシル基、ヒドロキシル基、及びアルデヒド基以外の他の置換基を側鎖に有するモノマーユニットAを含み、
前記樹脂が含む全モノマーユニットの物質量の合計に対する前記モノマーユニットAの物質量の割合が、35mol%以上80mol%以下の範囲にある、請求項1に記載の吸着材。
【請求項9】
前記吸着材における前記本体部と前記被覆層との質量比が、99:1~30:70の範囲にある、請求項1に記載の吸着材。
発明の詳細な説明
【技術分野】
【0001】
本発明は、吸着材に関し、特に、金属有機構造体を含む吸着材に関する。
続きを表示(約 1,500 文字)
【背景技術】
【0002】
近年、環境規制等の観点から、混合ガスから各成分を分離して回収する技術が注目されている。例えば、工場又は発電所等では、燃焼装置から二酸化炭素及び窒素等を含む混合ガスが排出される。例えば、特許文献1には、回収した二酸化炭素等のガスを貯蔵するガス貯蔵容器が記載されている。ガス貯蔵容器の内部にはガスを吸着させるための吸着材としての多孔性材料が充填されている。多孔性材料として、金属有機構造体が例示されている。
【0003】
さらに、近年、大気中における二酸化炭素の量を低減するために、二酸化炭素回収・貯留(CCS:Carbon capture and storage)や二酸化炭素回収・利用(CCU:Carbon capture and utilization)が検討されている。CCSやCCUでは、大気から二酸化炭素を分離することによって、二酸化炭素の回収が行われることがある。二酸化炭素などの酸性ガスを大気から分離する方法として、酸性ガスを吸着材に吸着させて分離する吸着法が開発されている。吸着法で利用される吸着材は、例えば、大気と接触することによって、酸性ガスを吸着できる。例えば、特許文献2には、吸着材としては、多孔体の孔内にアミン化合物を充填したものが記載されている。
【先行技術文献】
【特許文献】
【0004】
国際公開第2019/026872号
特開2015-9185号公報
【発明の概要】
【発明が解決しようとする課題】
【0005】
金属有機構造体は、他の多孔性の吸着材と比べて体積当たりの吸着容量が大きい。また、金属有機構造体は、繰り返しの吸脱着性能が高い。そのため、金属有機構造体は、ガスを吸着させるための吸着材として期待されている。一方で、金属有機構造体は、水や高温に対する安定性が低く、耐久性の面で課題があることが知られている。
【0006】
そこで本発明は、金属有機構造体を含み、耐久性の向上に適した吸着材を提供することを目的とする。
【課題を解決するための手段】
【0007】
本発明は、
金属有機構造体を含む本体部と、
前記本体部の表面を被覆し、樹脂を含む被覆層と、
を備え、
前記本体部が、下記(i)から(iii)よりなる群から選択される少なくとも1つを満たす、吸着材を提供する。
(i)前記本体部が成形体である。
(ii)前記本体部の体積が0.004mm
3
以上である。
(iii)前記本体部がシート形状を有する。
【発明の効果】
【0008】
本発明によれば、金属有機構造体を含み、耐久性の向上に適した吸着材を提供できる。
【図面の簡単な説明】
【0009】
図1は、本発明の吸着材の一例を示す概略構成図である。
図2は、図1の吸着材の概略断面図である。
図3は、実施例で作製した円柱状のペレットの平面図である。
【発明を実施するための形態】
【0010】
本発明の第1態様にかかる吸着材は、
金属有機構造体を含む本体部と、
前記本体部の表面を被覆し、樹脂を含む被覆層と、
を備え、
前記本体部が、下記(i)から(iii)よりなる群から選択される少なくとも1つを満たす。
(i)前記本体部が成形体である。
(ii)前記本体部の体積が0.004mm
3
以上である。
(iii)前記本体部がシート形状を有する。
(【0011】以降は省略されています)
この特許をJ-PlatPat(特許庁公式サイト)で参照する
関連特許
日東電工株式会社
吸着材
5日前
日東電工株式会社
通気構造
1か月前
日東電工株式会社
電子装置
1日前
日東電工株式会社
発光装置
6日前
日東電工株式会社
光ファイバ
今日
日東電工株式会社
光学積層体
20日前
日東電工株式会社
光学積層体
1か月前
日東電工株式会社
生体センサ
1か月前
日東電工株式会社
配線回路基板
2か月前
日東電工株式会社
配線回路基板
2か月前
日東電工株式会社
粘着剤組成物
今日
日東電工株式会社
粘着剤組成物
今日
日東電工株式会社
複合ケーブル
1か月前
日東電工株式会社
温度測定装置
今日
日東電工株式会社
スイッチ装置
6日前
日東電工株式会社
反射フィルム
1か月前
日東電工株式会社
温度測定装置
今日
日東電工株式会社
偏光フィルム
27日前
日東電工株式会社
光学粘着シート
7日前
日東電工株式会社
光学粘着シート
7日前
日東電工株式会社
光学粘着シート
7日前
日東電工株式会社
表面保護フィルム
1か月前
日東電工株式会社
表面保護フィルム
1か月前
日東電工株式会社
反射防止フィルム
5日前
日東電工株式会社
偏光子の製造方法
1か月前
日東電工株式会社
ガラス樹脂複合体
1か月前
日東電工株式会社
反射防止フィルム
5日前
日東電工株式会社
ロール体の製造方法
9日前
日東電工株式会社
炭酸塩生成システム
2か月前
日東電工株式会社
光学積層体の製造方法
1か月前
日東電工株式会社
調光用導電性フィルム
19日前
日東電工株式会社
光学積層体の製造方法
6日前
日東電工株式会社
光学積層体の製造方法
6日前
日東電工株式会社
延伸フィルムの製造方法
19日前
日東電工株式会社
長尺状積層体の製造方法
2か月前
日東電工株式会社
延伸フィルムの製造方法
19日前
続きを見る
他の特許を見る