TOP
|
特許
|
意匠
|
商標
特許ウォッチ
Twitter
他の特許を見る
10個以上の画像は省略されています。
公開番号
2025147694
公報種別
公開特許公報(A)
公開日
2025-10-07
出願番号
2024048067
出願日
2024-03-25
発明の名称
電子装置
出願人
日東電工株式会社
代理人
個人
,
個人
主分類
H01H
13/02 20060101AFI20250930BHJP(基本的電気素子)
要約
【課題】スイッチが押されたことを認識しやすい電子装置を提供する。
【解決手段】本電子装置は、機構部と、制御部と、を有する電子装置であって、前記機構部は、連続する1つの表面を備えたガラス層と、前記ガラス層の裏面側に配置された樹脂層と、前記樹脂層の裏面側に配置された表示部と、前記表示部の裏面側に配置され、前記ガラス層が押されると、弾性変形した前記ガラス層、前記樹脂層、及び前記表示部に押されて導通と非導通とが切り替わる物理スイッチと、を有し、前記制御部は、前記表示部及び前記物理スイッチと電気的に接続され、前記制御部は、前記物理スイッチ上に位置する前記表示部に第1画像を表示させ、前記物理スイッチの導通と非導通との切り替わりを検出すると、前記表示部に表示させる画像を第2画像に切り替える。
【選択図】図1
特許請求の範囲
【請求項1】
機構部と、制御部と、を有する電子装置であって、
前記機構部は、
連続する1つの表面を備えたガラス層と、
前記ガラス層の裏面側に配置された樹脂層と、
前記樹脂層の裏面側に配置された表示部と、
前記表示部の裏面側に配置され、前記ガラス層が押されると、弾性変形した前記ガラス層、前記樹脂層、及び前記表示部に押されて導通と非導通とが切り替わる物理スイッチと、を有し、
前記制御部は、前記表示部及び前記物理スイッチと電気的に接続され、
前記制御部は、前記物理スイッチ上に位置する前記表示部に第1画像を表示させ、前記物理スイッチの導通と非導通との切り替わりを検出すると、前記表示部に表示させる画像を第2画像に切り替える、電子装置。
続きを表示(約 730 文字)
【請求項2】
前記第1画像は、前記物理スイッチの操作者に、前記物理スイッチの操作に伴って動作する対象物を想起させる画像である、請求項1に記載の電子装置。
【請求項3】
前記第2画像は、前記物理スイッチの操作者に、前記物理スイッチが押されたことを想起させる画像である、請求項2に記載の電子装置。
【請求項4】
前記第2画像は、前記第1画像よりも窪んだ様子を示す画像である、請求項3に記載の電子装置。
【請求項5】
前記第2画像は、前記第1画像よりもゆがんだ様子を示す画像である、請求項3に記載の電子装置。
【請求項6】
前記第1画像は、前記物理スイッチの操作に伴って動作する対象物が突起した様子を示す画像であり、
前記第2画像は、前記第1画像よりも窪んだ様子を示す画像である、請求項3に記載の電子装置。
【請求項7】
前記制御部は、前記ガラス層が押されたときの前記物理スイッチの導通と非導通との切り替わりを検出すると、前記表示部に表示させる画像を前記第2画像に切り替え、さらに前記ガラス層の押しが解除されたときの前記物理スイッチの導通と非導通との切り替わりを検出すると、前記表示部に表示させる画像を前記第1画像に切り替える、請求項1乃至6のいずれか一項に記載の電子装置。
【請求項8】
前記機構部は、タッチスイッチ操作領域を有し、
前記制御部は、前記タッチスイッチ操作領域に位置する前記ガラス層に操作者が接触したことを検出すると、前記物理スイッチ上に位置する前記表示部に前記第1画像を表示させる、請求項1乃至6のいずれか一項に記載の電子装置。
発明の詳細な説明
【技術分野】
【0001】
本発明は、電子装置に関する。
続きを表示(約 1,400 文字)
【背景技術】
【0002】
ガラス層と、ガラス層の裏面側に配置されたスイッチと、を有し、ガラス層の厚さは20μm以上150μm以下であり、スイッチは上下に可動する接点を含む複数の接点を備え、ガラス層が押されるとガラス層が弾性変形して複数の接点の導通と非導通とが切り替わるスイッチ装置が知られている。このようなスイッチ装置は、例えば、電子装置に搭載され、電子装置に入力するために用いられる。このような電子装置では、スイッチが押されたかどうかを認識しにくい場合がある。
【先行技術文献】
【特許文献】
【0003】
特開2022-166480号公報
【発明の概要】
【発明が解決しようとする課題】
【0004】
本発明は、上記の点に鑑みてなされたもので、スイッチが押されたことを認識しやすい電子装置の提供を目的とする。
【課題を解決するための手段】
【0005】
本開示の一実施形態に係る電子装置は、機構部と、制御部と、を有する電子装置であって、前記機構部は、連続する1つの表面を備えたガラス層と、前記ガラス層の裏面側に配置された樹脂層と、前記樹脂層の裏面側に配置された表示部と、前記表示部の裏面側に配置され、前記ガラス層が押されると、弾性変形した前記ガラス層、前記樹脂層、及び前記表示部に押されて導通と非導通とが切り替わる物理スイッチと、を有し、前記制御部は、前記表示部及び前記物理スイッチと電気的に接続され、前記制御部は、前記物理スイッチ上に位置する前記表示部に第1画像を表示させ、前記物理スイッチの導通と非導通との切り替わりを検出すると、前記表示部に表示させる画像を第2画像に切り替える。
【発明の効果】
【0006】
開示の技術によれば、スイッチが押されたことを認識しやすい電子装置を提供できる。
【図面の簡単な説明】
【0007】
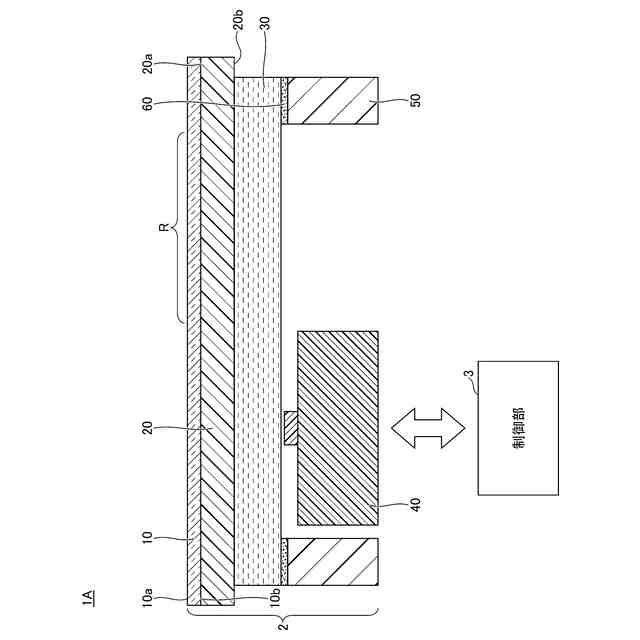
第1実施形態に係る電子装置を例示する模式図である。
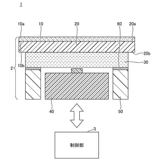
第1実施形態に係る電子装置を例示するブロック図である。
制御部のハードウェア構成を例示するブロック図である。
制御部が表示部の画像を切り替える際のフローチャートの一例である。
表示部に表示される画像を例示する図(その1)である。
表示部に表示される画像を例示する図(その2)である。
表示部に表示される画像を例示する図(その3)である。
第1実施形態の変形例に係る電子装置を例示する模式図である。
第2実施形態に係る電子装置を例示する斜視図である。
第2実施形態に係る電子装置を例示する分解斜視図である。
【発明を実施するための形態】
【0008】
以下、図面を参照して発明を実施するための形態について説明する。各図面において、同一構成部分には同一符号を付し、重複した説明を省略する場合がある。
【0009】
〈第1実施形態〉
図1は、第1実施形態に係る電子装置を例示する模式図である。図1に示すように、電子装置1は、機構部2と、制御部3とを有している。
【0010】
機構部2は、ガラス層10と、樹脂層20と、表示部30と、物理スイッチ40と、支持部50と、接合層60とを有している。支持部50及び接合層60は、機構部2の必須の構成要素ではない。
(【0011】以降は省略されています)
この特許をJ-PlatPat(特許庁公式サイト)で参照する
関連特許
日東電工株式会社
吸着材
4日前
日東電工株式会社
電子装置
今日
日東電工株式会社
発光装置
5日前
日東電工株式会社
通気構造
1か月前
日東電工株式会社
生体センサ
1か月前
日東電工株式会社
光学積層体
1か月前
日東電工株式会社
光学積層体
19日前
日東電工株式会社
複合ケーブル
1か月前
日東電工株式会社
スイッチ装置
5日前
日東電工株式会社
偏光フィルム
26日前
日東電工株式会社
配線回路基板
2か月前
日東電工株式会社
配線回路基板
2か月前
日東電工株式会社
反射フィルム
1か月前
日東電工株式会社
光学粘着シート
6日前
日東電工株式会社
光学粘着シート
6日前
日東電工株式会社
光学粘着シート
6日前
日東電工株式会社
ガラス樹脂複合体
1か月前
日東電工株式会社
反射防止フィルム
4日前
日東電工株式会社
反射防止フィルム
4日前
日東電工株式会社
偏光子の製造方法
1か月前
日東電工株式会社
表面保護フィルム
1か月前
日東電工株式会社
表面保護フィルム
1か月前
日東電工株式会社
ロール体の製造方法
8日前
日東電工株式会社
炭酸塩生成システム
2か月前
日東電工株式会社
光学積層体の製造方法
1か月前
日東電工株式会社
調光用導電性フィルム
18日前
日東電工株式会社
光学積層体の製造方法
5日前
日東電工株式会社
光学積層体の製造方法
5日前
日東電工株式会社
ウレア化合物の製造方法
12日前
日東電工株式会社
延伸フィルムの製造方法
18日前
日東電工株式会社
延伸フィルムの製造方法
18日前
日東電工株式会社
積層フィルムの製造方法
2か月前
日東電工株式会社
積層フィルムの製造方法
2か月前
日東電工株式会社
長尺状積層体の製造方法
2か月前
日東電工株式会社
長尺状積層体の製造方法
2か月前
日東電工株式会社
長尺状積層体の製造方法
2か月前
続きを見る
他の特許を見る