TOP
|
特許
|
意匠
|
商標
特許ウォッチ
Twitter
他の特許を見る
10個以上の画像は省略されています。
公開番号
2025167412
公報種別
公開特許公報(A)
公開日
2025-11-07
出願番号
2024071979
出願日
2024-04-25
発明の名称
配線回路基板
出願人
日東電工株式会社
代理人
弁理士法人いくみ特許事務所
主分類
H05K
1/02 20060101AFI20251030BHJP(他に分類されない電気技術)
要約
【課題】端子から第1絶縁層に伝わった熱による第1絶縁層のダメージを抑制できる配線回路基板を提供する。
【解決手段】
配線回路基板1は、金属層2と、第1絶縁層3と、回路パターン4とを備える。回路パターン4は、端子41Aと、端子41Aに接続される配線42Aとを有する。第1絶縁層3は、配線42Aと金属層2との間に配置される本体部31と、端子41Aと接触し、かつ、金属層2と接触する放熱部とを有する。放熱部32の厚み(第2厚みT2)は、本体部31の厚み(第1厚みT1)よりも薄い。
【選択図】図2
特許請求の範囲
【請求項1】
金属層と、
端子と、前記端子に接続される配線とを有する回路パターンと、
前記金属層の厚み方向において前記金属層と前記回路パターンとの間に配置される第1絶縁層と
を備え、
前記第1絶縁層は、
前記配線と前記金属層との間に配置される本体部であって、第1厚みを有する本体部と、
前記第1厚みよりも薄い第2厚みを有し、前記端子と接触し、かつ、前記金属層と接触する放熱部と
を有する、配線回路基板。
続きを表示(約 580 文字)
【請求項2】
前記回路パターンは、複数の前記端子を有し、
前記放熱部は、複数の前記端子と接触する、請求項1に記載の配線回路基板。
【請求項3】
前記放熱部は、1つの前記端子と接触する、請求項1に記載の配線回路基板。
【請求項4】
前記放熱部は、前記端子の全部と接触する、請求項1に記載の配線回路基板。
【請求項5】
前記放熱部は、前記端子の一部と接触する、請求項1に記載の配線回路基板。
【請求項6】
前記端子の前記一部は、前記端子の周縁部である、請求項5に記載の配線回路基板。
【請求項7】
前記端子の前記一部は、前記端子の中央部である、請求項5に記載の配線回路基板。
【請求項8】
前記配線回路基板は、
前記第1絶縁層上に配置され、前記配線を覆う第2絶縁層を、さらに備え、
前記端子は、前記第1絶縁層に対して前記金属層の反対側に向かって、前記第2絶縁層よりも突出する、請求項1~7のいずれか一項に記載の配線回路基板。
【請求項9】
前記端子は、
前記第1絶縁層上に配置される第1導体層と、
前記第1導体層上に配置される第2導体層と
を有する、請求項1~7のいずれか一項に記載の配線回路基板。
発明の詳細な説明
【技術分野】
【0001】
本発明は、配線回路基板に関する。
続きを表示(約 890 文字)
【背景技術】
【0002】
従来、金属支持層と、パッド部を有する回路と、金属支持層とパッド部との間に配置されるベース絶縁層とを備える配線回路基板が知られている(例えば、下記特許文献1参照。)。
【先行技術文献】
【特許文献】
【0003】
特開2019-212679号公報
【発明の概要】
【発明が解決しようとする課題】
【0004】
特許文献1に記載されるような配線回路基板では、溶融したはんだがパッド部上に載せられた場合に、はんだの熱がパッド部を介してベース絶縁層に伝わり、ベース絶縁層がダメージを受ける可能性がある。
【0005】
ベース絶縁層のダメージが過度に増大すると、ベース絶縁層が金属支持層から剥離しやすくなる可能性がある。
【0006】
本発明は、端子から第1絶縁層に伝わった熱による第1絶縁層のダメージを抑制できる配線回路基板を提供する。
【課題を解決するための手段】
【0007】
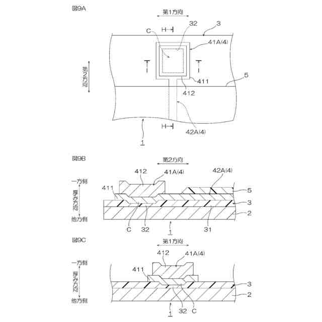
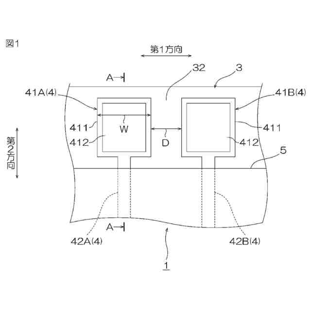
本発明[1]は、金属層と、端子と、前記端子に接続される配線とを有する回路パターンと、前記金属層の厚み方向において前記金属層と前記回路パターンとの間に配置される第1絶縁層とを備え、前記第1絶縁層が、前記配線と前記金属層との間に配置される本体部であって、第1厚みを有する本体部と、前記第1厚みよりも薄い第2厚みを有し、前記端子と接触し、かつ、前記金属層と接触する放熱部とを有する、配線回路基板を含む。
【0008】
このような構成によれば、端子と接触し、かつ、金属層と接触する放熱部が、配線と金属層との間に配置される本体部よりも薄い。
【0009】
そのため、溶融したはんだが端子上に載せられた場合に、端子を介して放熱部に伝わった熱を、金属層に円滑に放熱できる。
【0010】
その結果、端子から第1絶縁層に伝わった熱による第1絶縁層のダメージを、抑制できる。
(【0011】以降は省略されています)
この特許をJ-PlatPat(特許庁公式サイト)で参照する
関連特許
日東電工株式会社
積層体
2か月前
日東電工株式会社
シート体
1か月前
日東電工株式会社
ロボット
12日前
日東電工株式会社
照明装置
2か月前
日東電工株式会社
導光部材
1か月前
日東電工株式会社
光学積層体
1か月前
日東電工株式会社
光ファイバ
2か月前
日東電工株式会社
粘着シート
1か月前
日東電工株式会社
粘着シート
1か月前
日東電工株式会社
粘着シート
19日前
日東電工株式会社
光学積層体
4日前
日東電工株式会社
光学積層体
4日前
日東電工株式会社
粘着シート
2か月前
日東電工株式会社
光学積層体
4日前
日東電工株式会社
粘着シート
2か月前
日東電工株式会社
配線回路基板
1か月前
日東電工株式会社
スイッチ装置
2か月前
日東電工株式会社
配線回路基板
1か月前
日東電工株式会社
温度測定装置
2か月前
日東電工株式会社
粘着剤組成物
2か月前
日東電工株式会社
温度測定装置
2か月前
日東電工株式会社
補強フィルム
11日前
日東電工株式会社
粘着剤組成物
2か月前
日東電工株式会社
調光フィルム
2か月前
日東電工株式会社
パッチアンテナ
12日前
日東電工株式会社
表面保護シート
1か月前
日東電工株式会社
パッチアンテナ
12日前
日東電工株式会社
ロール体の製造方法
19日前
日東電工株式会社
多孔質ポリマーシート
19日前
日東電工株式会社
導光体、及び照明装置
2か月前
日東電工株式会社
レンズ及び内視鏡用部材
2か月前
日東電工株式会社
分離機能層、及び分離膜
1か月前
日東電工株式会社
分離機能層、及び分離膜
2か月前
日東電工株式会社
配線回路基板の製造方法
2か月前
日東電工株式会社
積層フィルムの製造方法
2か月前
日東電工株式会社
積層フィルムの製造方法
2か月前
続きを見る
他の特許を見る