TOP
|
特許
|
意匠
|
商標
特許ウォッチ
Twitter
他の特許を見る
10個以上の画像は省略されています。
公開番号
2025158917
公報種別
公開特許公報(A)
公開日
2025-10-17
出願番号
2025017776
出願日
2025-02-05
発明の名称
配線回路基板
出願人
日東電工株式会社
代理人
弁理士法人いくみ特許事務所
主分類
H05K
1/11 20060101AFI20251009BHJP(他に分類されない電気技術)
要約
【課題】第1端子と第2端子とがはんだによって短絡してしまうことを抑制できる配線回路基板を提供する。
【解決手段】
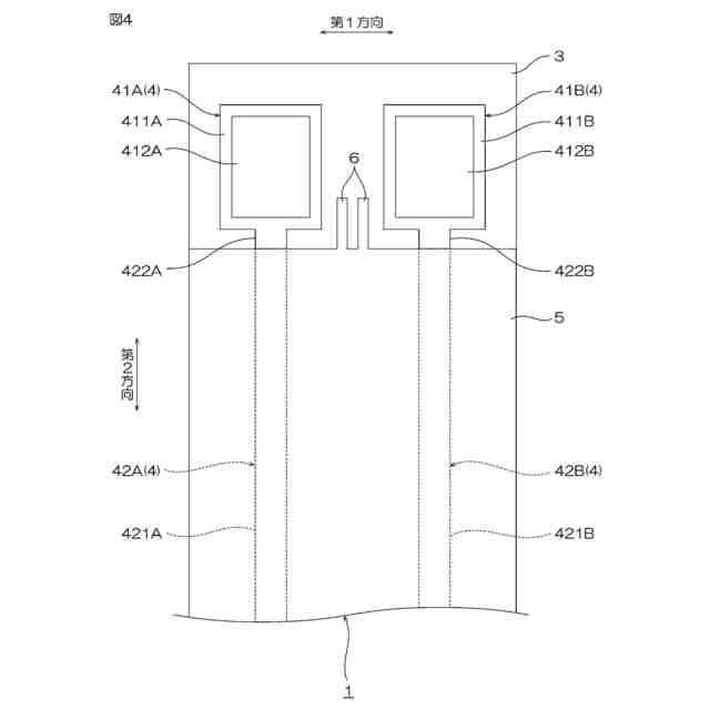
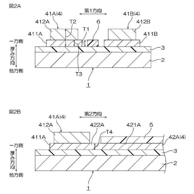
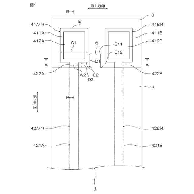
配線回路基板1は、第1絶縁層3と、回路パターン4と、第2絶縁層5と、第3絶縁層6とを備える。回路パターン4は、第1端子41Aと、第1端子41Aに接続される第1配線42Aと、第1端子41Aと間隔を隔てて配置される第2端子41Bとを有する。第1配線42Aは、第2絶縁層5によって覆われる第1本体部421Aと、第1端子41Aと第1本体部421Aとの間に配置され、第2絶縁層5から露出する第1露出部422Aとを有する。第3絶縁層6は、第1露出部422Aと第2端子41Bとの間に配置され、かつ、第1端子41Aと第2端子41Bとの間に配置される。
【選択図】図1
特許請求の範囲
【請求項1】
第1絶縁層と、
前記第1絶縁層上に配置され、第1端子と、前記第1端子に接続される第1配線と、前記第1端子と間隔を隔てて配置される第2端子とを有する回路パターンと、
前記第1絶縁層上に配置され、前記第1配線を覆う第2絶縁層と、
前記第1絶縁層上に配置される第3絶縁層と
を備え、
前記第1配線は、前記第2絶縁層によって覆われる第1本体部と、前記第1端子と前記第1本体部との間に配置され前記第2絶縁層から露出する第1露出部と、を有し、
前記第3絶縁層は、前記第1露出部と前記第2端子との間に配置され、かつ、前記第1端子と前記第2端子との間に配置される、配線回路基板。
続きを表示(約 760 文字)
【請求項2】
前記回路パターンは、前記第2端子に接続される第2配線をさらに有し、
前記第2配線は、前記第2絶縁層によって覆われる第2本体部と、前記第2端子と前記第2本体部との間に配置され前記第2絶縁層から露出する第2露出部と、を有し、
前記第3絶縁層は、前記第1露出部と前記第2露出部との間に配置される、請求項1に記載の配線回路基板。
【請求項3】
前記第3絶縁層は、前記第2絶縁層と連続する、請求項1に記載の配線回路基板。
【請求項4】
前記第1端子は、
前記第1絶縁層上に配置される第1導体層と、
前記第1導体層上に配置される第2導体層と
を有する、請求項1に記載の配線回路基板。
【請求項5】
前記第2導体層は、前記第1絶縁層の厚み方向において、前記第1導体層に対して前記第1絶縁層の反対側に向かって、前記第2絶縁層よりも突出する、請求項4に記載の配線回路基板。
【請求項6】
前記第3絶縁層は、前記第1端子および前記第2端子から離れて配置される、請求項1に記載の配線回路基板。
【請求項7】
前記第1露出部は、前記第1端子と前記第2端子とが並ぶ方向と直交する方向に延びる、請求項1に記載の配線回路基板。
【請求項8】
前記第1露出部の幅は、前記第1端子の幅よりも狭い、請求項1に記載の配線回路基板。
【請求項9】
前記第1配線の少なくとも一部が配置されるフレキシブル部と、前記フレキシブル部を支持する支持部とを有し、
前記支持部は、金属支持層を有し、
前記フレキシブル部は、前記金属支持層を有さない、請求項1に記載の配線回路基板。
発明の詳細な説明
【技術分野】
【0001】
本発明は、配線回路基板に関する。
続きを表示(約 1,100 文字)
【背景技術】
【0002】
従来、ベース絶縁層と、導体層と、導体層を覆うカバー絶縁層とを備える配線回路基板が知られている。導体層は、複数の端子部と、複数の配線とを有する。カバー絶縁層は、複数の配線を覆う(例えば、下記特許文献1参照。)。
【先行技術文献】
【特許文献】
【0003】
特開2022-002248号公報
【発明の概要】
【発明が解決しようとする課題】
【0004】
上記した特許文献1に記載される配線回路基板において、さらなるファインピッチ化が進むと、端子部上で溶融したはんだが隣りの端子部に向かって流れた場合に、隣り合う端子同士がはんだを介して短絡してしまう可能性がある。
【0005】
本発明は、第1端子と第2端子とがはんだによって短絡してしまうことを抑制できる配線回路基板を提供する。
【課題を解決するための手段】
【0006】
本発明[1]は、第1絶縁層と、前記第1絶縁層上に配置され、第1端子と、前記第1端子に接続される第1配線と、前記第1端子と間隔を隔てて配置される第2端子とを有する回路パターンと、前記第1絶縁層上に配置され、前記第1配線を覆う第2絶縁層と、前記第1絶縁層上に配置される第3絶縁層とを備え、前記第1配線が、前記第2絶縁層によって覆われる第1本体部と、前記第1端子と前記第1本体部との間に配置され前記第2絶縁層から露出する第1露出部と、を有し、前記第3絶縁層が、前記第1露出部と前記第2端子との間に配置され、かつ、前記第1端子と前記第2端子との間に配置される、配線回路基板を含む。
【0007】
このような構成によれば、第3絶縁層が、第1露出部と第2端子との間に配置され、かつ、第1端子と第2端子との間に配置される。
【0008】
そのため、第1端子上に載せられたはんだが溶融し、溶融したはんだが第1端子および第1露出部から第2端子に向かって流れてしまったとしても、第3絶縁層によって、溶融したはんだを止めることができる。
【0009】
その結果、第1端子と第2端子とがはんだによって短絡してしまうことを抑制できる。
【0010】
本発明[2]は、前記回路パターンが、前記第2端子に接続される第2配線をさらに有し、前記第2配線が、前記第2絶縁層によって覆われる第2本体部と、前記第2端子と前記第2本体部との間に配置され前記第2絶縁層から露出する第2露出部と、を有し、前記第3絶縁層が、前記第1露出部と前記第2露出部との間に配置される、上記[1]の配線回路基板を含む。
(【0011】以降は省略されています)
この特許をJ-PlatPat(特許庁公式サイト)で参照する
関連特許
日東電工株式会社
積層体
1か月前
日東電工株式会社
導光部材
11日前
日東電工株式会社
シート体
1か月前
日東電工株式会社
照明装置
1か月前
日東電工株式会社
粘着シート
28日前
日東電工株式会社
粘着シート
25日前
日東電工株式会社
光学積層体
13日前
日東電工株式会社
光ファイバ
1か月前
日東電工株式会社
粘着シート
1か月前
日東電工株式会社
粘着シート
1か月前
日東電工株式会社
調光フィルム
1か月前
日東電工株式会社
配線回路基板
1か月前
日東電工株式会社
スイッチ装置
1か月前
日東電工株式会社
配線回路基板
11日前
日東電工株式会社
表面保護シート
1か月前
日東電工株式会社
導光体、及び照明装置
1か月前
日東電工株式会社
配線回路基板の製造方法
1か月前
日東電工株式会社
分離機能層、及び分離膜
1か月前
日東電工株式会社
レンズ及び内視鏡用部材
1か月前
日東電工株式会社
分離機能層、及び分離膜
1か月前
日東電工株式会社
積層フィルムの製造方法
1か月前
日東電工株式会社
積層フィルムの製造方法
1か月前
日東電工株式会社
積層光学部材及び光学装置
1か月前
日東電工株式会社
光半導体素子封止用シート
22日前
日東電工株式会社
高分子分散型液晶フィルム
1か月前
日東電工株式会社
ポリマー粒子およびその利用
1か月前
日東電工株式会社
情報カードおよびその製造方法
11日前
日東電工株式会社
反射防止フィルム及びその製造方法
6日前
日東電工株式会社
積層光学フィルムおよび画像表示装置
27日前
日東電工株式会社
積層光学フィルムおよび画像表示装置
27日前
日東電工株式会社
架橋ポリマー、分離機能層、及び分離膜
1か月前
日東電工株式会社
粘着シートおよびフレキシブルデバイス
1か月前
日東電工株式会社
生体信号取得用粘着性電極及び生体センサ
6日前
日東電工株式会社
検査システム、検査方法及び検査プログラム
27日前
日東電工株式会社
配線回路基板、及び配線回路基板の製造方法
19日前
日東電工株式会社
配線回路基板、及び配線回路基板の製造方法
1か月前
続きを見る
他の特許を見る