TOP
|
特許
|
意匠
|
商標
特許ウォッチ
Twitter
他の特許を見る
公開番号
2025167012
公報種別
公開特許公報(A)
公開日
2025-11-07
出願番号
2024071262
出願日
2024-04-25
発明の名称
情報カードおよびその製造方法
出願人
日東電工株式会社
代理人
弁理士法人籾井特許事務所
主分類
B42D
15/00 20060101AFI20251030BHJP(製本;アルバム;ファイル;特殊印刷物)
要約
【課題】樹脂フィルムの検査用端切れの再利用を実現し、かつ、意匠性および耐久性に優れた情報カードを提供すること。
【解決手段】本発明の実施形態による情報カードは、ポリビニルアルコール系樹脂層と;ポリビニルアルコール系樹脂層の両側に配置された第1外側樹脂層および第2外側樹脂層と;第1外側樹脂層または第2外側樹脂層のいずれかの表面に設けられた、提示すべき情報が彫り込まれて形成された情報表示部と;を有する。情報表示部の彫り込み深さは15μm以上であり、かつ、情報表示部の最深部はポリビニルアルコール系樹脂層から15μm以上離隔している。
【選択図】図1
特許請求の範囲
【請求項1】
ポリビニルアルコール系樹脂層と、
該ポリビニルアルコール系樹脂層の両側に配置された第1外側樹脂層および第2外側樹脂層と、
該第1外側樹脂層または該第2外側樹脂層のいずれかの表面に設けられた、提示すべき情報が彫り込まれて形成された情報表示部と、
を有し、
該情報表示部の彫り込み深さが15μm以上であり、かつ、該情報表示部の最深部が該ポリビニルアルコール系樹脂層から15μm以上離隔している、
情報カード。
続きを表示(約 1,000 文字)
【請求項2】
前記提示すべき情報が、文字、数字、記号、意匠、ロゴ、キャラクター、スローガン、バーコードまたはそれらの組み合わせから選択される、請求項1に記載の情報カード。
【請求項3】
前記情報表示部の平面視したときの最外部が、前記情報カードの外周から2mm以上離隔している、請求項1に記載の情報カード。
【請求項4】
平面視矩形形状を有し、
4つの隅部に、曲率半径が2mm~6mmのR形状に形成された面取り部を有する、
請求項1に記載の情報カード。
【請求項5】
総厚みが150μm~300μmである、請求項1に記載の情報カード。
【請求項6】
前記情報表字部が前記第1外側樹脂層の表面に形成されており、該第1外側樹脂層の厚みが30μm以上である、請求項5に記載の情報カード。
【請求項7】
名刺、グリーティングカード、メッセージカード、パンフレット、説明書、宴会または式場の席次表、ポイントカード、特典カード、来場記念カード、社員証、会員証、あるいは、医療用情報カードから選択される、請求項1に記載の情報カード。
【請求項8】
前記ポリビニルアルコール系樹脂層が偏光子であり、前記第1外側樹脂層および前記第2外側樹脂層が保護層である、請求項1から7のいずれかに記載の情報カード。
【請求項9】
情報カードの製造方法であって、
該情報カードは、ポリビニルアルコール系樹脂層と、該ポリビニルアルコール系樹脂層の両側に配置された第1外側樹脂層および第2外側樹脂層と、該第1外側樹脂層または該第2外側樹脂層のいずれかの表面に設けられた、提示すべき情報が彫り込まれて形成された情報表示部と、を有し、
該製造方法は、
該ポリビニルアルコール系樹脂層と該第1外側樹脂層および該第2外側樹脂層とを有する積層フィルムの原反ロールの端から長尺方向の所定長さを切り出し、検査用フィルムとする工程と、
該検査用フィルムを、品質検査に供する工程と、
品質検査後の検査用フィルムの該第1外側樹脂層または該第2外側樹脂層のいずれかの表面に、該情報表示部を形成する工程と、
品質検査後の検査用フィルムを、所定のサイズに裁断する工程と、
を含む、製造方法。
【請求項10】
前記情報表示部の形成が前記裁断前に行われる、請求項9に記載の情報カードの製造方法。
(【請求項11】以降は省略されています)
発明の詳細な説明
【技術分野】
【0001】
本発明は、情報カードおよびその製造方法に関する。
続きを表示(約 3,300 文字)
【背景技術】
【0002】
樹脂フィルムおよび当該樹脂フィルムを含む積層フィルム(以下、まとめて「樹脂フィルム」と称する)は、各種用途に広範囲に用いられている。樹脂フィルムは、製品としてユーザーに出荷される前に品質検査に供される場合がある。具体的には、出荷前の樹脂フィルムのロールの端から長尺方向の所定長さを切り出して検査用フィルムとし、当該検査用フィルムが品質検査に供される。品質検査後の検査用フィルムは、多くの場合、破棄されている。ところで、近年、資源の保護および有効活用に対する要望が強くなり、企業のESG活動およびSDG活動も盛んになっている。このような状況において、例えば特許文献1では、プラスチックフィルムの再利用が可能なリキッドインキ組成物およびプラスチックフィルムの再利用方法が提案されている。このように、資源の保護および有効活用の観点から、品質検査後の検査用フィルムの再利用が検討されている。
【先行技術文献】
【特許文献】
【0003】
特開2024-033226号公報
【発明の概要】
【発明が解決しようとする課題】
【0004】
本発明の主たる目的は、樹脂フィルムの検査用端切れの再利用を実現し、かつ、意匠性および耐久性に優れた情報カードを提供することにある。
【課題を解決するための手段】
【0005】
[1]本発明の実施形態による情報カードは、ポリビニルアルコール系樹脂層と;該ポリビニルアルコール系樹脂層の両側に配置された第1外側樹脂層および第2外側樹脂層と;該第1外側樹脂層または該第2外側樹脂層のいずれかの表面に設けられた、提示すべき情報が彫り込まれて形成された情報表示部と;を有する。該情報表示部の彫り込み深さは15μm以上であり、かつ、該情報表示部の最深部は該ポリビニルアルコール系樹脂層から15μm以上離隔している。
[2]上記[1]において、上記提示すべき情報は、文字、数字、記号、意匠、ロゴ、キャラクター、スローガン、バーコードまたはそれらの組み合わせから選択される。
[3]上記[1]または[2]において、上記情報表示部の平面視したときの最外部は、上記情報カードの外周から2mm以上離隔している。
[4]上記[1]から[3]のいずれかにおいて、上記情報カードは、平面視矩形形状を有し、4つの隅部に曲率半径が2mm~6mmのR形状に形成された面取り部を有する。
[5]上記[1]から[4]のいずれかにおいて、上記情報カードの総厚みは150μm~300μmである。
[6]上記[1]から[5]のいずれかにおいて、上記情報表字部は上記第1外側樹脂層の表面に形成されており、該第1外側樹脂層の厚みは30μm以上である。
[7]上記[1]から[6]のいずれかにおいて、上記情報カードは、名刺、グリーティングカード、メッセージカード、パンフレット、説明書、宴会または式場の席次表、ポイントカード、特典カード、来場記念カード、社員証、会員証、あるいは、医療用情報カードから選択される。
[8]上記[1]から[7]のいずれかにおいて、上記ポリビニルアルコール系樹脂層は偏光子であり、上記第1外側樹脂層および上記第2外側樹脂層は保護層である。
[9]本発明の別の局面によれば、情報カードの製造方法が提供される。該情報カードは、ポリビニルアルコール系樹脂層と、該ポリビニルアルコール系樹脂層の両側に配置された第1外側樹脂層および第2外側樹脂層と、該第1外側樹脂層または該第2外側樹脂層のいずれかの表面に設けられた、提示すべき情報が彫り込まれて形成された情報表示部と、を有する。該製造方法は、該ポリビニルアルコール系樹脂層と該第1外側樹脂層および該第2外側樹脂層とを有する積層フィルムの原反ロールの端から長尺方向の所定長さを切り出し、検査用フィルムとする工程と;該検査用フィルムを、品質検査に供する工程と;品質検査後の検査用フィルムの該第1外側樹脂層または該第2外側樹脂層のいずれかの表面に、該情報表示部を形成する工程と;品質検査後の検査用フィルムを、所定のサイズに裁断する工程と;を含む。
[10]上記[9]において、上記情報表示部の形成は上記裁断前に行われる。
[11]上記[9]において、上記裁断は上記情報表示部の形成前に行われる。
[12]上記[9]から[11]のいずれかにおいて、上記情報表示部の形成は、上記第1外側樹脂層または上記第2外側樹脂層のいずれかの表面にレーザー光を照射することにより行われる。
[13]上記[9]から[12]のいずれかにおいて、上記裁断は、上記検査用フィルムにレーザー光を照射することにより行われる。
[14]上記[9]から[13]のいずれかにおいて、上記ポリビニルアルコール系樹脂層は偏光子であり、上記第1外側樹脂層および上記第2外側樹脂層は保護層である。
【発明の効果】
【0006】
本発明の実施形態によれば、樹脂フィルムの検査用端切れの再利用を実現し、かつ、意匠性および耐久性に優れた情報カードを得ることができる。
【図面の簡単な説明】
【0007】
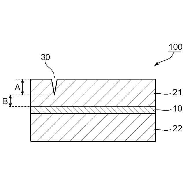
本発明の1つの実施形態による情報カードの概略断面図である。
図1の情報カードの概略平面図である。
【発明を実施するための形態】
【0008】
以下、本発明の代表的な実施形態について説明するが、本発明はこれらの実施形態には限定されない。なお、図面は見やすくするために模式的に描かれており、厚み、長さ、幅、形状、比率等は、実際の形状を正確に反映したものではない。
【0009】
A.情報カードの概要
図1は、本発明の1つの実施形態による情報カードの概略断面図であり;図2は、図1の情報カードの概略平面図である。図示例の情報カード100は、ポリビニルアルコール(PVA)系樹脂層10と、PVA系樹脂層10の一方の側(図示例では、上側)に配置された第1外側樹脂層21と、PVA系樹脂層10のもう一方の側(図示例では、下側)に配置された第2外側樹脂層22と、情報表示部30と、を有する。PVA系樹脂層10と第1外側樹脂層21および第2外側樹脂層22とは、任意の適切な接着層(例えば、接着剤層、粘着剤層)を介して積層されている。接着層は、好ましくは接着剤層である。このような構成であれば、端部のべたつきが抑制され、取り扱い性に優れた情報カードが得られ得る。なお、本明細書においては、図面の上側が、情報カードの使用者が情報カードを視認する側(以下、単に視認側と称する場合がある)である。
【0010】
情報表示部30は、第1外側樹脂層21または第2外側樹脂層22のいずれかの表面に設けられている。すなわち、情報表示部30は、情報カード100の視認側に形成されてもよく、視認側と反対側に形成されてもよい。情報表示部30は、好ましくは図示例のように、第1外側樹脂層21(すなわち、情報カードの視認側)に設けられる。このような構成であれば、視認性に優れた情報表示部(結果として、情報カード全体)が実現され得る。情報表示部30は、代表的には、第1外側樹脂層または第2外側樹脂層(図示例においては第1外側樹脂層)の表面に提示すべき情報が彫り込まれて形成されている。情報表示部30は、代表的には、第1外側樹脂層または第2外側樹脂層の表面にレーザー光を照射することにより形成され得る(詳細は後述のC項で説明する)。提示すべき情報は、情報カードの目的および用途に応じて適切に設定され得る。提示すべき情報としては、例えば、文字、数字、記号、意匠、ロゴ、キャラクター、スローガン、バーコードまたはそれらの組み合わせが挙げられる。
(【0011】以降は省略されています)
この特許をJ-PlatPat(特許庁公式サイト)で参照する
関連特許
個人
書籍
8か月前
個人
リフター
3か月前
個人
手帳
3か月前
個人
書類ホルダー
7か月前
個人
ノート
7か月前
個人
紙片収容保持具
10か月前
個人
ダブルクリップ
8か月前
個人
ファイル
3か月前
個人
ページめくり穴
2か月前
個人
ブランドハガキ
5か月前
個人
メッセージカード
8か月前
個人
カレンダー
2か月前
個人
折り曲げ式しおり
3か月前
個人
ハミガキ辞典
1か月前
FRC株式会社
学習ノート
7か月前
個人
脱着リーフ綴込み補助具
9か月前
個人
吊下式カレンダー
9か月前
ネオライト工業株式会社
しおり
2か月前
株式会社バンダイ
ブックマーク
1か月前
株式会社リコー
綴じ装置
3か月前
個人
脱着リングノートシステム
10か月前
個人
冊子収容ケース
3か月前
独立行政法人 国立印刷局
積層体
5か月前
独立行政法人 国立印刷局
積層体
5か月前
個人
シート状印刷物セット
3か月前
有限会社ライト工房
起立する台紙
6か月前
独立行政法人 国立印刷局
潜像物
10か月前
個人
タロットカード解説書
8か月前
ダイニック株式会社
ブッククロス
10か月前
個人
クリップボードカバー
1か月前
個人
見開きアルバム立て掛け飾り具
6か月前
ネオライト工業株式会社
しおりセット
18日前
独立行政法人 国立印刷局
画像形成体
2か月前
有限会社折りの丸新
紙類検査装置
18日前
独立行政法人 国立印刷局
偽造防止媒体
1か月前
個人
環状具
11か月前
続きを見る
他の特許を見る