TOP
|
特許
|
意匠
|
商標
特許ウォッチ
Twitter
他の特許を見る
公開番号
2025153007
公報種別
公開特許公報(A)
公開日
2025-10-10
出願番号
2024055255
出願日
2024-03-29
発明の名称
高分子分散型液晶フィルム
出願人
日東電工株式会社
代理人
弁理士法人籾井特許事務所
主分類
G02F
1/1334 20060101AFI20251002BHJP(光学)
要約
【課題】着色状態と透明状態とを切り替え可能であり、かつ、着色状態における遮光性が向上された高分子分散型液晶フィルムを提供すること。
【解決手段】第1の透明導電性フィルムと、高分子分散型液晶層と、第2の透明導電性フィルムと、をこの順に含む、高分子分散型液晶フィルムであって、前記高分子分散型液晶層が、高分子マトリクスと、前記高分子マトリクス中に分散しており、液晶成分および二色性色素を含む液滴と、を含み、前記液滴の平均扁平率が、0.3以上である、高分子分散型液晶フィルム。
【選択図】図2
特許請求の範囲
【請求項1】
第1の透明導電性フィルムと、高分子分散型液晶層と、第2の透明導電性フィルムと、をこの順に含む、高分子分散型液晶フィルムであって、
前記高分子分散型液晶層が、高分子マトリクスと、前記高分子マトリクス中に分散しており、液晶成分および二色性色素を含む液滴と、を含み、
前記液滴の平均扁平率が、0.3以上である、高分子分散型液晶フィルム。
続きを表示(約 390 文字)
【請求項2】
主面に直交する断面における前記液滴の平均粒子径が、0.1μm以上10μm以下である、請求項1に記載の高分子分散型液晶フィルム。
【請求項3】
前記高分子分散型液晶層における前記二色性色素の含有割合が、0.5重量%以上である、請求項1に記載の高分子分散型液晶フィルム。
【請求項4】
前記高分子分散型液晶層の厚みが、30μm以下である、請求項1に記載の高分子分散型液晶フィルム。
【請求項5】
電圧無印加時の全光線透過率が、20%以下である、請求項1に記載の高分子分散型液晶フィルム。
【請求項6】
電圧印加時の全光線透過率が、20%以上である、請求項1に記載の高分子分散型液晶フィルム。
【請求項7】
電圧印加時のヘイズが、20%以下である、請求項1に記載の高分子分散型液晶フィルム。
発明の詳細な説明
【技術分野】
【0001】
本発明は、高分子分散型液晶フィルムに関する。
続きを表示(約 2,100 文字)
【背景技術】
【0002】
一対の透明電極層の間に、高分子マトリクスと液晶成分の液滴とを含む高分子分散型液晶(Polymer Dispersed Liquid Crystal;以下、「PDLC」と称する場合がある)層を有するPDLCフィルムは、電圧の印加量に応じて、PDLC層における透過光の散乱度合いを変化させることができる。例えば、PDLCフィルムは、電圧印加状態と無印加状態とを切り替えることにより、光を透過させる状態(透明状態)と光を散乱させる状態(散乱状態)とを切り替えることができる(特許文献1)。
【0003】
上記PDLCフィルムにおいて、液晶成分の液滴に二色性色素を含有させると、電圧印加状態と無印加状態とを切り替えることにより、二色性色素による光の吸収が抑制された状態(非着色状態)と二色性色素による光の吸収が生じる状態(着色状態)とを切り替えることができる(特許文献2)。このようなPDLCフィルムは、プライバシー保護、情報セキュリティ、省エネルギー等に有用な調光フィルムとして、車、電車等の車両、オフィス、商業施設、住居等における窓、壁面、パーテーション等への適用が進められている。
【先行技術文献】
【特許文献】
【0004】
特開2002-189123号公報
国際公開2022/186062
【発明の概要】
【発明が解決しようとする課題】
【0005】
従来の二色性色素を用いたPDLCフィルムは、遮光性が求められる用途において、遮光性が不十分な場合がある。よって、着色状態におけるPDLCフィルムの遮光性の向上(換言すると、光抜けの低減)への要望が存在する。
【0006】
本発明は、上記課題を解決するためになされたものであり、その主たる目的は、着色状態と非着色状態とを切り替え可能であり、着色状態における遮光性が向上されたPDLCフィルムを提供することにある。また、一般に、PDLCフィルムの動作電圧は低いことが好ましい。
【課題を解決するための手段】
【0007】
[1]本発明の1つの局面によれば、第1の透明導電性フィルムと、高分子分散型液晶層と、第2の透明導電性フィルムと、をこの順に含む、高分子分散型液晶フィルムであって、前記高分子分散型液晶層が、高分子マトリクスと、前記高分子マトリクス中に分散しており、液晶成分および二色性色素を含む液滴と、を含み、前記液滴の平均扁平率が、0.3以上である、高分子分散型液晶フィルムが提供される。
[2]上記[1]に記載の高分子分散型液晶フィルムにおいて、主面に直交する断面における前記液滴の平均粒子径が、0.1μm以上10μm以下であってよい。
[3]上記[1]または[2]に記載の高分子分散型液晶フィルムにおいて、前記高分子分散型液晶層における前記二色性色素の含有割合が、0.5重量%以上であってよい。
[4]上記[1]から[3]のいずれかに記載の高分子分散型液晶フィルムにおいて、上記高分子分散型液晶層の厚みが、30μm以下であってよい。
[5]上記[1]から[4]のいずれかに記載の高分子分散型液晶フィルムの電圧無印加時の全光線透過率が、20%以下であってよい。
[6]上記[1]から[5]のいずれかに記載の高分子分散型液晶フィルムの電圧印加時の全光線透過率が、20%以上であってよい。
[7]上記[1]から[6]のいずれかに記載の高分子分散型液晶フィルムの電圧印加時のヘイズが、20%以下であってよい。
【発明の効果】
【0008】
本発明の実施形態によれば、二色性色素を含む液晶成分の液滴が厚み方向に扁平であることにより、PDLC層が薄型であっても光抜けが生じ難くなる。その結果、適度な動作電圧で着色状態と非着色状態とを切り替え可能であり、かつ、着色状態における遮光性が向上されたPDLCフィルムが得られ得る。
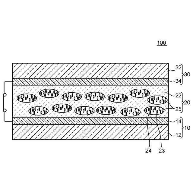
【図面の簡単な説明】
【0009】
二色性色素を用いたPDLCフィルムにおける光抜けの低減方法を説明するための概略図である。
本発明の1つの実施形態による電圧印加状態のPDLCフィルムの構成を説明する概略図である。
本発明の1つの実施形態による電圧無印加状態のPDLCフィルムの構成を説明する概略図である。
液晶液滴の扁平率の測定方法を説明する概略図である。
【発明を実施するための形態】
【0010】
以下、本発明の好ましい実施形態について説明するが、本発明はこれらの実施形態には限定されない。また、図面は説明をより明確にするため、実施の形態に比べ、各部の幅、厚さ、形状等について模式的に表される場合があるが、あくまで一例であって、本発明の解釈を限定するものではない。本明細書中で、数値範囲を表す「~」は、その上限および下限の数値を含む。
(【0011】以降は省略されています)
この特許をJ-PlatPat(特許庁公式サイト)で参照する
関連特許
日東電工株式会社
積層体
1か月前
日東電工株式会社
ロボット
3日前
日東電工株式会社
導光部材
23日前
日東電工株式会社
照明装置
1か月前
日東電工株式会社
シート体
1か月前
日東電工株式会社
粘着シート
1か月前
日東電工株式会社
粘着シート
1か月前
日東電工株式会社
粘着シート
10日前
日東電工株式会社
粘着シート
1か月前
日東電工株式会社
光学積層体
25日前
日東電工株式会社
光ファイバ
1か月前
日東電工株式会社
粘着シート
1か月前
日東電工株式会社
補強フィルム
2日前
日東電工株式会社
粘着剤組成物
1か月前
日東電工株式会社
粘着剤組成物
1か月前
日東電工株式会社
温度測定装置
1か月前
日東電工株式会社
調光フィルム
1か月前
日東電工株式会社
温度測定装置
1か月前
日東電工株式会社
配線回路基板
23日前
日東電工株式会社
配線回路基板
1か月前
日東電工株式会社
スイッチ装置
1か月前
日東電工株式会社
表面保護シート
1か月前
日東電工株式会社
パッチアンテナ
3日前
日東電工株式会社
パッチアンテナ
3日前
日東電工株式会社
ロール体の製造方法
10日前
日東電工株式会社
多孔質ポリマーシート
10日前
日東電工株式会社
導光体、及び照明装置
1か月前
日東電工株式会社
配線回路基板の製造方法
1か月前
日東電工株式会社
分離機能層、及び分離膜
1か月前
日東電工株式会社
分離機能層、及び分離膜
1か月前
日東電工株式会社
積層フィルムの製造方法
1か月前
日東電工株式会社
レンズ及び内視鏡用部材
1か月前
日東電工株式会社
積層フィルムの製造方法
1か月前
日東電工株式会社
積層光学部材及び光学装置
1か月前
日東電工株式会社
高分子分散型液晶フィルム
1か月前
日東電工株式会社
光半導体素子封止用シート
1か月前
続きを見る
他の特許を見る