TOP
|
特許
|
意匠
|
商標
特許ウォッチ
Twitter
他の特許を見る
10個以上の画像は省略されています。
公開番号
2025174136
公報種別
公開特許公報(A)
公開日
2025-11-28
出願番号
2024080233
出願日
2024-05-16
発明の名称
補強フィルム
出願人
日東電工株式会社
代理人
弁理士法人青藍国際特許事務所
主分類
C09J
7/38 20180101AFI20251120BHJP(染料;ペイント;つや出し剤;天然樹脂;接着剤;他に分類されない組成物;他に分類されない材料の応用)
要約
【課題】被着体の搬送時において良好な搬送性を発現でき、例えば搬送後、補強が不要なエリアにおける剥離除去と補強が必要なエリアにおける粘着維持とを容易に発現できる、補強フィルムを提供する。
【解決手段】本発明の実施形態による補強フィルムは、基材層C1と粘着剤c2から構成される粘着剤層C2を含むキャリアフィルムC上に、基材層A1と粘着剤a2から構成される粘着剤層A2を含む1個以上の粘着フィルムAと基材層B1と粘着剤b2から構成される粘着剤層B2を含む1個以上の粘着フィルムBが間隙を有する配置で積層され、該粘着剤層C2上に該基材層A1と該基材層B1が直接に積層され、粘着剤a2、粘着剤b2、粘着剤c2が、特定の条件を満たす。
【選択図】図3
特許請求の範囲
【請求項1】
キャリアフィルムC上に、1個以上の粘着フィルムAと1個以上の粘着フィルムBが間隙を有する配置で積層されている補強フィルムであって、
該粘着フィルムAは、基材層A1と、粘着剤a2から構成される粘着剤層A2を含み、
該粘着フィルムBは、基材層B1と、粘着剤b2から構成される粘着剤層B2を含み、
該キャリアフィルムCは、基材層C1と、粘着剤c2から構成される粘着剤層C2を含み、
該粘着剤層C2上に該基材層A1と該基材層B1が直接に積層され、
下記の(1)から(4)までのいずれかを満たす、
補強フィルム。
(1)粘着剤a2の粘着力<粘着剤b2の粘着力であって、且つ、粘着剤c2が活性エネルギー線照射によって粘着力が増加する粘着剤Xである。
(2)粘着剤a2の粘着力<粘着剤b2の粘着力であって、且つ、粘着剤c2が活性エネルギー線照射によって粘着力が低下する粘着剤Yである。
(3)粘着剤c2の粘着力<粘着剤b2の粘着力であって、且つ、粘着剤a2が活性エネルギー線照射によって粘着力が低下する粘着剤Yである。
(4)粘着剤a2が活性エネルギー線照射によって粘着力が低下する粘着剤Yであり、且つ、粘着剤b2が活性エネルギー線照射によって粘着力が増加する粘着剤Xである。
ただし、上記粘着力は、温度23℃、湿度50%RHの環境下における、剥離速度300mm/分、剥離角度180度での、ガラス板に対する粘着力である。
続きを表示(約 450 文字)
【請求項2】
前記粘着剤Xが、アクリル系粘着剤組成物xから形成され、該アクリル系粘着剤組成物xが、アクリル系ポリマーP1、架橋剤、光硬化剤、および光重合開始剤を含む、請求項1に記載の補強フィルム。
【請求項3】
前記粘着剤Yが、ウレタン系粘着剤組成物y1から形成される粘着剤Y1であり、該ウレタン系粘着剤組成物y1が、重合性不飽和二重結合を有するウレタンプレポリマーP2、架橋剤、ウレタン(メタ)アクリレート、および光重合開始剤を含む、請求項1に記載の補強フィルム。
【請求項4】
前記粘着剤Yが、アクリル系粘着剤組成物y2から形成される粘着剤Y2であり、該アクリル系粘着剤組成物y2が、側鎖に重合性不飽和二重結合を1つ有するアクリル系ポリマーP3、架橋剤、および光重合開始剤を含む、請求項1に記載の補強フィルム。
【請求項5】
前記粘着剤層A2および前記粘着剤層B2を光学部材に貼り合わせて用いる、請求項1から4までのいずれかに記載の補強フィルム。
発明の詳細な説明
【技術分野】
【0001】
本発明は、補強フィルムに関する。
続きを表示(約 2,400 文字)
【背景技術】
【0002】
半導体素子の基板に集積回路やフレキシブルプリント回路基板を接合する場合、通常、異方性導電フィルムによって熱圧着を行う。このような熱圧着を行う際に、予め、半導体素子の基板の裏側に補強フィルムを貼り合せて補強しておくことが知られている(例えば、特許文献1)。
【0003】
最近、画像表示装置に含まれる画像表示パネルを構成する光学部材の裏側(視認側と逆の側)には、製造工程中の光学部材の破損防止などを目的として、補強フィルムが貼り合わされることが知られている(例えば、特許文献2)。
【0004】
ところが、光学部材の裏側に補強フィルムを貼り合わせると、補強フィルム越しに行う光学検査の精度が低下するという問題がある。また、光学部材の裏側に補強フィルムを貼り合わせると、製造物(例えば、画像表示パネル)の厚みが増えてしまうという問題がある。
【0005】
上記の問題を回避するために、製造工程中の搬送時には光学部材に補強フィルムを貼り合わせておき、その後、光学検査を行う前に該補強フィルムを剥がしてしまうことが考えられる。しかし、光学部材の種類によっては、例えば、ICボンディングなどの熱圧着を行う箇所など、補強フィルムを剥がさずに残しておくべき補強箇所がある。
【先行技術文献】
【特許文献】
【0006】
特許第5600039号公報
特許第6376271号公報
【発明の概要】
【発明が解決しようとする課題】
【0007】
本発明の課題は、光学部材などの被着体に貼り合わせて用いる補強フィルムであって、被着体の搬送時において良好な搬送性を発現でき、例えば搬送後、補強が不要なエリアにおける剥離除去と補強が必要なエリアにおける粘着維持とを容易に発現できる、補強フィルムを提供することにある。
【課題を解決するための手段】
【0008】
[1]本発明の実施形態による補強フィルムは、
キャリアフィルムC上に、1個以上の粘着フィルムAと1個以上の粘着フィルムBが間隙を有する配置で積層されている補強フィルムであって、
該粘着フィルムAは、基材層A1と、粘着剤a2から構成される粘着剤層A2を含み、
該粘着フィルムBは、基材層B1と、粘着剤b2から構成される粘着剤層B2を含み、
該キャリアフィルムCは、基材層C1と、粘着剤c2から構成される粘着剤層C2を含み、
該粘着剤層C2上に該基材層A1と該基材層B1が直接に積層され、
下記の(1)から(4)までのいずれかを満たす。
(1)粘着剤a2の粘着力<粘着剤b2の粘着力であって、且つ、粘着剤c2が活性エネルギー線照射によって粘着力が増加する粘着剤Xである。
(2)粘着剤a2の粘着力<粘着剤b2の粘着力であって、且つ、粘着剤c2が活性エネルギー線照射によって粘着力が低下する粘着剤Yである。
(3)粘着剤c2の粘着力<粘着剤b2の粘着力であって、且つ、粘着剤a2が活性エネルギー線照射によって粘着力が低下する粘着剤Yである。
(4)粘着剤a2が活性エネルギー線照射によって粘着力が低下する粘着剤Yであり、且つ、粘着剤b2が活性エネルギー線照射によって粘着力が増加する粘着剤Xである。
ただし、上記粘着力は、温度23℃、湿度50%RHの環境下における、剥離速度300mm/分、剥離角度180度での、ガラス板に対する粘着力である。
[2]上記[1]に記載の補強フィルムにおいて、上記粘着剤Xが、アクリル系粘着剤組成物xから形成され、該アクリル系粘着剤組成物xが、アクリル系ポリマーP1、架橋剤、光硬化剤、および光重合開始剤を含んでいてもよい。
[3]上記[1]または[2]に記載の補強フィルムにおいて、上記粘着剤Yが、ウレタン系粘着剤組成物y1から形成される粘着剤Y1であり、該ウレタン系粘着剤組成物y1が、重合性不飽和二重結合を有するウレタンプレポリマーP2、架橋剤、ウレタン(メタ)アクリレート、および光重合開始剤を含んでいてもよい。
[4]上記[1]または[2]に記載の補強フィルムにおいて、上記粘着剤Yが、アクリル系粘着剤組成物y2から形成される粘着剤Y2であり、該アクリル系粘着剤組成物y2が、側鎖に重合性不飽和二重結合を1つ有するアクリル系ポリマーP3、架橋剤、および光重合開始剤を含んでいてもよい。
[5]上記[1]から[4]までのいずれかに記載の補強フィルムにおいて、上記粘着剤層A2および上記粘着剤層B2を光学部材に貼り合わせて用いてもよい。
【発明の効果】
【0009】
本発明によれば、光学部材などの被着体に貼り合わせて用いる補強フィルムであって、被着体の搬送時において良好な搬送性を発現でき、例えば搬送後、補強が不要なエリアにおける剥離除去と補強が必要なエリアにおける粘着維持とを容易に発現できる、補強フィルムを提供することができる。
【図面の簡単な説明】
【0010】
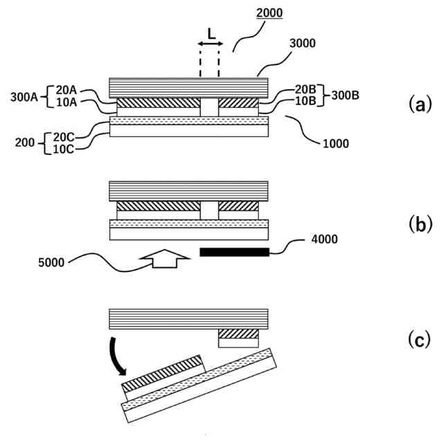
本発明の一つの実施形態による補強フィルムの概略断面図である。
本発明の一つの実施形態による補強フィルムの概略平面図である。
実施形態1による補強フィルムについての概略説明図である。
実施形態2による補強フィルムについての概略説明図である。
実施形態3による補強フィルムについての概略説明図である。
【発明を実施するための形態】
(【0011】以降は省略されています)
この特許をJ-PlatPat(特許庁公式サイト)で参照する
関連特許
日東電工株式会社
積層体
1か月前
日東電工株式会社
吸着材
1か月前
日東電工株式会社
シート体
1か月前
日東電工株式会社
導光部材
22日前
日東電工株式会社
電子装置
1か月前
日東電工株式会社
ロボット
2日前
日東電工株式会社
照明装置
1か月前
日東電工株式会社
発光装置
1か月前
日東電工株式会社
通気構造
3か月前
日東電工株式会社
光学積層体
2か月前
日東電工株式会社
光ファイバ
1か月前
日東電工株式会社
光学積層体
2か月前
日東電工株式会社
粘着シート
1か月前
日東電工株式会社
粘着シート
1か月前
日東電工株式会社
粘着シート
9日前
日東電工株式会社
粘着シート
1か月前
日東電工株式会社
生体センサ
3か月前
日東電工株式会社
光学積層体
24日前
日東電工株式会社
粘着シート
1か月前
日東電工株式会社
複合ケーブル
3か月前
日東電工株式会社
温度測定装置
1か月前
日東電工株式会社
配線回路基板
22日前
日東電工株式会社
スイッチ装置
1か月前
日東電工株式会社
調光フィルム
1か月前
日東電工株式会社
補強フィルム
1日前
日東電工株式会社
温度測定装置
1か月前
日東電工株式会社
反射フィルム
3か月前
日東電工株式会社
偏光フィルム
2か月前
日東電工株式会社
粘着剤組成物
1か月前
日東電工株式会社
配線回路基板
1か月前
日東電工株式会社
スイッチ装置
1か月前
日東電工株式会社
粘着剤組成物
1か月前
日東電工株式会社
光学粘着シート
1か月前
日東電工株式会社
光学粘着シート
1か月前
日東電工株式会社
表面保護シート
1か月前
日東電工株式会社
光学粘着シート
1か月前
続きを見る
他の特許を見る