TOP
|
特許
|
意匠
|
商標
特許ウォッチ
Twitter
他の特許を見る
公開番号
2025171248
公報種別
公開特許公報(A)
公開日
2025-11-20
出願番号
2024076388
出願日
2024-05-09
発明の名称
粘着シートおよび光半導体装置
出願人
日東電工株式会社
代理人
弁理士法人G-chemical
主分類
C09J
7/38 20180101AFI20251113BHJP(染料;ペイント;つや出し剤;天然樹脂;接着剤;他に分類されない組成物;他に分類されない材料の応用)
要約
【課題】光取り出し機能が高く、信頼性に優れる粘着シートを提供する。
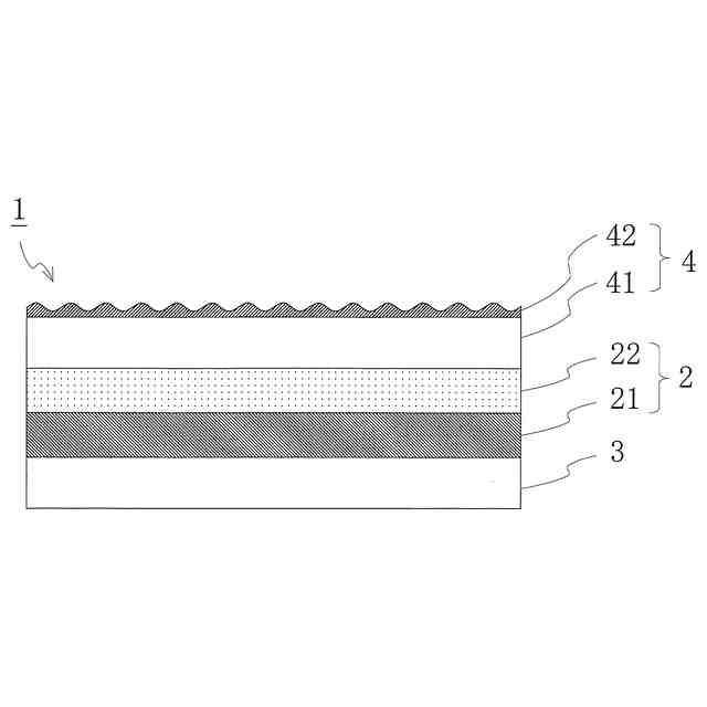
【解決手段】粘着シート1は、基材部4と、基材部4の一方の面に形成された粘着部2とを備える。粘着部2は第1粘着剤層21および第2粘着剤層22を含む。粘着シート1は、第1粘着剤層21、第2粘着剤層22、および基材部4が、この順で積層された積層構造を有する。第1粘着剤層21の可視光透過率T1および第2粘着剤層22の可視光透過率T2は、T1<T2を満たす。第1粘着剤層21の90℃における貯蔵弾性率G1’は35~100kPaである。
【選択図】図1
特許請求の範囲
【請求項1】
基材部と、前記基材部の一方の面に形成された粘着部とを備え、
前記粘着部は第1粘着剤層および第2粘着剤層を含み、
前記第1粘着剤層、前記第2粘着剤層、および前記基材部が、この順で積層された積層構造を有し、
前記第1粘着剤層の可視光透過率T1および前記第2粘着剤層の可視光透過率T2は、T1<T2を満たし、
前記第1粘着剤層の90℃における貯蔵弾性率G1’は35~100kPaである、粘着シート。
続きを表示(約 390 文字)
【請求項2】
前記G1’および前記第2粘着剤層の90℃における貯蔵弾性率G2’は、G1’/G2’<1.3を満たす、請求項1に記載の粘着シート。
【請求項3】
前記第1粘着剤層は着色剤を含有する、請求項1または2に記載の粘着シート。
【請求項4】
前記着色剤はカーボンブラックを含有する、請求項3に記載の粘着シート。
【請求項5】
第1粘着剤層の厚さは5~10μmである、請求項1または2に記載の粘着シート。
【請求項6】
基板上に配置された1以上の光半導体素子を封止するためのシートである、請求項1または2に記載の粘着シート。
【請求項7】
基板と、前記基板上に配置された光半導体素子と、前記光半導体素子を封止する請求項6に記載の粘着シートまたはその硬化物と、を備える光半導体装置。
発明の詳細な説明
【技術分野】
【0001】
本発明は粘着シートおよび光半導体装置に関する。
続きを表示(約 1,500 文字)
【背景技術】
【0002】
近年、次世代型の表示装置として、ミニ/マイクロLED表示装置(Mini/Micro Light Emitting Diode Display)に代表される自発光型表示装置が考案されている。ミニ/マイクロLED表示装置は、基本構成として、多数の微小なLED発光素子(LEDチップ)等の光半導体素子が高密度に配列された基板が表示パネルとして使用され、該LEDチップは封止材で封止され、最表層に樹脂フィルムやガラス板などのカバー部材が積層されるものである。
【0003】
ミニ/マイクロLED表示装置等の自発光型表示装置には、白色バックライト方式、白色発光カラーフィルター方式、RGB方式などいくつかの方式があるが、白色発光カラーフィルター方式、RGB方式では、表示パネルの基板上に配置された金属配線やITOなどの金属酸化物などの反射防止のために、黒色の封止材が用いられることがある(例えば、特許文献1~3参照)。中でも、LEDチップが配列されたRGB方式のミニ/マイクロLED表示装置では、上記黒色封止材はRGBの混色防止やコントラスト向上にも貢献し得る。
【先行技術文献】
【特許文献】
【0004】
特開2019-204905号公報
特開2017-203810号公報
特表2018-523854号公報
【発明の概要】
【発明が解決しようとする課題】
【0005】
特許文献1~3に記載されている黒色封止材を使用した場合、LEDチップ等の光半導体素子の上部(画像表示側)が可視光に対する透過率が低下した黒色封止材で覆われるため、光取り出し機能が低下して画像が暗くなるという問題がある。
【0006】
光取り出し機能の低下を抑えるために、光半導体素子を封止した際の黒色封止材の厚さを薄くすることが考えられる。例えば、光半導体素子を封止する際の圧縮によって黒色封止材の厚さが薄くなるように、黒色封止材の柔軟性を高くすることが考えられる。しかしながら、黒色封止材の柔軟性が高いと、高温に曝された際に、黒色封止材の透過性が変化したり、ボイド(発泡)が発生したりするなど、信頼性に劣るという問題がある。
【0007】
本発明は、このような事情のもとで考え出されたものであって、その目的は、光取り出し機能が高く、信頼性に優れる粘着シートを提供することにある。
【課題を解決するための手段】
【0008】
本発明者らは、上記目的を達成するため鋭意検討した結果、特定の粘着シートによれば、光取り出し機能が高く、信頼性に優れることを見出した。本発明は、これらの知見に基づいて完成されたものである。
【0009】
すなわち、本発明は、基材部と、上記基材部の一方の面に形成された粘着部とを備え、
上記粘着部は第1粘着剤層および第2粘着剤層を含み、
上記第1粘着剤層、上記第2粘着剤層、および上記基材部が、この順で積層された積層構造を有し、
上記第1粘着剤層の可視光透過率T1および上記第2粘着剤層の可視光透過率T2は、T1<T2を満たし、
上記第1粘着剤層の90℃における貯蔵弾性率G1’は35~100kPaである、粘着シートを提供する。
【0010】
上記G1’および上記第2粘着剤層の90℃における貯蔵弾性率G2’は、G1’/G2’<1.3を満たすことが好ましい。
(【0011】以降は省略されています)
この特許をJ-PlatPat(特許庁公式サイト)で参照する
関連特許
日東電工株式会社
積層体
1か月前
日東電工株式会社
吸着材
1か月前
日東電工株式会社
導光部材
14日前
日東電工株式会社
照明装置
1か月前
日東電工株式会社
シート体
1か月前
日東電工株式会社
電子装置
1か月前
日東電工株式会社
光ファイバ
1か月前
日東電工株式会社
粘着シート
1日前
日東電工株式会社
粘着シート
1か月前
日東電工株式会社
粘着シート
1か月前
日東電工株式会社
粘着シート
1か月前
日東電工株式会社
粘着シート
28日前
日東電工株式会社
光学積層体
16日前
日東電工株式会社
粘着剤組成物
1か月前
日東電工株式会社
粘着剤組成物
1か月前
日東電工株式会社
温度測定装置
1か月前
日東電工株式会社
温度測定装置
1か月前
日東電工株式会社
調光フィルム
1か月前
日東電工株式会社
スイッチ装置
1か月前
日東電工株式会社
配線回路基板
1か月前
日東電工株式会社
スイッチ装置
1か月前
日東電工株式会社
配線回路基板
14日前
日東電工株式会社
表面保護シート
1か月前
日東電工株式会社
反射防止フィルム
1か月前
日東電工株式会社
反射防止フィルム
1か月前
日東電工株式会社
ロール体の製造方法
1日前
日東電工株式会社
導光体、及び照明装置
1か月前
日東電工株式会社
多孔質ポリマーシート
1日前
日東電工株式会社
分離機能層、及び分離膜
1か月前
日東電工株式会社
積層フィルムの製造方法
1か月前
日東電工株式会社
積層フィルムの製造方法
1か月前
日東電工株式会社
分離機能層、及び分離膜
1か月前
日東電工株式会社
配線回路基板の製造方法
1か月前
日東電工株式会社
レンズ及び内視鏡用部材
1か月前
日東電工株式会社
光半導体素子封止用シート
25日前
日東電工株式会社
積層光学部材及び光学装置
1か月前
続きを見る
他の特許を見る