TOP
|
特許
|
意匠
|
商標
特許ウォッチ
Twitter
他の特許を見る
公開番号
2025177450
公報種別
公開特許公報(A)
公開日
2025-12-05
出願番号
2024084302
出願日
2024-05-23
発明の名称
光学積層体
出願人
日東電工株式会社
代理人
弁理士法人籾井特許事務所
主分類
G02B
5/30 20060101AFI20251128BHJP(光学)
要約
【課題】光学フィルムに表面保護フィルムが仮着された光学積層体であって、表面保護フィルムを剥離除去する際の剥離ムラが抑制された光学積層体を提供すること。
【解決手段】本発明の実施形態による光学積層体は、偏光子を含む偏光板と、偏光板の一方の側に配置されたアンチグレア層、を有する光学フィルムと;基材フィルムと粘着剤層とを含み、光学フィルムのアンチグレア層側に粘着剤層を介して剥離可能に仮着された、表面保護フィルムと;を有する。光学フィルムの表面保護フィルム側の表面自由エネルギーγS
OF
と粘着剤層の表面自由エネルギーγS
PSA
との差の絶対値は120以下である。
【選択図】図1
特許請求の範囲
【請求項1】
偏光子を含む偏光板と、該偏光板の一方の側に配置されたアンチグレア層と、を有する光学フィルムと;基材フィルムと粘着剤層とを含み、該光学フィルムの該アンチグレア層側に該粘着剤層を介して剥離可能に仮着された、表面保護フィルムと;を有し、
該光学フィルムの該表面保護フィルム側の表面自由エネルギーγS
OF
と該粘着剤層の表面自由エネルギーγS
PSA
との差の絶対値が120以下である、
光学積層体。
続きを表示(約 620 文字)
【請求項2】
前記表面保護フィルムと前記光学フィルムとの間の低速剥離力が0.001N/25mm以上である、請求項1に記載の光学積層体。
【請求項3】
前記表面保護フィルムと前記光学フィルムとの間の低速剥離力が0.016N/25mm以下である、請求項2に記載の光学積層体。
【請求項4】
前記光学フィルムの前記表面保護フィルム側の表面の算術平均粗さRaが0.15μm~0.50μmである、請求項1に記載の光学積層体。
【請求項5】
前記偏光子が非偏光部を含み、前記アンチグレア層が非アンチグレア部を含み、該非偏光部および該非アンチグレア部が対応する位置に設けられている、請求項1に記載の光学積層体。
【請求項6】
前記アンチグレア層の前記偏光板と反対側に反射防止層をさらに有し、該反射防止層に、前記粘着剤層を介して前記表面保護フィルムが剥離可能に仮着されている、請求項1から5のいずれかに記載の光学積層体。
【請求項7】
前記反射防止層のヘイズが1.0%未満であり、前記アンチグレア層のヘイズが5.0%以上である、請求項6に記載の光学積層体。
【請求項8】
前記反射防止層の前記アンチグレア層と反対側に防汚層をさらに有し、該防汚層に、前記粘着剤層を介して前記表面保護フィルムが剥離可能に仮着されている、請求項7に記載の光学積層体。
発明の詳細な説明
【技術分野】
【0001】
本発明は、光学積層体に関する。
続きを表示(約 2,900 文字)
【背景技術】
【0002】
近年、液晶表示装置およびエレクトロルミネセンス(EL)表示装置(例えば、有機EL表示装置、無機EL表示装置)に代表される画像表示装置が急速に普及している。画像表示装置には、目的および所望の特性に応じて各種の光学フィルムが用いられている。ところで、実用的には、光学フィルムの製造工程、検査工程および輸送等において、光学フィルムには表面保護フィルムが剥離可能に仮着され、当該表面保護フィルムにより光学フィルムをキズ、汚れ等から保護する場合が多い。しかし、光学フィルムの種類および構成によっては、光学フィルムの実使用に際して表面保護フィルムを剥離除去するときに、剥離ムラ(代表的には、表面保護フィルムの粘着剤成分が光学フィルムに残留する現象)が発生する場合がある。その結果、光学フィルムの外観に問題が生じる場合がある。
【先行技術文献】
【特許文献】
【0003】
特開2020-38254号公報
【発明の概要】
【発明が解決しようとする課題】
【0004】
本発明の主たる目的は、光学フィルムに表面保護フィルムが仮着された光学積層体であって、表面保護フィルムを剥離除去する際の剥離ムラが抑制された光学積層体を提供することにある。
【課題を解決するための手段】
【0005】
[1]本発明の実施形態によれば、光学積層体が提供される。該光学積層体は、偏光子を含む偏光板と、該偏光板の一方の側に配置されたアンチグレア層と、を有する光学フィルムと;基材フィルムと粘着剤層とを含み、該光学フィルムの該アンチグレア層側に該粘着剤層を介して剥離可能に仮着された、表面保護フィルムと;を有する。該光学フィルムの該表面保護フィルム側の表面自由エネルギーγS
OF
と該粘着剤層の表面自由エネルギーγS
PSA
との差の絶対値は120以下である。
[2]上記[1]において、上記表面保護フィルムと上記光学フィルムとの間の低速剥離力は0.001N/25mm以上である。
[3]上記[1]または[2]において、上記表面保護フィルムと上記光学フィルムとの間の低速剥離力は0.016N/25mm以下である。
[4]上記[1]から[3]のいずれかにおいて、上記光学フィルムの上記表面保護フィルム側の表面の算術平均粗さRaは0.15μm~0.50μmである。
[5]上記[1]から[4]のいずれかにおいて、上記偏光子は非偏光部を含み、上記アンチグレア層は非アンチグレア部を含み、該非偏光部および該非アンチグレア部は対応する位置に設けられている。
[6]上記[1]から[5]のいずれかにおいて、上記光学積層体は、上記アンチグレア層の上記偏光板と反対側に反射防止層をさらに有し、該反射防止層に、上記粘着剤層を介して上記表面保護フィルムが剥離可能に仮着されている。
[7]上記[6]において、上記反射防止層のヘイズは1.0%未満であり、上記アンチグレア層のヘイズは5.0%以上である。
[8]上記[1]から[7]のいずれかにおいて、上記光学積層体は、上記反射防止層の上記アンチグレア層と反対側に防汚層をさらに有し、該防汚層に、上記粘着剤層を介して上記表面保護フィルムが剥離可能に仮着されている。
【発明の効果】
【0006】
本発明の実施形態によれば、光学フィルムに表面保護フィルムが仮着された光学積層体であって、表面保護フィルムを剥離除去する際の剥離ムラが抑制された光学積層体を実現することができる。
【図面の簡単な説明】
【0007】
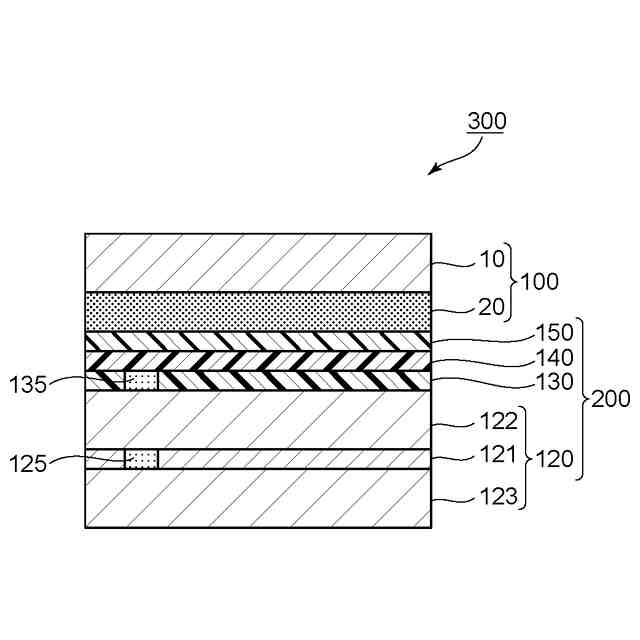
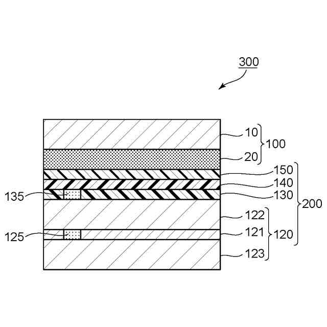
本発明の1つの実施形態による光学積層体の概略断面図である。
【発明を実施するための形態】
【0008】
以下、図面を参照して本発明の代表的な実施形態を説明するが、本発明はこれらの実施形態には限定されない。なお、見やすくかつ理解を容易にするために、図面は模式的に描かれており、長さ、幅、厚み、比率等は実際の形状を反映したものではない。
【0009】
A.光学積層体の概要
図1は、本発明の1つの実施形態による光学積層体の概略断面図である。図示例の光学積層体300は、光学フィルム200と表面保護フィルム100とを含む。光学フィルム200は、偏光板120と、偏光板120の一方の側に配置されたアンチグレア層130と、を有する。必要に応じて、光学積層体300(実質的には、光学フィルム200)は、図示例のようにアンチグレア層130の偏光板120と反対側に反射防止層140をさらに有していてもよい。さらに、必要に応じて、反射防止層140のアンチグレア層130と反対側に防汚層150を設けてもよい。反射防止層140が省略される場合には、防汚層150はアンチグレア層130の表面に設けられてもよい。表面保護フィルム100は、基材フィルム10と粘着剤層20とを含み、光学フィルム200のアンチグレア層側に粘着剤層20を介して剥離可能に仮着されている。図示例では、表面保護フィルム100は、防汚層150に剥離可能に仮着されている。防汚層が省略される場合には、表面保護フィルム100は、反射防止層140に剥離可能に仮着され得る。防汚層および反射防止層が省略される場合には、表面保護フィルム100は、アンチグレア層130に剥離可能に仮着され得る。
【0010】
本発明の実施形態においては、光学フィルム200の表面保護フィルム100側の表面自由エネルギーγS
OF
と表面保護フィルム100の粘着剤層20の表面自由エネルギーγS
PSA
との差の絶対値は、120以下であり、好ましくは80以下であり、より好ましくは50以下であり、さらに好ましくは20以下であり、特に好ましくは15以下であり、とりわけ好ましくは10以下である。表面自由エネルギーの差の絶対値は小さいほど好ましく、その下限は、例えば0.1であり得、また例えば0.5であり得、また例えば1.0であり得る。本発明の実施形態によれば、このようにアンチグレア層を含み、その結果凹凸表面を有する光学フィルムに表面保護フィルムを仮着した場合であっても、光学フィルムの表面保護フィルム側の表面自由エネルギーと表面保護フィルムの粘着剤層の表面自由エネルギーとの差の絶対値を120以下に制御することにより、表面保護フィルムを剥離除去する際の剥離ムラが抑制され得る。光学フィルムの表面保護フィルム側の表面自由エネルギーγS
OF
は、例えば5.0mN/m~70.0mN/mであり得、また例えば10.0mN/m~55.0mN/mであり得る。表面保護フィルムの粘着剤層の表面自由エネルギーγS
PSA
は、例えば20.0mN/m~100.0mN/mであり得、また例えば30.0mN/m~70.0mN/mであり得る。
(【0011】以降は省略されています)
この特許をJ-PlatPat(特許庁公式サイト)で参照する
関連特許
日東電工株式会社
積層体
1か月前
日東電工株式会社
照明装置
1か月前
日東電工株式会社
シート体
1か月前
日東電工株式会社
導光部材
1か月前
日東電工株式会社
ロボット
10日前
日東電工株式会社
粘着シート
1か月前
日東電工株式会社
粘着シート
17日前
日東電工株式会社
粘着シート
1か月前
日東電工株式会社
粘着シート
1か月前
日東電工株式会社
光学積層体
1か月前
日東電工株式会社
光学積層体
2日前
日東電工株式会社
光学積層体
2日前
日東電工株式会社
粘着シート
1か月前
日東電工株式会社
光学積層体
2日前
日東電工株式会社
配線回路基板
1か月前
日東電工株式会社
調光フィルム
1か月前
日東電工株式会社
スイッチ装置
1か月前
日東電工株式会社
配線回路基板
1か月前
日東電工株式会社
補強フィルム
9日前
日東電工株式会社
パッチアンテナ
10日前
日東電工株式会社
表面保護シート
1か月前
日東電工株式会社
パッチアンテナ
10日前
日東電工株式会社
ロール体の製造方法
17日前
日東電工株式会社
多孔質ポリマーシート
17日前
日東電工株式会社
導光体、及び照明装置
1か月前
日東電工株式会社
レンズ及び内視鏡用部材
1か月前
日東電工株式会社
配線回路基板の製造方法
1か月前
日東電工株式会社
積層フィルムの製造方法
1か月前
日東電工株式会社
分離機能層、及び分離膜
1か月前
日東電工株式会社
積層フィルムの製造方法
1か月前
日東電工株式会社
分離機能層、及び分離膜
1か月前
日東電工株式会社
積層光学部材及び光学装置
1か月前
日東電工株式会社
光半導体素子封止用シート
1か月前
日東電工株式会社
フレキシブル多層回路基板
17日前
日東電工株式会社
高分子分散型液晶フィルム
1か月前
日東電工株式会社
積層光学フィルムの製造方法
4日前
続きを見る
他の特許を見る