TOP
|
特許
|
意匠
|
商標
特許ウォッチ
Twitter
他の特許を見る
公開番号
2025150911
公報種別
公開特許公報(A)
公開日
2025-10-09
出願番号
2024052073
出願日
2024-03-27
発明の名称
積層フィルムの製造方法
出願人
日東電工株式会社
代理人
弁理士法人籾井特許事務所
主分類
G02B
5/30 20060101AFI20251002BHJP(光学)
要約
【課題】気泡の混入を抑制し得る積層フィルムの製造方法を提供すること。
【解決手段】本発明の実施形態による積層フィルムの製造方法は、第1フィルムと第2フィルムとを接着剤によって貼り合わせる貼合工程を含んでいる。該貼合工程において、該第1フィルムおよび該第2フィルムが、第1貼合ロールと第2貼合ロールとの間を通過するときに貼り合わされる。該第1貼合ロールおよび該第2貼合ロールのそれぞれは、外側ゴム管と、内側シャフトと、を有している。外側ゴム管は、円筒形状を有している。内側シャフトは、該外側ゴム管内に配置されている。該内側シャフトは、支持部を含む。該支持部は、該外側ゴム管の軸線方向の中央部分を支持している。該第1フィルムおよび該第2フィルムの少なくともいずれか一方は、下記式(1)の関係を満たしている。E×T<100000・・・(1)
【選択図】図2
特許請求の範囲
【請求項1】
第1フィルムと第2フィルムとを接着剤によって貼り合わせる貼合工程を含み、
前記貼合工程において、前記第1フィルムおよび前記第2フィルムは、第1貼合ロールと第2貼合ロールとの間を通過するときに貼り合わされ、
前記第1貼合ロールおよび前記第2貼合ロールのそれぞれは、
円筒形状を有している外側ゴム管と、
前記外側ゴム管内に配置されている内側シャフトと、を有し、
前記内側シャフトは、
前記外側ゴム管の軸線方向の中央部分を支持している支持部と、
前記軸線方向における前記支持部の両側に配置されている小径部であって、前記支持部よりも小径な小径部と、を有し、
前記第1フィルムおよび前記第2フィルムの少なくともいずれか一方は、下記式(1)の関係を満たす、積層フィルムの製造方法:
E×T<100000・・・(1)
(式(1)中、Eは、25℃における引張弾性率[単位:MPa]を表し;Tは、厚み[単位:μm]を表す)。
続きを表示(約 700 文字)
【請求項2】
前記第1フィルムおよび前記第2フィルムの両方が、上記式(1)の関係を満たす、請求項1に記載の積層フィルムの製造方法。
【請求項3】
前記第1フィルムおよび前記第2フィルムの少なくともいずれか一方の厚みは、45μm以下である、請求項1または2に記載の積層フィルムの製造方法。
【請求項4】
前記貼合工程において、前記第1フィルムおよび/または前記第2フィルムに掛かる張力は、50N/m~400N/mである、請求項1または2に記載の積層フィルムの製造方法。
【請求項5】
前記第1貼合ロールと前記第2貼合ロールとは、それらの間に前記第1フィルムおよび前記第2フィルムを挟むニップであって、前記軸線方向に延びているニップを形成しており、
前記ニップの幅は、13mm~20mmである、請求項1または2に記載の積層フィルムの製造方法。
【請求項6】
前記外側ゴム管における前記軸線方向の中央部分の外径は、前記外側ゴム管における前記軸線方向の端部の外径に対して、1倍以下である、請求項1または2に記載の積層フィルムの製造方法。
【請求項7】
前記第1貼合ロールの前記外側ゴム管の外周面は、前記貼合工程において、前記第1フィルムと接触する接触領域を含み、
前記接触領域に対応する前記外側ゴム管の中心角は、45°~90°である、請求項5に記載の積層フィルムの製造方法。
【請求項8】
前記第1フィルムは、偏光子を含む偏光板である、請求項1または2に記載の積層フィルムの製造方法。
発明の詳細な説明
【技術分野】
【0001】
本発明は、積層フィルムの製造方法に関する。
続きを表示(約 3,300 文字)
【背景技術】
【0002】
従来、各種産業製品において、積層フィルムが幅広く利用されている。積層フィルムは、複数のフィルムが積層されて調製される。例えば、第1フィルムの片面または第2フィルムの片面もしくは両面に、活性エネルギー線硬化型の接着剤を塗布した後に、一対の貼合ロールの間を通過させて、第1フィルムと第2フィルムとを貼り合わせる技術が提案されている。
【先行技術文献】
【特許文献】
【0003】
特開2013-92764号公報
【発明の概要】
【発明が解決しようとする課題】
【0004】
近年、積層フィルムの用途が拡大するに伴って、積層フィルムに要求される構成および性能が多様化している。そのため、積層フィルムに、比較的剛性の小さいフィルムが用いられる場合がある。しかし、特許文献1に記載の方法に、比較的剛性の小さいフィルムを採用すると、製造される積層フィルムに気泡が混入するおそれがある。
本発明は上記従来の課題を解決するためになされたものであり、その主たる目的は、気泡の混入を抑制し得る積層フィルムの製造方法を提供することにある。
【課題を解決するための手段】
【0005】
[1]本発明の1つの実施形態による積層フィルムの製造方法は、第1フィルムと第2フィルムとを接着剤によって貼り合わせる貼合工程を含んでいる。該貼合工程において、該第1フィルムおよび該第2フィルムが、第1貼合ロールと第2貼合ロールとの間を通過するときに貼り合わされる。該第1貼合ロールおよび該第2貼合ロールのそれぞれは、外側ゴム管と、内側シャフトと、を有している。該外側ゴム管は、円筒形状を有している。該内側シャフトは、該外側ゴム管内に配置されている。該内側シャフトは、支持部と、該支持部よりも小径な小径部とを有している。該支持部は、該外側ゴム管の軸線方向の中央部分を支持している。該小径部は、該軸線方向における該支持部の両側に配置されている。該第1フィルムおよび該第2フィルムの少なくともいずれか一方は、下記式(1)の関係を満たしている。
E×T<100000・・・(1)
(式(1)中、Eは、25℃における引張弾性率[単位:MPa]を表し;Tは、厚み[単位:μm]を表す。)
[2]上記[1]に記載の積層フィルムの製造方法において、上記第1フィルムおよび上記第2フィルムの両方が、上記式(1)の関係を満たしていてもよい。
[3]上記[1]または[2]に記載の積層フィルムの製造方法において、上記第1フィルムおよび上記第2フィルムの少なくともいずれか一方の厚みは、45μm以下であってもよい。
[4]上記[1]から[3]のいずれかに記載の積層フィルムの製造方法では、上記貼合工程において、上記第1フィルムおよび/または上記第2フィルムに掛かる張力は、50N/m~400N/mであってもよい。
[5]上記[1]から[4]のいずれかに記載の積層フィルムの製造方法において、上記第1貼合ロールと上記第2貼合ロールとは、それらの間に上記第1フィルムおよび上記第2フィルムを挟むニップを形成していてもよい。該ニップは、上記軸線方向に延びている。該ニップの幅は、13mm~20mmであってもよい。
[6]上記[1]から[5]のいずれかに記載の積層フィルムの製造方法において、上記外側ゴム管における軸線方向の中央部分の外径は、上記外側ゴム管における軸線方向の端部の外径に対して、1倍以下であってもよい。
[7]上記[6]に記載の積層フィルムの製造方法において、上記第1貼合ロールの上記外側ゴム管の外周面は、上記貼合工程において上記第1フィルムと接触する接触領域を含んでいてもよい。該接触領域に対応する外側ゴム管の中心角は、45°~90°であってもよい。
[8]上記[1]から[7]のいずれかに記載の積層フィルムの製造方法において、上記第1フィルムは、偏光子を含む偏光板であってもよい。
【発明の効果】
【0006】
本発明の実施形態によれば、気泡の混入が抑制された積層フィルムを製造し得る。
【図面の簡単な説明】
【0007】
図1は、本発明の1つの実施形態による積層フィルムの製造方法を説明するための概略構成図である。
図2は、図1に示す第1貼合ロールおよび第2貼合ロールの概略断面図である。
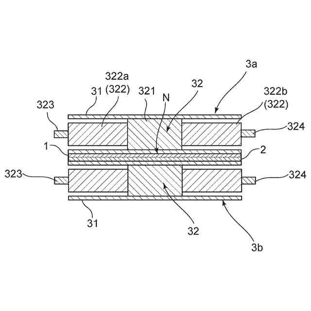
図3は、本発明の別の実施形態に係る第1貼合ロールおよび第2貼合ロールの概略断面図である。
図4は、図1に示す第1フィルムの概略断面図である。
図5は、図1に示す第2フィルムの概略断面図である。
図6は、本発明の1つの実施形態による積層フィルムの製造方法によって製造される積層フィルムの概略断面図である。
【発明を実施するための形態】
【0008】
以下、本発明の代表的な実施形態について説明するが、本発明はこれらの実施形態には限定されない。また、図面は説明をより明確にするため、実施の形態に比べ、各部の幅、厚さ、形状等について模式的に表される場合があるが、あくまで一例であって、本発明の解釈を限定するものではない。
【0009】
A.積層フィルムの製造方法の概略
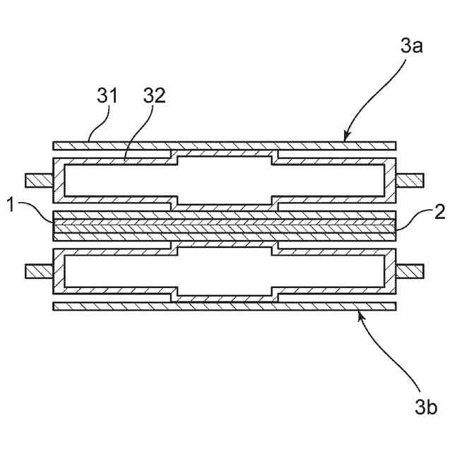
図1は本発明の1つの実施形態による積層フィルムの製造方法を説明するための概略構成図であり;図2は図1に示す第1貼合ロールおよび第2貼合ロールの概略断面図である。
【0010】
1つの実施形態による積層フィルムの製造方法は、貼合工程を含んでいる。貼合工程では、第1フィルム1と第2フィルム2とを接着剤によって貼り合わせる。第1フィルム1および第2フィルム2は、第1貼合ロール3aと第2貼合ロール3bとの間を通過するときに貼り合わされる。
第1フィルム1および第2フィルム2の少なくともいずれか一方は、下記式(1)の関係を満たしている。
E×T<100000・・・(1)
(式(1)中、Eは、25℃における引張弾性率[単位:MPa]を表し;Tは、厚み[単位:μm]を表す)。
図2に示すように、第1貼合ロール3aおよび第2貼合ロール3bのそれぞれは、外側ゴム管31と、内側シャフト32と、を有している。
外側ゴム管31は、円筒形状を有している。以下では、外側ゴム管31の軸線の延びる方向を軸線方向とする。内側シャフト32は、外側ゴム管31内に配置されている。内側シャフト32は、支持部321と、2つの小径部322と、を有している。
支持部321は、外側ゴム管31の軸線方向の中央部分を支持している。1つの実施形態において、支持部321は、外側ゴム管31の内周面における軸線方向の中央部分と接触している。図示例では、支持部321は、軸線方向に延びる円柱形状を有している。
小径部322は、軸線方向における支持部321の両側に配置されている。2つの小径部322のうち、軸線方向における支持部321の一方側に配置されている小径部322を第1小径部322aとし、軸線方向における支持部321の他方側に配置されている小径部322を第2小径部322bとして区別する場合がある。2つの小径部322のそれぞれは、支持部321よりも小径である。
このような構成によれば、第1フィルム1および第2フィルム2の少なくともいずれか一方が、上記した式(1)の関係を満たす比較的剛性の小さいフィルムであっても、第1貼合ロールおよび第2貼合ロールのそれぞれが、上記外側ゴム管および上記内側シャフトを有しているので、貼合工程において、第1フィルムと第2フィルムとの間に気泡が混入することを抑制し得る。そのため、気泡が低減された積層フィルムを円滑に製造し得る。
(【0011】以降は省略されています)
この特許をJ-PlatPat(特許庁公式サイト)で参照する
関連特許
日東電工株式会社
積層体
1か月前
日東電工株式会社
導光部材
17日前
日東電工株式会社
照明装置
1か月前
日東電工株式会社
シート体
1か月前
日東電工株式会社
光ファイバ
1か月前
日東電工株式会社
粘着シート
1か月前
日東電工株式会社
粘着シート
1か月前
日東電工株式会社
粘着シート
1か月前
日東電工株式会社
光学積層体
19日前
日東電工株式会社
粘着シート
1か月前
日東電工株式会社
粘着シート
4日前
日東電工株式会社
調光フィルム
1か月前
日東電工株式会社
配線回路基板
1か月前
日東電工株式会社
配線回路基板
17日前
日東電工株式会社
スイッチ装置
1か月前
日東電工株式会社
表面保護シート
1か月前
日東電工株式会社
ロール体の製造方法
4日前
日東電工株式会社
導光体、及び照明装置
1か月前
日東電工株式会社
多孔質ポリマーシート
4日前
日東電工株式会社
配線回路基板の製造方法
1か月前
日東電工株式会社
積層フィルムの製造方法
1か月前
日東電工株式会社
積層フィルムの製造方法
1か月前
日東電工株式会社
分離機能層、及び分離膜
1か月前
日東電工株式会社
分離機能層、及び分離膜
1か月前
日東電工株式会社
レンズ及び内視鏡用部材
1か月前
日東電工株式会社
光半導体素子封止用シート
28日前
日東電工株式会社
フレキシブル多層回路基板
4日前
日東電工株式会社
積層光学部材及び光学装置
1か月前
日東電工株式会社
高分子分散型液晶フィルム
1か月前
日東電工株式会社
ポリマー粒子およびその利用
1か月前
日東電工株式会社
粘着シートおよび光半導体装置
4日前
日東電工株式会社
情報カードおよびその製造方法
17日前
日東電工株式会社
反射防止フィルム及びその製造方法
12日前
日東電工株式会社
積層光学フィルムおよび画像表示装置
1か月前
日東電工株式会社
積層光学フィルムおよび画像表示装置
1か月前
日東電工株式会社
粘着シートおよびフレキシブルデバイス
1か月前
続きを見る
他の特許を見る