TOP
|
特許
|
意匠
|
商標
特許ウォッチ
Twitter
他の特許を見る
10個以上の画像は省略されています。
公開番号
2025154009
公報種別
公開特許公報(A)
公開日
2025-10-10
出願番号
2024056771
出願日
2024-03-29
発明の名称
粘着シートおよびフレキシブルデバイス
出願人
日東電工株式会社
代理人
弁理士法人青藍国際特許事務所
主分類
C09J
7/38 20180101AFI20251002BHJP(染料;ペイント;つや出し剤;天然樹脂;接着剤;他に分類されない組成物;他に分類されない材料の応用)
要約
【課題】優れた屈曲回復性と高い投錨力を両立できる粘着シートを提供する。また、このような粘着シートを備えるフレキシブルデバイスを提供する。
【解決手段】本発明の実施形態による粘着シートは、基材と粘着剤層を含む粘着シートであって、該粘着剤層の該基材側の表面に接触しているフィラーを含み、該粘着剤層は、アクリル系粘着剤組成物から形成されるアクリル系粘着剤から構成され、該アクリル系粘着剤組成物は、アクリル系ポリマー、アクリル系オリゴマー、および2種類以上の架橋剤を含む。
【選択図】図3
特許請求の範囲
【請求項1】
基材と粘着剤層を含む粘着シートであって、
該粘着剤層の該基材側の表面に接触しているフィラーを含み、
該粘着剤層は、アクリル系粘着剤組成物から形成されるアクリル系粘着剤から構成され、
該アクリル系粘着剤組成物は、アクリル系ポリマー、アクリル系オリゴマー、および2種類以上の架橋剤を含む、
粘着シート。
続きを表示(約 500 文字)
【請求項2】
前記粘着剤層の-20℃における貯蔵弾性率が140kPa未満である、請求項1に記載の粘着シート。
【請求項3】
前記2種類以上の架橋剤がエポキシ系架橋剤を含む、請求項1に記載の粘着シート。
【請求項4】
前記アクリル系ポリマー100重量部に対する前記エポキシ系架橋剤の含有量が0.05重量部以上である、請求項3に記載の粘着シート。
【請求項5】
前記アクリル系ポリマー100重量部に対する前記アクリル系オリゴマーの含有量が1重量部以上である、請求項1に記載の粘着シート。
【請求項6】
前記アクリル系オリゴマーがカルボキシル基含有アクリル系オリゴマーである、請求項1に記載の粘着シート。
【請求項7】
前記アクリル系ポリマーが水酸基含有アクリル系ポリマーである、請求項1に記載の粘着シート。
【請求項8】
前記基材の厚みが90μm以下である、請求項1に記載の粘着シート。
【請求項9】
請求項1から8までのいずれかに記載の粘着シートを備える、フレキシブルデバイス。
発明の詳細な説明
【技術分野】
【0001】
本発明は、粘着シートおよびフレキシブルデバイスに関する。
続きを表示(約 1,500 文字)
【背景技術】
【0002】
粘着シートは、様々な形状の部材の補強や表面保護等に用いられている。例えば、半導体素子の基板(例えば、TFT基板など)に集積回路(IC)やフレキシブルプリント回路基板(FPC)を接合する場合、通常、異方性導電フィルム(ACF)によって熱圧着を行う。このような熱圧着を行う際に、予め、半導体素子の基板の裏側に粘着シートを貼り合せて補強しておく場合がある(例えば、特許文献1)。
【0003】
従来の粘着シートにおいては、通常、基材(代表的にはPETフィルム)中に、ブロッキング防止等のためにフィラーが含まれている。
【0004】
ところが、基材中にフィラーが存在していると、粘着シートの製造工程における異物検査の検査性を低下させる。例えば、異物検査において合格品レベルである最大長さが1μm未満レベルの極微細異物のみが異物として存在している製品についても、フィラーを異物と認識してしまうことによって不合格品と判定してしまうことがあり、生産性が低下してしまう。
【0005】
最近、フィラーを含まない樹脂フィルムの表面に凹凸を有する薄い易接着層が設けられた高透明フィルムが知られている。このような高透明フィルムを基材として採用すると、基材中にフィラーを含んでいないので、上記のような検査性低下の問題が解消され得るとともに、表面の薄い易接着層の凹凸によって、ブロッキングの防止も担保され得る。
【0006】
他方、近年開発が進みつつあるフォルダブルデバイスやローラブルデバイス等のいわゆるフレキシブルデバイスの製造方法としては、一般的には、ガラス等の支持基板上に、剥離層とフレキシブルなフィルム基板を形成し、そのフィルム基板上にTFT基板、さらにその上に、有機EL層を形成する。その後、支持基板を剥離し、フレキシブルデバイスを製造する。ところが、フレキシブル表示層が非常に薄いため、取扱い等によってデバイスに不具合が生じる。このため、裏側に粘着シートを貼り合せて補強しておく場合がある(例えば、特許文献2)。
【0007】
半導体素子の基板やフレキシブルデバイスは、繰り返し屈曲される場合があり、基板等に貼り合せた粘着シートの屈曲特性が悪いと、屈曲後の回復性が悪化したり、最悪は繰り返し屈曲により破断してしまったりする場合がある。そこで、粘着シートに良好な屈曲性を持たせる手段として、該粘着シートが有する粘着剤として低い弾性率を有する粘着剤を用いることが考えられる。さらに、低温域の弾性率は常温域の弾性率よりも高いため、特に、低温域において低い弾性率を有する粘着剤を用いることが望まれる。
【先行技術文献】
【特許文献】
【0008】
特許第5600039号公報
特許第6376271号公報
【発明の概要】
【発明が解決しようとする課題】
【0009】
本発明らは、上記の背景技術に鑑み、前述のような高透明フィルムを基材として採用し、これに、低い弾性率を有する粘着剤から構成される粘着剤層を貼り合わせ、屈曲回復性に優れた粘着シートを作製しようと試みた。ところが、屈曲時に、フィルムと粘着剤層との間で剥がれが生じてしまうことが判明した。
【0010】
本発明の課題は、優れた屈曲回復性と高い投錨力を両立できる粘着シートを提供することにある。本発明の課題は、また、このような粘着シートを備えるフレキシブルデバイスを提供することにある。
【課題を解決するための手段】
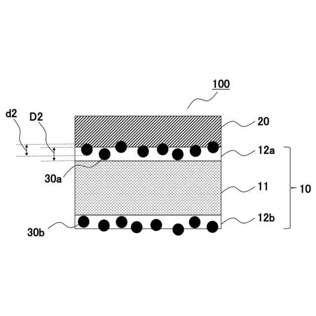
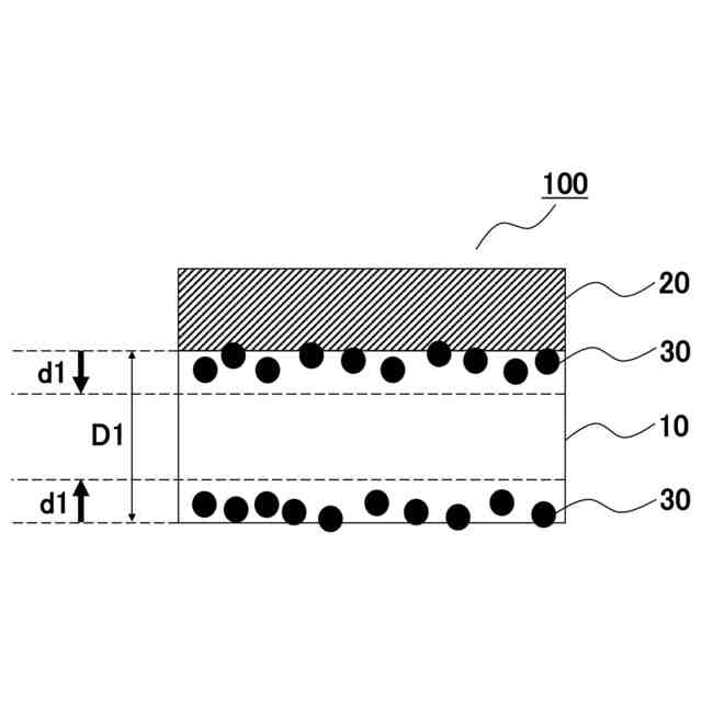
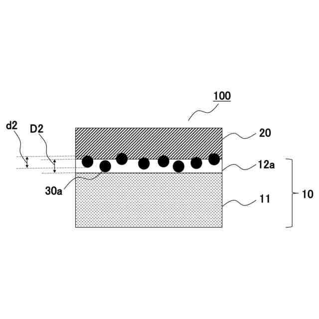
(【0011】以降は省略されています)
この特許をJ-PlatPat(特許庁公式サイト)で参照する
関連特許
日東電工株式会社
シート体
1か月前
日東電工株式会社
導光部材
1か月前
日東電工株式会社
ロボット
13日前
日東電工株式会社
光学積層体
1か月前
日東電工株式会社
粘着シート
20日前
日東電工株式会社
光学積層体
5日前
日東電工株式会社
光学積層体
5日前
日東電工株式会社
光学積層体
5日前
日東電工株式会社
粘着シート
1か月前
日東電工株式会社
粘着シート
1か月前
日東電工株式会社
補強フィルム
12日前
日東電工株式会社
配線回路基板
1か月前
日東電工株式会社
配線回路基板
1か月前
日東電工株式会社
パッチアンテナ
13日前
日東電工株式会社
パッチアンテナ
13日前
日東電工株式会社
ロール体の製造方法
20日前
日東電工株式会社
多孔質ポリマーシート
20日前
日東電工株式会社
分離機能層、及び分離膜
1か月前
日東電工株式会社
光半導体素子封止用シート
1か月前
日東電工株式会社
フレキシブル多層回路基板
20日前
日東電工株式会社
ポリマー粒子およびその利用
1か月前
日東電工株式会社
積層光学フィルムの製造方法
7日前
日東電工株式会社
情報カードおよびその製造方法
1か月前
日東電工株式会社
粘着シートおよび光半導体装置
20日前
日東電工株式会社
表面保護フィルムおよびその用途
12日前
日東電工株式会社
反射防止フィルム及びその製造方法
28日前
日東電工株式会社
ロール体およびロール体の製造方法
12日前
日東電工株式会社
ヒータモジュール、およびロボット
13日前
日東電工株式会社
表面保護フィルムおよび光学積層体
5日前
日東電工株式会社
積層光学フィルムおよび画像表示装置
1か月前
日東電工株式会社
積層光学フィルムおよび画像表示装置
1か月前
日東電工株式会社
生体信号取得用粘着性電極及び生体センサ
28日前
日東電工株式会社
検査システム、検査方法及び検査プログラム
1か月前
日東電工株式会社
配線回路基板、及び配線回路基板の製造方法
1か月前
日東電工株式会社
光電混載基板、光モジュール、および、電子機器
14日前
日東電工株式会社
配線回路基板、および、配線回路基板の製造方法
1か月前
続きを見る
他の特許を見る