TOP
|
特許
|
意匠
|
商標
特許ウォッチ
Twitter
他の特許を見る
公開番号
2025159984
公報種別
公開特許公報(A)
公開日
2025-10-22
出願番号
2024062905
出願日
2024-04-09
発明の名称
検査システム、検査方法及び検査プログラム
出願人
日東電工株式会社
,
国立大学法人宇都宮大学
代理人
個人
,
個人
主分類
G01N
21/892 20060101AFI20251015BHJP(測定;試験)
要約
【課題】λ/4波長部材の外観検査において、外観不良を顕在化した画像を提供する。
【解決手段】λ/4波長部材の外観を検査する検査システムであって、光を出射する光出射部と、前記光出射部により出射され、前記λ/4波長部材の遅相軸に対して、偏光角とのなす角度が45°または135°となる偏光部材を介して、前記λ/4波長部材に到達し、前記λ/4波長部材を透過した光であって、前記偏光部材の偏光角に対して0°の方向と90°の方向とに分離された光を受光する受光部と、前記受光部から出力される受光信号を用いて、ストークスパラメータを構成するs
1
を算出し、算出したストークスパラメータを構成するs
1
に基づいて画像を生成する画像生成部とを有する。
【選択図】図3
特許請求の範囲
【請求項1】
λ/4波長部材の外観を検査する検査システムであって、
光を出射する光出射部と、
前記光出射部により出射され、前記λ/4波長部材の遅相軸に対して、偏光角とのなす角度が45°または135°となる偏光部材を介して、前記λ/4波長部材に到達し、前記λ/4波長部材を透過した光であって、前記偏光部材の偏光角に対して0°の方向と90°の方向とに分離された光を受光する受光部と、
前記受光部から出力される受光信号を用いて、ストークスパラメータを構成するs
1
を算出し、算出したストークスパラメータを構成するs
1
に基づいて画像を生成する画像生成部と
を有する検査システム。
続きを表示(約 960 文字)
【請求項2】
前記画像生成部は、
前記受光部から出力される受光信号を用いて、ストークスパラメータを構成するs
0
を算出し、
前記ストークスパラメータを構成するs
1
を、前記ストークスパラメータを構成するs
0
で除算した値を用いて、前記画像を生成する、
請求項1に記載の検査システム。
【請求項3】
前記光出射部により出射される光の波長は、前記λ/4波長部材を透過した光の位相角に基づく波長である、請求項1に記載の検査システム。
【請求項4】
前記光出射部により出射される光の波長は、前記位相角が、少なくとも90°に対して5°から15°の角度範囲でずれる波長である、請求項3に記載の検査システム。
【請求項5】
前記画像生成部は、
前記受光部が、前記λ/4波長部材及び前記偏光部材を介することなく光を受光した場合に出力した受光信号を用いて、前記ストークスパラメータを構成するs
1
に基づいて生成した画像を補正する、
請求項1に記載の検査システム。
【請求項6】
前記偏光部材は、前記光出射部と、前記λ/4波長部材との間に配置され、前記光出射部により出射された光を偏光する、請求項1に記載の検査システム。
【請求項7】
前記λ/4波長部材には、前記偏光部材が積層されている、請求項1に記載の検査システム。
【請求項8】
前記λ/4波長部材は、枚葉部材又は長尺状部材である、請求項1に記載の検査システム。
【請求項9】
前記偏光部材が積層された前記λ/4波長部材を、検査位置に搬送する搬送部を更に有し、
前記搬送部は、前記偏光部材が積層された面が、前記光出射部に対向するように、前記偏光部材が積層された前記λ/4波長部材を搬送する、請求項7に記載の検査システム。
【請求項10】
前記λ/4波長部材の遅相軸は、前記搬送部が長尺状部材を搬送する際の搬送方向に対して45°または135°ずれている、請求項9に記載の検査システム。
(【請求項11】以降は省略されています)
発明の詳細な説明
【技術分野】
【0001】
本開示は、検査システム、検査方法及び検査プログラムに関する。
続きを表示(約 1,800 文字)
【背景技術】
【0002】
有機EL(Electro Luminescence)ディスプレイ等において外光反射防止用として使用される、λ/4波長板またはλ/4波長フィルム等のいわゆる"λ/4波長部材"は、現状、製造工程においてサンプル抽出された一部の部材に対して、検査員が目視で外観検査を行っている。
【0003】
これに対して、全数及び全面積の外観検査を行い、品質保証することが求められている。しかしながら、λ/4波長部材のように透明の部材の場合、外観不良を検知するのは容易ではなく、例えば、透過した光の偏光状態を解析する等の処理が必要である。
【先行技術文献】
【特許文献】
【0004】
特開2017-116294号公報
特開2007-263593号公報
【発明の概要】
【発明が解決しようとする課題】
【0005】
一方で、外観不良を検知しやすい偏光状態は、検査対象ごとに異なっており、λ/4波長部材の製造工程において発生する外観不良を検知するには、当該部材の当該外観不良に適した偏光状態を用いることが望まれる。また、λ/4波長部材の製造工程において発生する外観不良の態様(大きさ、形状、模様等)は様々であり、外観検査の際には、外観不良の態様が認識できるように顕在化した画像を提供することが望まれる。
【0006】
一つの側面では、λ/4波長部材の外観検査において、外観不良を顕在化した画像を提供することを目的としている。
【課題を解決するための手段】
【0007】
一態様によれば、検査システムは、
λ/4波長部材の外観を検査する検査システムであって、
光を出射する光出射部と、
前記光出射部により出射され、前記λ/4波長部材の遅相軸に対して、偏光角とのなす角度が45°または135°となる偏光部材を介して、前記λ/4波長部材に到達し、前記λ/4波長部材を透過した光であって、前記偏光部材の偏光角に対して0°の方向と90°の方向とに分離された光を受光する受光部と、
前記受光部から出力される受光信号を用いて、ストークスパラメータを構成するs
1
を算出し、算出したストークスパラメータを構成するs
1
に基づいて画像を生成する画像生成部とを有する。
【発明の効果】
【0008】
λ/4波長部材の外観検査において、外観不良を顕在化した画像を提供することができる。
【図面の簡単な説明】
【0009】
λ/4波長部材の外観不良を顕在化させる構成を検討するためのシステムの一例を示す第1の図である。
λ/4波長部材の外観不良を顕在化させる構成を検討するためのシステムの一例を示す第2の図である。
外観不良に対する顕在化処理の検討結果を示す第1の図である。
外観不良に対する顕在化処理の検討結果を示す第2の図である。
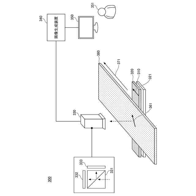
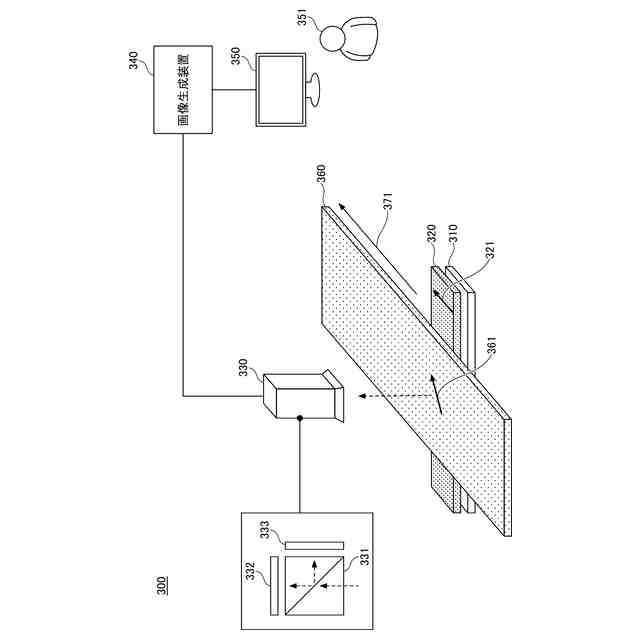
第1の実施形態に係る検査システムのシステム構成の一例を示す図である。
画像生成装置のハードウェア構成の一例を示す図である。
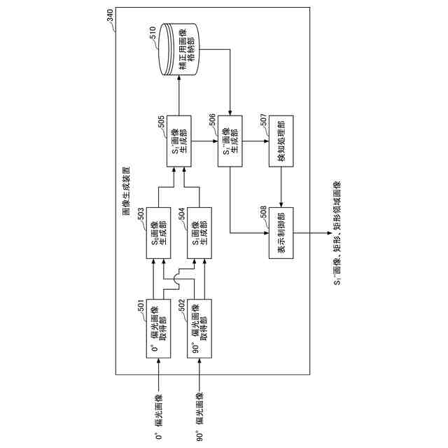
画像生成装置の機能構成の一例を示す図である。
画像生成装置によるS
1
'画像生成処理の詳細を示す図である。
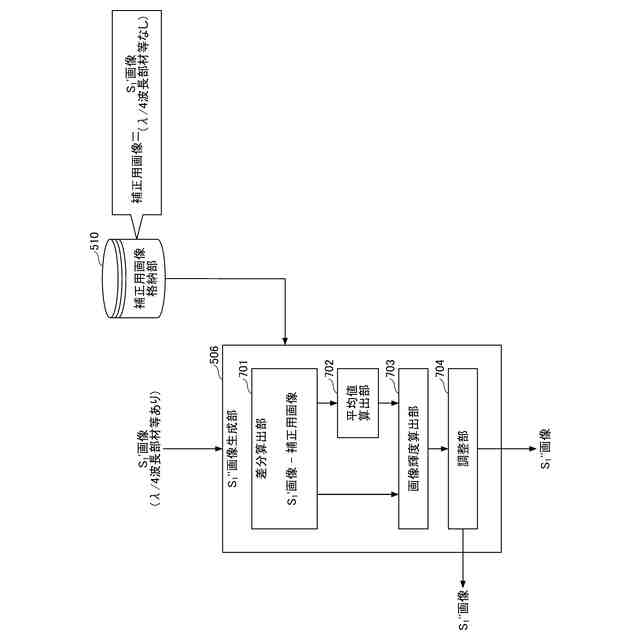
画像生成装置による感度補正処理の詳細を示す図である。
第1の実施形態に係る検査システムによる検査処理の流れを示すフローチャートである。
第2の実施形態に係る検査システムのシステム構成の一例を示す図である。
λ/4波長部材の外観不良を顕在化させる構成を検討するためのシステムの一例を示す第3の図である。
外観不良に対する顕在化処理の検討結果を示す第3の図である。
第4の実施形態に係る検査システムによる検査処理の流れを示すフローチャートである。
【発明を実施するための形態】
【0010】
以下、各実施形態について添付の図面を参照しながら説明する。なお、本明細書及び図面において、実質的に同一の機能構成を有する構成要素については、同一の符号を付することにより重複した説明を省略する。
(【0011】以降は省略されています)
特許ウォッチbot のツイートを見る
この特許をJ-PlatPat(特許庁公式サイト)で参照する
関連特許
日東電工株式会社
積層体
1か月前
日東電工株式会社
吸着材
1か月前
日東電工株式会社
照明装置
1か月前
日東電工株式会社
発光装置
1か月前
日東電工株式会社
導光部材
11日前
日東電工株式会社
シート体
1か月前
日東電工株式会社
電子装置
1か月前
日東電工株式会社
粘着シート
28日前
日東電工株式会社
光学積層体
13日前
日東電工株式会社
光ファイバ
1か月前
日東電工株式会社
粘着シート
1か月前
日東電工株式会社
粘着シート
1か月前
日東電工株式会社
光学積層体
2か月前
日東電工株式会社
粘着シート
25日前
日東電工株式会社
粘着剤組成物
1か月前
日東電工株式会社
スイッチ装置
1か月前
日東電工株式会社
配線回路基板
1か月前
日東電工株式会社
配線回路基板
11日前
日東電工株式会社
温度測定装置
1か月前
日東電工株式会社
スイッチ装置
1か月前
日東電工株式会社
粘着剤組成物
1か月前
日東電工株式会社
温度測定装置
1か月前
日東電工株式会社
調光フィルム
1か月前
日東電工株式会社
光学粘着シート
1か月前
日東電工株式会社
表面保護シート
1か月前
日東電工株式会社
光学粘着シート
1か月前
日東電工株式会社
光学粘着シート
1か月前
日東電工株式会社
反射防止フィルム
1か月前
日東電工株式会社
反射防止フィルム
1か月前
日東電工株式会社
ロール体の製造方法
1か月前
日東電工株式会社
光学積層体の製造方法
1か月前
日東電工株式会社
光学積層体の製造方法
1か月前
日東電工株式会社
導光体、及び照明装置
1か月前
日東電工株式会社
調光用導電性フィルム
2か月前
日東電工株式会社
分離機能層、及び分離膜
1か月前
日東電工株式会社
積層フィルムの製造方法
1か月前
続きを見る
他の特許を見る