TOP
|
特許
|
意匠
|
商標
特許ウォッチ
Twitter
他の特許を見る
10個以上の画像は省略されています。
公開番号
2025143892
公報種別
公開特許公報(A)
公開日
2025-10-02
出願番号
2024043389
出願日
2024-03-19
発明の名称
光学積層体の製造方法
出願人
日東電工株式会社
代理人
弁理士法人籾井特許事務所
主分類
G02B
5/30 20060101AFI20250925BHJP(光学)
要約
【課題】液晶配向固化層を含み、かつ、画像表示装置に適用された場合に特定の表示ムラを抑制し得る光学積層体の製造方法を提供すること。
【解決手段】本発明の実施形態による光学積層体の製造方法は、偏光板と第1液晶配向固化層および第2液晶配向固化層を含む位相差層とを有する光学積層体の製造方法である。上記製造方法は、偏光板と第1液晶配向固化層とを搬送しながら、偏光板と第1液晶配向固化層とが対向するようにして第1接着層を介して積層し、第1中間積層体を作製する、第1積層工程と;第1中間積層体と第2液晶配向固化層とを搬送しながら、第1液晶配向固化層と第2液晶配向固化層とが対向するようにして第2接着層を介して積層し、第2中間積層体を作製する、第2積層工程と;を含む。第2積層工程後の搬送張力が、700N超1500N未満である。
【選択図】図2A
特許請求の範囲
【請求項1】
偏光板と第1液晶配向固化層および第2液晶配向固化層を含む位相差層とを有する光学積層体の製造方法であって、
偏光板と第1液晶配向固化層とを搬送しながら、前記偏光板と前記第1液晶配向固化層とが対向するようにして第1接着層を介して積層し、第1中間積層体を作製する、第1積層工程と;
前記第1中間積層体と第2液晶配向固化層とを搬送しながら、前記第1液晶配向固化層と前記第2液晶配向固化層とが対向するようにして第2接着層を介して積層し、第2中間積層体を作製する、第2積層工程と;
を含み、
前記第2積層工程後の搬送張力が、700N超1500N未満である、
光学積層体の製造方法。
続きを表示(約 420 文字)
【請求項2】
前記第2積層工程後の搬送張力が、800N以上1350N以下である、請求項1に記載の光学積層体の製造方法。
【請求項3】
前記第2接着層が、活性エネルギー線硬化型接着剤で構成されている、請求項1に記載の光学積層体の製造方法。
【請求項4】
前記第2積層工程までの搬送張力が、100N以上400N以下である、請求項1に記載の光学積層体の製造方法。
【請求項5】
前記第1積層工程が、長尺状の前記偏光板と長尺状の前記第1液晶配向固化層とをロール搬送すること、および、該偏光板と該第1液晶配向固化層とを積層ロールにより積層することを含み、
前記第2積層工程が、長尺状の前記第1中間積層体と長尺状の前記第2液晶配向固化層とをロール搬送すること、および、該第1中間積層体と該第2液晶配向固化層とを積層ロールにより積層することを含む、請求項1に記載の光学積層体の製造方法。
発明の詳細な説明
【技術分野】
【0001】
本発明は、光学積層体の製造方法に関する。
続きを表示(約 3,500 文字)
【背景技術】
【0002】
近年、液晶表示装置およびエレクトロルミネセンス(EL)表示装置(例えば、有機EL表示装置、無機EL表示装置)に代表される画像表示装置が急速に普及している。画像表示装置には、多くの場合、位相差フィルムを含む光学積層体(例えば、偏光板と位相差フィルムとを一体化した反射防止フィルム)が用いられている。近年、画像表示装置の薄型化への要望が強くなるに伴って、光学積層体についても薄型化の要望が強まっている。光学積層体の薄型化を目的として、厚みに対する寄与の大きい位相差層(位相差フィルム)の薄型化が進んでいる。薄型の位相差フィルムの代表例としては、液晶化合物を配向させてその配向状態を固定したフィルム(以下、液晶フィルムと称する)が挙げられる。液晶化合物は樹脂に比べて複屈折(Δn)が格段に大きいので、液晶フィルムは、所望の面内位相差を得るための厚みを樹脂フィルムの延伸フィルムに比べて格段に小さくすることができる。しかし、液晶フィルムを含む光学積層体を用いた画像表示装置は、視認環境によっては、表示ムラ(具体的には、偏光子の吸収軸方向にピンクの色が特に目立つ細い線が視認される現象)が生じる場合がある。
【先行技術文献】
【特許文献】
【0003】
特開2014-222282号公報
【発明の概要】
【発明が解決しようとする課題】
【0004】
本発明は上記従来の課題を解決するためになされたものであり、その主たる目的は、液晶配向固化層を含み、かつ、画像表示装置に適用された場合に特定の表示ムラを抑制し得る光学積層体の製造方法を提供することにある。
【課題を解決するための手段】
【0005】
[1]本発明の実施形態による光学積層体の製造方法は、偏光板と第1液晶配向固化層および第2液晶配向固化層を含む位相差層とを有する光学積層体の製造方法であって、偏光板と第1液晶配向固化層とを搬送しながら、前記偏光板と前記第1液晶配向固化層とが対向するようにして第1接着層を介して積層し、第1中間積層体を作製する、第1積層工程と;前記第1中間積層体と第2液晶配向固化層とを搬送しながら、前記第1液晶配向固化層と前記第2液晶配向固化層とが対向するようにして第2接着層を介して積層し、第2中間積層体を作製する、第2積層工程と;を含み、前記第2積層工程後の搬送張力が、700N超1500N未満である。
[2]上記[1]において、前記第2積層工程後の搬送張力が、800N以上1350N以下である。
[3]上記[1]又は[2]において、前記第2接着層が、活性エネルギー線硬化型接着剤で構成されている。
[4]上記[1]から[3]のいずれかにおいて、前記第2積層工程までの搬送張力が、100N以上400N以下である。
[5]上記[1]から[4]のいずれかにおいて、前記第1積層工程が、長尺状の前記偏光板と長尺状の前記第1液晶配向固化層とをロール搬送すること、および、該偏光板と該第1液晶配向固化層とを積層ロールにより積層することを含み、前記第2積層工程が、長尺状の前記第1中間積層体と長尺状の前記第2液晶配向固化層とをロール搬送すること、および、該第1中間積層体と該第2液晶配向固化層とを積層ロールにより積層することを含む。
【発明の効果】
【0006】
本発明の実施形態によれば、液晶配向固化層を含み、かつ、画像表示装置に適用された場合に特定の表示ムラを抑制し得る光学積層体を実現することができる。
【図面の簡単な説明】
【0007】
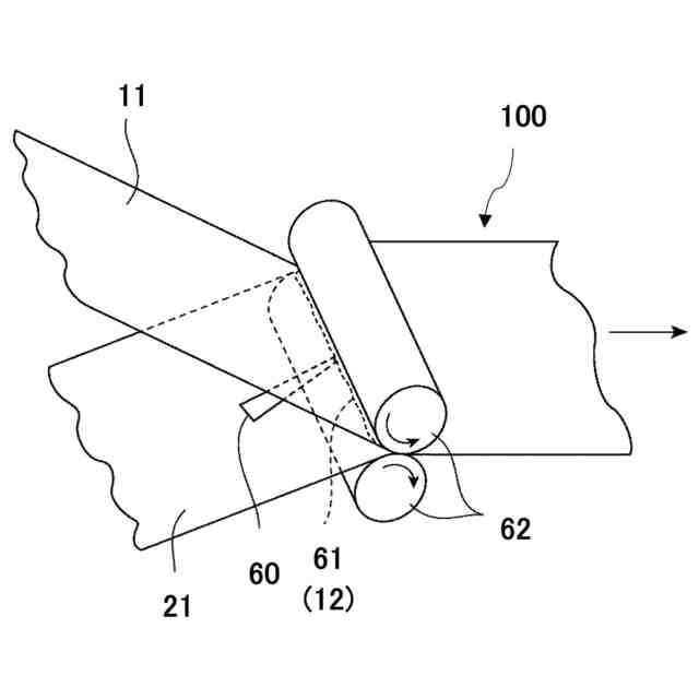
本発明の1つの実施形態による光学積層体の製造方法の第1積層工程の例を示す概略斜視図である。
本発明の1つの実施形態による光学積層体の製造方法の第1積層工程で用いられる偏光板の例を示す概略断面図である。
本発明の1つの実施形態による光学積層体の製造方法の第1積層工程で用いられる第1液晶配向固化層を含む積層体の例を示す概略断面図である。
本発明の1つの実施形態による光学積層体の製造方法の第1積層工程で作製される第1中間積層体の例を示す概略断面図である。
本発明の1つの実施形態による光学積層体の製造方法の第2積層工程の例を示す概略斜視図である。
本発明の1つの実施形態による光学積層体の製造方法の第2積層工程で用いられる第2液晶配向固化層を含む積層体の例を示す概略断面図である。
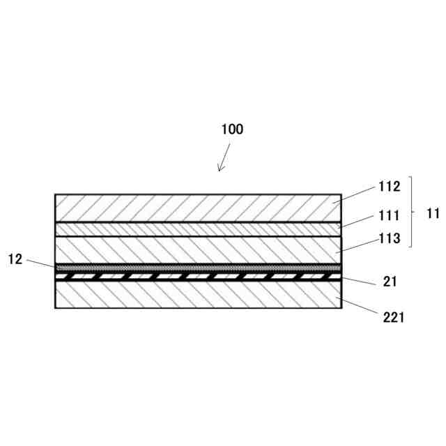
本発明の1つの実施形態による光学積層体の製造方法で製造される光学積層体の例を示す概略断面図である。
本発明の他の1つの実施形態による光学積層体の製造方法で製造される光学積層体の例を示す概略断面図である。
【発明を実施するための形態】
【0008】
以下、本発明の代表的な実施形態について説明するが、本発明はこれらの実施形態には限定されない。また、図面は説明をより明確にするため、実施の形態に比べ、各部の幅、厚さ、形状等について模式的に表される場合があるが、あくまで一例であって、本発明の解釈を限定するものではない。本明細書において、「Aおよび/またはB」とは、「A」、「B」、「AおよびB」のうちいずれかを意味する。
【0009】
(用語および記号の定義)
本明細書における用語および記号の定義は下記の通りである。
(1)屈折率(nx、ny、nz)
「nx」は面内の屈折率が最大になる方向(すなわち、遅相軸方向)の屈折率であり、「ny」は面内で遅相軸と直交する方向(すなわち、進相軸方向)の屈折率であり、「nz」は厚み方向の屈折率である。
(2)面内位相差(Re)
「Re(λ)」は、23℃における波長λnmの光で測定したフィルムの面内位相差である。例えば、「Re(550)」は、23℃における波長550nmの光で測定したフィルムの面内位相差である。Re(λ)は、フィルムの厚みをd(nm)としたとき、式:Re=(nx-ny)×dによって求められる。
(3)厚み方向の位相差(Rth)
「Rth(λ)」は、23℃における波長λnmの光で測定したフィルムの厚み方向の位相差である。例えば、「Rth(550)」は、23℃における波長550nmの光で測定したフィルムの厚み方向の位相差である。Rth(λ)は、フィルムの厚みをd(nm)としたとき、式:Rth=(nx-nz)×dによって求められる。
(4)Nz係数
Nz係数は、Nz=Rth/Reによって求められる。
(5)角度
本明細書において角度に言及するときは、特に明記しない限り、当該角度は時計回りおよび反時計回りの両方の方向の角度を包含する。したがって、例えば「45°」は±45°を包含する。
【0010】
A.光学積層体の製造方法および光学積層体の概略
本発明の実施形態による光学積層体の製造方法は、偏光板と第1液晶配向固化層および第2液晶配向固化層を含む位相差層とを有する光学積層体の製造方法である。上記製造方法は、偏光板と第1液晶配向固化層とを搬送しながら、偏光板と第1液晶配向固化層とが対向するようにして第1接着層を介して積層し、第1中間積層体を作製する、第1積層工程と;第1中間積層体と第2液晶配向固化層とを搬送しながら、第1液晶配向固化層と第2液晶配向固化層とが対向するようにして第2接着層を介して積層し、第2中間積層体を作製する、第2積層工程と;を含む。上記製造方法では、第2積層工程後の搬送張力が、700N超1500N未満である。
図3Aは、本発明の1つの実施形態による光学積層体の製造方法で作製され得る光学積層体の概略断面図である。図示例の光学積層体5は、偏光板11と位相差層40とを有する。偏光板11と位相差層40とは、第1接着層12(例えば、接着剤層、粘着剤層)を介して積層されている。偏光板11は、代表的には、偏光子111と、偏光子111の主面(図示例では主面の両側)に配置された保護層(第1保護層112および第2保護層113)と、を含む。目的に応じて、第1保護層112および/または第2保護層113は省略されてもよい。したがって、偏光板は、いわゆる両保護偏光板であってもよく、いわゆる片保護偏光板であってもよく、偏光子単独で構成されていてもよい。
(【0011】以降は省略されています)
この特許をJ-PlatPat(特許庁公式サイト)で参照する
関連特許
日東電工株式会社
配線回路基板
2日前
日東電工株式会社
配線回路基板、および、配線回路基板の製造方法
2日前
日東電工株式会社
ホログラムの製造装置、ホログラムの製造方法、及び導光板
2日前
日東電工株式会社
ホログラムの製造装置、ホログラムの製造方法、及び導光板
2日前
日東電工株式会社
ホログラムの製造装置、ホログラムの製造方法、及び導光板
2日前
日東電工株式会社
画像表示装置
2日前
日東電工株式会社
ホログラムの製造装置、ホログラムの製造方法、導光板及び透光板
2日前
日東電工株式会社
光電混載基板、光電変換モジュール、光通信デバイスおよび電子機器
2日前
日東電工株式会社
ホログラム基板の製造方法、ホログラム基板、レプリカホログラム基板の製造方法及び積層ホログラム素子の製造方法
2日前
個人
立体像表示装置
26日前
住友化学株式会社
偏光板
23日前
カンタツ株式会社
光学系
18日前
株式会社シグマ
結像光学系
12日前
株式会社シグマ
結像光学系
2日前
住友化学株式会社
垂直偏光板
23日前
東レ株式会社
貼合体の製造方法
26日前
東レ株式会社
赤外線遮蔽構成体
26日前
日本精機株式会社
ミラーユニット
11日前
古河電気工業株式会社
融着機
18日前
日本電気株式会社
光モジュール
12日前
日東電工株式会社
導光部材
2日前
日本電気株式会社
光集積回路素子
1か月前
個人
多方向視差効果のための微細穴加工
13日前
三菱電機株式会社
レンズモジュール
23日前
京セラ株式会社
光学系
10日前
日東電工株式会社
光学積層体
4日前
個人
眼鏡装着位置変更具および眼鏡
24日前
日本精機株式会社
ヘッドアップディスプレイ
5日前
AGC株式会社
インフィニティミラー
19日前
住友化学株式会社
偏光板
26日前
日東電工株式会社
調光フィルム
1か月前
住友化学株式会社
積層体
1か月前
日本精機株式会社
ヘッドアップディスプレイ
2日前
住友化学株式会社
偏光板
26日前
住友化学株式会社
偏光積層体
26日前
住友化学株式会社
光学積層体
26日前
続きを見る
他の特許を見る