TOP
|
特許
|
意匠
|
商標
特許ウォッチ
Twitter
他の特許を見る
公開番号
2025159628
公報種別
公開特許公報(A)
公開日
2025-10-21
出願番号
2024062349
出願日
2024-04-08
発明の名称
粘着シート
出願人
日東電工株式会社
代理人
弁理士法人籾井特許事務所
主分類
C09J
7/38 20180101AFI20251014BHJP(染料;ペイント;つや出し剤;天然樹脂;接着剤;他に分類されない組成物;他に分類されない材料の応用)
要約
【課題】熱膨張性微小球を含んで、加熱によるはく離性を発現し得る粘着シートであって、はく離時の被着体ダメージを低減でき、かつ、加熱はく離による基材変形が抑制された粘着シートを提供すること。
【解決手段】本発明の1つの実施形態による粘着シートは、基材と、該基材の少なくとも片側に配置された粘着剤層とを備え、レーザー光照射によりはく離可能であり、かつ、エキスパンド性を有する粘着シートであって、該粘着シートの0℃における貯蔵弾性率が、10MPa~500MPaであり、該粘着剤層が、熱膨張性微小球を含み、該粘着剤層中、熱膨張性微小球の体積充填率が、1%~28%である。
【選択図】図1
特許請求の範囲
【請求項1】
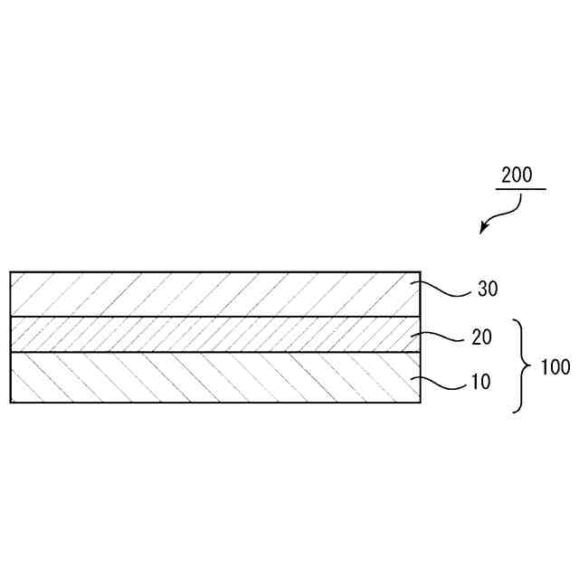
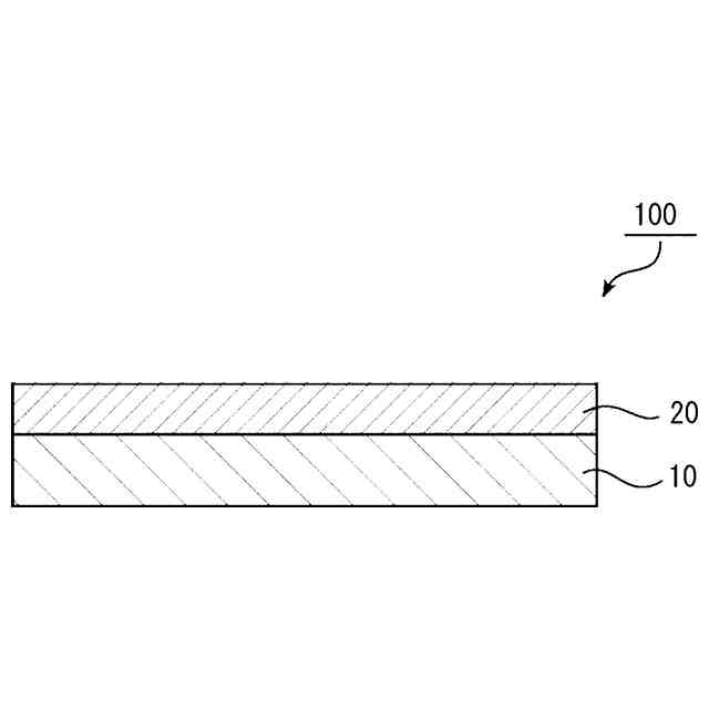
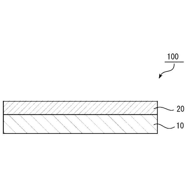
基材と、該基材の少なくとも片側に配置された粘着剤層とを備え、
レーザー光照射によりはく離可能であり、かつ、エキスパンド性を有する粘着シートであって、
該粘着シートの0℃における貯蔵弾性率が、10MPa~500MPaであり、
該粘着剤層が、熱膨張性微小球を含み、
該粘着剤層中、熱膨張性微小球の体積充填率が、1%~28%である、
粘着シート。
続きを表示(約 580 文字)
【請求項2】
25℃における破断伸度が、220%~2500%である、請求項1に記載の粘着シート。
【請求項3】
前記粘着剤層が、カーボンブラックを含む、請求項1に記載の粘着シート。
【請求項4】
前記粘着剤層の波長900nmにおける光吸収率が、20%~100%である、請求項1に記載の粘着シート。
【請求項5】
前記粘着剤層の25℃におけるナノインデンテーション法による押し込み硬さが、0.005MPa~0.4MPaである、請求項1に記載の粘着シート。
【請求項6】
前記粘着剤層が、活性エネルギー線硬化性を示さない、請求項1に記載の粘着シート。
【請求項7】
前記基材の厚みが、50μm~200μmである、請求項1に記載の粘着シート。
【請求項8】
前記基材が、ポリオレフィン系樹脂層から形成された層を含む、請求項1に記載の粘着シート。
【請求項9】
前記基材が、ポリオレフィン系樹脂層から形成された層と、エチレン-酢酸ビニル共重合系樹脂から形成された層とを含む多層構成である、請求項1に記載の粘着シート。
【請求項10】
ダイアタッチフィルムを被着体とする、請求項1に記載の粘着シート。
(【請求項11】以降は省略されています)
発明の詳細な説明
【技術分野】
【0001】
本発明は、粘着シートに関する。より詳細には、熱刺激に応答して、易はく離性を発現し得る粘着シートに関する。
続きを表示(約 2,400 文字)
【背景技術】
【0002】
従来より、電子部品等を加工する際に、被加工物を固定または仮固定するために粘着シートが用いられることがある。例えば、半導体チップ製造時、ステルスダイシング等により脆弱箇所が設けられた半導体ウエハをダイアタッチフィルムと共にクールエキスパンドにて割断して、隣り合う半導体チップの間隔を広げるエキスパンド工程における仮固定材として粘着シートが用いられることがある。このように用いられる粘着シートはエキスパンド性が求められ、したがって、粘着シートを構成する基材としては、エキスパンド性のある基材が一般的に用いられる。
【0003】
また、仮固定におけるはく離性発現方法としては、硬化により粘着性が低減する粘着剤層を形成する方法、熱膨張性微小球を含む粘着剤層を形成する方法等が挙げられる。
【0004】
硬化により粘着性が低減する粘着剤層を形成する方法においては、エキスパンド性を有する基材の耐熱性が乏しい傾向にあることを一因として、光硬化性を有する粘着剤層が形成されることが多い。一方、近年の半導体パッケージの小型化、薄化に伴い、半導体チップに対する機能層の比率が増加し、その結果、半導体チップは脆弱化傾向にある。このような半導体チップの仮固定に、光硬化性粘着シートを用いた場合には、はく離時に当該半導体チップが破壊するという問題が生じることがある。光硬化性粘着シートにおいては、はく離のきっかけがないため、基材側から半導体チップをブロック等で押し上げる必要があるからである。
【0005】
熱膨張性微小球を含む粘着剤層は、加熱によって熱膨張性微小球が発泡することにより、粘着面に凹凸が生じて、粘着力が低下または消失する。このような粘着剤層を備える粘着シートは、加熱による自然はく離が可能であるため、上記問題点を解決し得る。しかしながら、加熱時に基材が変形する;ダイシング後の複数の半導体チップを個別はく離する際に、基材の変形が、半導体チップの接触の要因となる、はく離を要さないチップにも力がかかりチップ割れが生じる、チップの水平が保たれずにダイボンダーによる吸着ができなくなる;加熱により半導体チップがダメージを受ける;等の問題が生じる。
【先行技術文献】
【特許文献】
【0006】
特開2003-201452号公報
【発明の概要】
【発明が解決しようとする課題】
【0007】
本発明は上記従来の課題を解決するためになされたものであり、その目的とするところは、熱膨張性微小球を含んで、加熱によるはく離性を発現し得る粘着シートであって、はく離時の被着体ダメージを低減でき、かつ、加熱はく離による基材変形が抑制され得る粘着シートを提供することにある。
【課題を解決するための手段】
【0008】
[1]本発明の1つの実施形態による粘着シートは、基材と、該基材の少なくとも片側に配置された粘着剤層とを備え、レーザー光照射によりはく離可能であり、かつ、エキスパンド性を有する粘着シートであって、該粘着シートの0℃における貯蔵弾性率が、10MPa~500MPaであり、該粘着剤層が、熱膨張性微小球を含み、該粘着剤層中、熱膨張性微小球の体積充填率が、1%~28%である。
[2]上記[1]に記載の粘着シートは、25℃における破断伸度が、220%~2500%であってもよい。
[3]上記[1]または[2]に記載の粘着シートにおいて、上記粘着剤層が、カーボンブラックを含んでいてもよい。
[4]上記[1]から[3]のいずれかに記載の粘着シートにおいて、上記粘着剤層の波長900nmにおける光吸収率が、20%~100%であってもよい。
[5]上記[1]から[4]のいずれかに記載の粘着シートにおいて、上記粘着剤層の25℃におけるナノインデンテーション法による押し込み硬さが、0.005MPa~0.4MPaであってもよい。
[6]上記[1]から[5]のいずれかに記載の粘着シートは、上記粘着剤層が、活性エネルギー線硬化性を示さないよう構成されていてもよい。
[7]上記[1]から[6]のいずれかに記載の粘着シートにおいて、上記基材の厚みが、50μm~200μmであってもよい。
[8]上記[1]から[7]のいずれかに記載の粘着シートにおいて、上記基材が、ポリオレフィン系樹脂層から形成された層を含んでいてもよい。
[9]上記[1]から[8]のいずれかに記載の粘着シートにおいて、上記基材が、ポリオレフィン系樹脂層から形成された層と、エチレン-酢酸ビニル共重合系樹脂から形成された層とを含む多層構成であってもよい。
[10]上記[1]から[9]のいずれかに記載の粘着シートは、ダイアタッチフィルムを被着体としてもよい。
[11]本発明の1つの実施形態による積層体は、上記[1]から[10]のいずれかに記載の粘着シートと、ダイアタッチフィルムとを備える。
[12]上記ダイアタッチフィルムを構成する樹脂の120℃における溶融粘度は、3000Pa・s~150000Pa・sであってもよい。
【発明の効果】
【0009】
本発明によれば、熱膨張性微小球を含んで、加熱によるはく離性を発現し得る粘着シートであって、はく離時の被着体ダメージを低減でき、かつ、加熱はく離による基材変形が抑制され得る粘着シートを提供することができる。
【図面の簡単な説明】
【0010】
本発明の1つの実施形態による粘着シートの概略断面図である。
本発明の1つの実施形態による積層体の概略断面図である。
【発明を実施するための形態】
(【0011】以降は省略されています)
この特許をJ-PlatPat(特許庁公式サイト)で参照する
関連特許
日東電工株式会社
導光部材
1か月前
日東電工株式会社
ロボット
12日前
日東電工株式会社
光学積層体
4日前
日東電工株式会社
光学積層体
1か月前
日東電工株式会社
光学積層体
4日前
日東電工株式会社
粘着シート
19日前
日東電工株式会社
光学積層体
4日前
日東電工株式会社
配線回路基板
1か月前
日東電工株式会社
補強フィルム
11日前
日東電工株式会社
パッチアンテナ
12日前
日東電工株式会社
パッチアンテナ
12日前
日東電工株式会社
ロール体の製造方法
19日前
日東電工株式会社
多孔質ポリマーシート
19日前
日東電工株式会社
フレキシブル多層回路基板
19日前
日東電工株式会社
積層光学フィルムの製造方法
6日前
日東電工株式会社
粘着シートおよび光半導体装置
19日前
日東電工株式会社
情報カードおよびその製造方法
1か月前
日東電工株式会社
表面保護フィルムおよびその用途
11日前
日東電工株式会社
ロール体およびロール体の製造方法
11日前
日東電工株式会社
反射防止フィルム及びその製造方法
27日前
日東電工株式会社
ヒータモジュール、およびロボット
12日前
日東電工株式会社
表面保護フィルムおよび光学積層体
4日前
日東電工株式会社
生体信号取得用粘着性電極及び生体センサ
27日前
日東電工株式会社
配線回路基板、および、配線回路基板の製造方法
1か月前
日東電工株式会社
光電混載基板、光モジュール、および、電子機器
13日前
日東電工株式会社
マイクロ波加熱装置及びマイクロ波加熱システム
1か月前
日東電工株式会社
ホログラムの製造装置、ホログラムの製造方法、及び導光板
1か月前
日東電工株式会社
ホログラムの製造装置、ホログラムの製造方法、及び導光板
1か月前
日東電工株式会社
ホログラムの製造装置、ホログラムの製造方法、及び導光板
1か月前
日東電工株式会社
画像表示装置
1か月前
日東電工株式会社
積層フィルム
25日前
日東電工株式会社
消音システム
21日前
日東電工株式会社
光学フィルム片
21日前
日東電工株式会社
ホログラムの製造装置、ホログラムの製造方法、導光板及び透光板
1か月前
日東電工株式会社
導電性糸状配線、生体情報測定装置及び導電性糸状配線の製造方法
1か月前
日東電工株式会社
光電混載基板、光電変換モジュール、光通信デバイスおよび電子機器
1か月前
続きを見る
他の特許を見る