TOP
|
特許
|
意匠
|
商標
特許ウォッチ
Twitter
他の特許を見る
10個以上の画像は省略されています。
公開番号
2025143891
公報種別
公開特許公報(A)
公開日
2025-10-02
出願番号
2024043388
出願日
2024-03-19
発明の名称
光学積層体の製造方法
出願人
日東電工株式会社
代理人
弁理士法人籾井特許事務所
主分類
G02B
5/30 20060101AFI20250925BHJP(光学)
要約
【課題】液晶配向固化層を含み、かつ、画像表示装置に適用された場合に特定の表示ムラを抑制し得る光学積層体の製造方法を提供すること。
【解決手段】本発明の実施形態による光学積層体の製造方法は、偏光板11および第1表面保護フィルム10を有する第1積層体と、第1液晶配向固化層21および第2表面保護フィルムを有する第2積層体とを偏光板11と第1液晶配向固化層21とが対向するようにして第1接着層12を介して積層し、第1中間積層体を作製する、第1積層工程と;第1中間積層体から第2表面保護フィルムを剥離し第2中間積層体とする工程と;第2中間積層体と、第2液晶配向固化層31および第3表面保護フィルム30とを有する第3積層体とを第1液晶配向固化層21と第2液晶配向固化層31とが対向するようにして第2接着層22を介して積層する、第2積層工程と;を含む。
【選択図】図1
特許請求の範囲
【請求項1】
偏光板と第1液晶配向固化層および第2液晶配向固化層を含む位相差層とを有する光学積層体の製造方法であって、
偏光板および第1表面保護フィルムを有する第1積層体と、第1液晶配向固化層および第2表面保護フィルムを有する第2積層体とを、前記偏光板と前記第1液晶配向固化層とが対向するようにして第1接着層を介して積層し、第1中間積層体を作製する、第1積層工程と;
前記第1中間積層体から前記第2表面保護フィルムを剥離し、第2中間積層体とする工程と;
前記第2中間積層体と、第2液晶配向固化層および第3表面保護フィルムとを有する第3積層体とを、前記第1液晶配向固化層と前記第2液晶配向固化層とが対向するようにして第2接着層を介して積層する、第2積層工程と;
を含み、
前記第1表面保護フィルム、前記第2表面保護フィルム、および、前記第3表面保護フィルムのうち少なくとも1つが、基材フィルムと粘着剤層とを備える、
光学積層体の製造方法。
続きを表示(約 710 文字)
【請求項2】
前記第2積層工程後に、前記第1表面保護フィルムおよび前記第3表面保護フィルムを剥離することを、更に含む、請求項1に記載の光学積層体の製造方法。
【請求項3】
前記第1接着層および前記第2接着層が、活性エネルギー線硬化型接着剤で構成されている、請求項1又は2に記載の光学積層体の製造方法。
【請求項4】
前記第1表面保護フィルム、前記第2表面保護フィルム、および、前記第3表面保護フィルムのうち少なくとも一つが、ポリエチレンテレフタレート系樹脂を含む、請求項1又は2に記載の光学積層体の製造方法。
【請求項5】
前記第1表面保護フィルム、前記第2表面保護フィルム、および、前記第3表面保護フィルムのうち少なくとも一つの厚みが、40μm以上である、請求項1又は2に記載の光学積層体。
【請求項6】
前記第1表面保護フィルム、前記第2表面保護フィルム、および、前記第3表面保護フィルムのうち少なくとも一つの90°剥離強度が、0.010N/15mm以上である、請求項1又は2に記載の光学積層体の製造方法。
【請求項7】
前記第1表面保護フィルム、前記第2表面保護フィルム、および、前記第3表面保護フィルムのうち少なくとも一つの曲がり角度が、45°未満である、請求項1又は2に記載の光学積層体の製造方法。
【請求項8】
前記第1表面保護フィルム、前記第2表面保護フィルム、および、前記第3表面保護フィルムのうち少なくとも一つの引張荷重が、20N以上50N以下である、請求項1又は2に記載の光学積層体の製造方法。
発明の詳細な説明
【技術分野】
【0001】
本発明は、光学積層体の製造方法に関する。
続きを表示(約 3,800 文字)
【背景技術】
【0002】
近年、液晶表示装置およびエレクトロルミネセンス(EL)表示装置(例えば、有機EL表示装置、無機EL表示装置)に代表される画像表示装置が急速に普及している。画像表示装置には、多くの場合、位相差フィルムを含む光学積層体(例えば、偏光板と位相差フィルムとを一体化した反射防止フィルム)が用いられている。近年、画像表示装置の薄型化への要望が強くなるに伴って、光学積層体についても薄型化の要望が強まっている。光学積層体の薄型化を目的として、厚みに対する寄与の大きい位相差層(位相差フィルム)の薄型化が進んでいる。薄型の位相差フィルムの代表例としては、液晶化合物を配向させてその配向状態を固定したフィルム(以下、液晶フィルムと称する)が挙げられる。液晶化合物は樹脂に比べて複屈折(Δn)が格段に大きいので、液晶フィルムは、所望の面内位相差を得るための厚みを樹脂フィルムの延伸フィルムに比べて格段に小さくすることができる。しかし、液晶フィルムを含む光学積層体を用いた画像表示装置は、視認環境によっては、表示ムラ(具体的には、偏光子の吸収軸方向にピンクの色が特に目立つ細い線が視認される現象)が生じる場合がある。
【先行技術文献】
【特許文献】
【0003】
特開2014-222282号公報
【発明の概要】
【発明が解決しようとする課題】
【0004】
本発明は上記従来の課題を解決するためになされたものであり、その主たる目的は、液晶配向固化層を含み、かつ、画像表示装置に適用された場合に特定の表示ムラを抑制し得る光学積層体の製造方法を提供することにある。
【課題を解決するための手段】
【0005】
[1]本発明の実施形態による光学積層体の製造方法は、偏光板と第1液晶配向固化層および第2液晶配向固化層を含む位相差層とを有する光学積層体の製造方法であって、偏光板および第1表面保護フィルムを有する第1積層体と、第1液晶配向固化層および第2表面保護フィルムを有する第2積層体とを、前記偏光板と前記第1液晶配向固化層とが対向するようにして第1接着層を介して積層し、第1中間積層体を作製する、第1積層工程と;前記第1中間積層体から前記第2表面保護フィルムを剥離し、第2中間積層体とする工程と;前記第2中間積層体と、第2液晶配向固化層および第3表面保護フィルムとを有する第3積層体とを、前記第1液晶配向固化層と前記第2液晶配向固化層とが対向するようにして第2接着層を介して積層する、第2積層工程と;を含む。前記第1表面保護フィルム、前記第2表面保護フィルム、および、前記第3表面保護フィルムのうち少なくとも1つが、基材フィルムと粘着剤層とを備える。
[2]上記[1]において、前記第2積層工程後に、前記第1表面保護フィルムおよび前記第3表面保護フィルムを剥離することを、更に含む。
[3]上記[1]又は[2]において、前記第1接着層および前記第2接着層は、活性エネルギー線硬化型接着剤で構成されている。
[4]上記[1]から[3]のいずれかにおいて、前記第1表面保護フィルム、前記第2表面保護フィルム、および、前記第3表面保護フィルムのうち少なくとも一つは、ポリエチレンテレフタレート系樹脂を含む。
[5]上記[1]から[4]のいずれかにおいて、前記第1表面保護フィルム、前記第2表面保護フィルム、および、前記第3表面保護フィルムのうち少なくとも一つの厚みは、40μm以上である。
[6]上記[1]から[5]のいずれかにおいて、前記第1表面保護フィルム、前記第2表面保護フィルム、および、前記第3表面保護フィルムのうち少なくとも一つの90°剥離強度は、0.010N/15mm以上である。
[7]上記[1]から[6]のいずれかにおいて、前記第1表面保護フィルム、前記第2表面保護フィルム、および、前記第3表面保護フィルムのうち少なくとも一つの曲がり角度は、45°未満である。
[8]上記[1]から[7]のいずれかにおいて、前記第1表面保護フィルム、前記第2表面保護フィルム、および、前記第3表面保護フィルムのうち少なくとも一つの引張荷重は、20N以上50N以下である。
【発明の効果】
【0006】
本発明の実施形態によれば、液晶配向固化層を含み、かつ、画像表示装置に適用された場合に特定の表示ムラを抑制し得る光学積層体を実現することができる。
【図面の簡単な説明】
【0007】
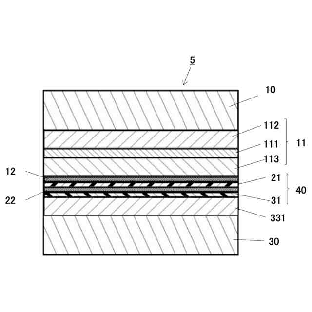
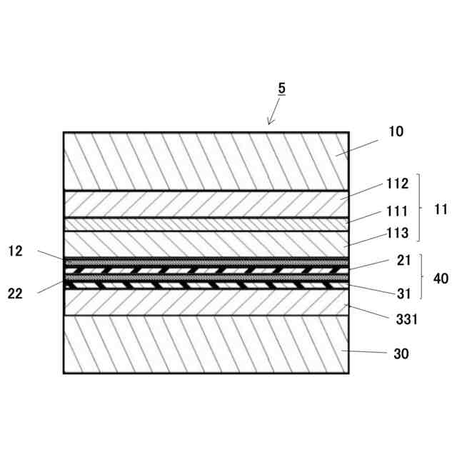
本発明の1つの実施形態による光学積層体の概略断面図である。
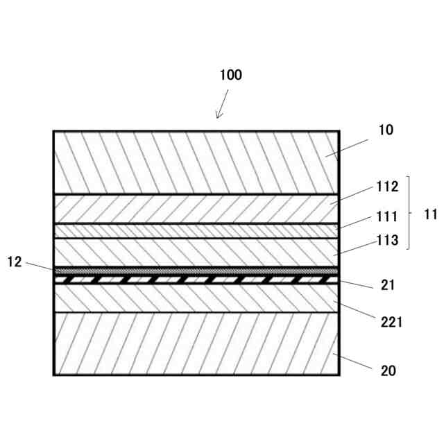
本発明の1つの実施形態による光学積層体の製造方法の1つの工程における第1積層体の例を示す概略断面図である。
本発明の1つの実施形態による光学積層体の製造方法の1つの工程における第2積層体の例を示す概略断面図である。
本発明の1つの実施形態による光学積層体の製造方法の1つの工程における第1中間積層体の例を示す概略断面図である。
本発明の1つの実施形態による光学積層体の製造方法の1つの工程における第2中間積層体の例を示す概略断面図である。
本発明の1つの実施形態による光学積層体の製造方法の1つの工程における第3積層体の例を示す概略断面図である。
本発明の1つの実施形態による光学積層体の製造方法で製造される光学積層体の例を示す概略断面図である。
図2Fに示す光学積層体から表面保護フィルムを剥離した光学積層体の例を示す概略断面図である。
【発明を実施するための形態】
【0008】
以下、本発明の代表的な実施形態について説明するが、本発明はこれらの実施形態には限定されない。また、図面は説明をより明確にするため、実施の形態に比べ、各部の幅、厚さ、形状等について模式的に表される場合があるが、あくまで一例であって、本発明の解釈を限定するものではない。本明細書において、「Aおよび/またはB」とは、「A」、「B」、「AおよびB」のうちいずれかを意味する。
【0009】
(用語および記号の定義)
本明細書における用語および記号の定義は下記の通りである。
(1)屈折率(nx、ny、nz)
「nx」は面内の屈折率が最大になる方向(すなわち、遅相軸方向)の屈折率であり、「ny」は面内で遅相軸と直交する方向(すなわち、進相軸方向)の屈折率であり、「nz」は厚み方向の屈折率である。
(2)面内位相差(Re)
「Re(λ)」は、23℃における波長λnmの光で測定したフィルムの面内位相差である。例えば、「Re(550)」は、23℃における波長550nmの光で測定したフィルムの面内位相差である。Re(λ)は、フィルムの厚みをd(nm)としたとき、式:Re=(nx-ny)×dによって求められる。
(3)厚み方向の位相差(Rth)
「Rth(λ)」は、23℃における波長λnmの光で測定したフィルムの厚み方向の位相差である。例えば、「Rth(550)」は、23℃における波長550nmの光で測定したフィルムの厚み方向の位相差である。Rth(λ)は、フィルムの厚みをd(nm)としたとき、式:Rth=(nx-nz)×dによって求められる。
(4)Nz係数
Nz係数は、Nz=Rth/Reによって求められる。
(5)角度
本明細書において角度に言及するときは、特に明記しない限り、当該角度は時計回りおよび反時計回りの両方の方向の角度を包含する。したがって、例えば「45°」は±45°を包含する。
【0010】
A.光学積層体の製造方法および光学積層体の概略
本発明の実施形態による製造方法では、偏光板と第1液晶配向固化層および第2液晶配向固化層を含む位相差層とを有する光学積層体が製造され得る。
図1は、本発明の1つの実施形態による光学積層体の製造方法で作製され得る光学積層体の概略断面図である。図示例の光学積層体5は、偏光板11と位相差層40とを有する。偏光板11と位相差層40とは、任意の適切な第1接着層12(例えば、接着剤層、粘着剤層)を介して積層されている。偏光板11は、代表的には、偏光子111と、偏光子111の主面(図示例では主面の両側)に配置された保護層(第1保護層112および第2保護層113)と、を含む。目的に応じて、第1保護層112および/または第2保護層113は省略されてもよい。したがって、偏光板は、いわゆる両保護偏光板であってもよく、いわゆる片保護偏光板であってもよく、偏光子単独で構成されていてもよい。図示例の光学積層体5では、最外層両側に、表面保護フィルム(第1表面保護フィルム10および第3表面保護フィルム30)が配置されているが、光学積層体において、表面保護フィルムは剥離されていてもよい。
(【0011】以降は省略されています)
この特許をJ-PlatPat(特許庁公式サイト)で参照する
関連特許
日東電工株式会社
積層体
1か月前
日東電工株式会社
ロボット
8日前
日東電工株式会社
導光部材
28日前
日東電工株式会社
照明装置
1か月前
日東電工株式会社
シート体
1か月前
日東電工株式会社
粘着シート
1か月前
日東電工株式会社
光学積層体
1か月前
日東電工株式会社
粘着シート
1か月前
日東電工株式会社
粘着シート
1か月前
日東電工株式会社
粘着シート
15日前
日東電工株式会社
光ファイバ
1か月前
日東電工株式会社
粘着シート
1か月前
日東電工株式会社
スイッチ装置
1か月前
日東電工株式会社
配線回路基板
1か月前
日東電工株式会社
調光フィルム
1か月前
日東電工株式会社
温度測定装置
1か月前
日東電工株式会社
配線回路基板
28日前
日東電工株式会社
温度測定装置
1か月前
日東電工株式会社
補強フィルム
7日前
日東電工株式会社
表面保護シート
1か月前
日東電工株式会社
パッチアンテナ
8日前
日東電工株式会社
パッチアンテナ
8日前
日東電工株式会社
ロール体の製造方法
15日前
日東電工株式会社
導光体、及び照明装置
1か月前
日東電工株式会社
多孔質ポリマーシート
15日前
日東電工株式会社
分離機能層、及び分離膜
1か月前
日東電工株式会社
積層フィルムの製造方法
1か月前
日東電工株式会社
分離機能層、及び分離膜
1か月前
日東電工株式会社
配線回路基板の製造方法
1か月前
日東電工株式会社
レンズ及び内視鏡用部材
1か月前
日東電工株式会社
積層フィルムの製造方法
1か月前
日東電工株式会社
フレキシブル多層回路基板
15日前
日東電工株式会社
高分子分散型液晶フィルム
1か月前
日東電工株式会社
光半導体素子封止用シート
1か月前
日東電工株式会社
積層光学部材及び光学装置
1か月前
日東電工株式会社
積層光学フィルムの製造方法
2日前
続きを見る
他の特許を見る