TOP
|
特許
|
意匠
|
商標
特許ウォッチ
Twitter
他の特許を見る
10個以上の画像は省略されています。
公開番号
2025153473
公報種別
公開特許公報(A)
公開日
2025-10-10
出願番号
2024055971
出願日
2024-03-29
発明の名称
積層光学部材及び光学装置
出願人
日東電工株式会社
代理人
個人
,
個人
主分類
G02B
5/08 20060101AFI20251002BHJP(光学)
要約
【課題】反射面に使用することができ、反射面における反射率に優れ、かつ迷光を防ぐことができる積層光学部材を提供すること。
【解決手段】光学素子と、屈折率が1.25以下の低屈折率層と、光源からの光を吸収する光吸収層と、をこの順で有する積層光学部材である。
【選択図】図1
特許請求の範囲
【請求項1】
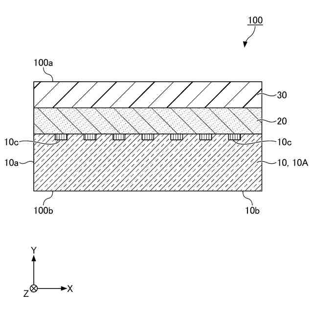
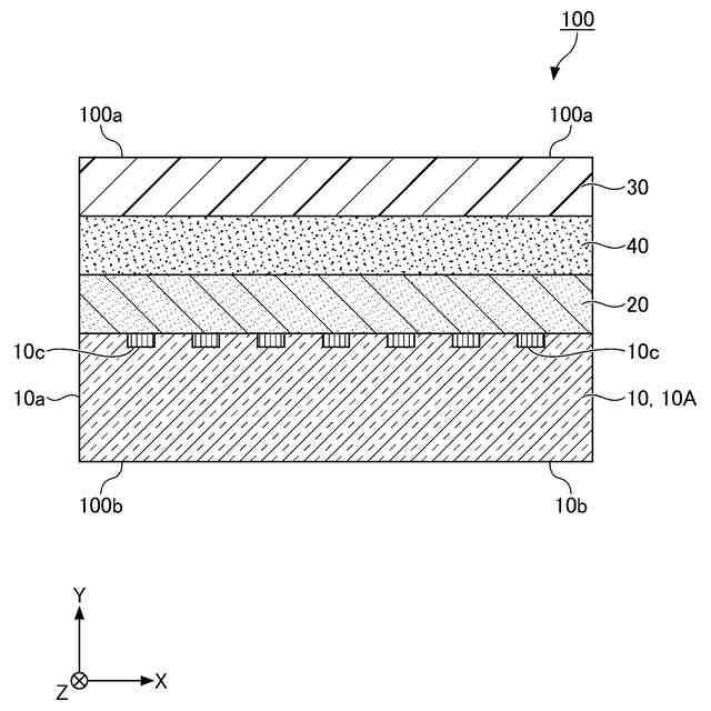
光学素子と、
屈折率が1.25以下の低屈折率層と、
光源からの光を吸収する光吸収層と、
をこの順で有することを特徴とする積層光学部材。
続きを表示(約 560 文字)
【請求項2】
前記光学素子が、導光板又はプリズムである、請求項1に記載の積層光学部材。
【請求項3】
前記光吸収層の吸収スペクトルが、380nm~2,500nmである、請求項1に記載の積層光学部材。
【請求項4】
前記低屈折率層が、内部に空隙を有する、請求項1に記載の積層光学部材。
【請求項5】
前記低屈折率層の空隙率が、前記低屈折率層の全体積に対して30体積%以上である、請求項4に記載の積層光学部材。
【請求項6】
前記低屈折率層の平均厚みが、0.1μm以上である、請求項1に記載の積層光学部材。
【請求項7】
光源からの光が入射する入射部と、前記光学素子に入射した光が出射する出射部と、を有し、
前記低屈折率層が、前記入射部から入射した光が前記光学素子の内部で反射する反射部に配され、
前記光吸収層が、前記低屈折率層の前記光学素子とは反対側の面に配される、請求項1に記載の積層光学部材。
【請求項8】
撮像装置用である、請求項1に記載の積層光学部材。
【請求項9】
複数のレンズと、イメージセンサと、請求項1から8のいずれかに記載の積層光学部材と、を有することを特徴とする光学装置。
発明の詳細な説明
【技術分野】
【0001】
本開示は、積層光学部材及び光学装置に関する。
続きを表示(約 1,100 文字)
【背景技術】
【0002】
望遠カメラモジュールは一般に焦点距離が比較的長く、遠くの景色や被写体の撮影に最適である。近年、スマートフォン、タブレット、パッド、ウェアラブルデバイス等の小型電子機器において、超望遠カメラモジュールの搭載が望まれている。
【0003】
超望遠を実現するためには、一般に光路長を長くする必要がある。しかしながら、小型電子機器においては、長い光路長とするためのスペースの確保が困難である。そのため、ペリスコープレンズと呼ばれる折り曲げ式光学系を利用して光路長を長くし、且つ電子機器の厚みを薄くして小型化することが行われている(例えば、特許文献1参照)。
【0004】
ペリスコープレンズは、プリズム等の光学素子を用いて光を90°屈折させることで、レンズとイメージセンサとを水平ではなく直角に配置可能にし、スマートフォンのような薄い電子機器でも、高倍率の光学ズームを可能にすることができる。
【0005】
しかし、光学素子の内部で光を全反射させるためには、光学素子の反射面に光反射層を配置することが必要である。光学素子の反射面に光反射層を配置するためには、一般に光学素子と光反射層との間に接着剤層を配して貼合する。しかし、接着剤層に光が透過することで、光学素子の反射面における全反射率が低くなるという問題がある。
【0006】
一方、光学部材において、導光板と反射板とを、低屈折率層を介して積層することで、光の利用効率を向上させることが提案されている(特許文献2参照)。
【先行技術文献】
【特許文献】
【0007】
米国特許第11762174号
特許第7425857号
【発明の概要】
【発明が解決しようとする課題】
【0008】
本開示は、従来における前記諸問題を解決し、反射面に使用することができ、反射面における反射率に優れ、かつ迷光を防ぐことができる積層光学部材を提供することを目的とする。
【課題を解決するための手段】
【0009】
本開示は、光学素子と、折率が1.25以下の低屈折率層と、光源からの光を吸収する光吸収層と、をこの順で有することを特徴とする積層光学部材である。
【発明の効果】
【0010】
本開示によると、従来における前記諸問題を解決し、反射面に使用することができ、反射面における反射率に優れ、かつ迷光を防ぐことができる積層光学部材を提供することができる。
【図面の簡単な説明】
(【0011】以降は省略されています)
この特許をJ-PlatPat(特許庁公式サイト)で参照する
関連特許
日東電工株式会社
吸着材
9日前
日東電工株式会社
積層体
3日前
日東電工株式会社
電子装置
5日前
日東電工株式会社
照明装置
2日前
日東電工株式会社
発光装置
10日前
日東電工株式会社
光学積層体
24日前
日東電工株式会社
光ファイバ
4日前
日東電工株式会社
粘着シート
2日前
日東電工株式会社
光学積層体
1か月前
日東電工株式会社
粘着シート
2日前
日東電工株式会社
スイッチ装置
10日前
日東電工株式会社
スイッチ装置
2日前
日東電工株式会社
粘着剤組成物
4日前
日東電工株式会社
偏光フィルム
1か月前
日東電工株式会社
温度測定装置
4日前
日東電工株式会社
温度測定装置
4日前
日東電工株式会社
調光フィルム
3日前
日東電工株式会社
粘着剤組成物
4日前
日東電工株式会社
光学粘着シート
11日前
日東電工株式会社
光学粘着シート
11日前
日東電工株式会社
光学粘着シート
11日前
日東電工株式会社
反射防止フィルム
9日前
日東電工株式会社
反射防止フィルム
9日前
日東電工株式会社
ロール体の製造方法
13日前
日東電工株式会社
調光用導電性フィルム
23日前
日東電工株式会社
光学積層体の製造方法
10日前
日東電工株式会社
光学積層体の製造方法
10日前
日東電工株式会社
導光体、及び照明装置
2日前
日東電工株式会社
配線回路基板の製造方法
2日前
日東電工株式会社
レンズ及び内視鏡用部材
2日前
日東電工株式会社
ウレア化合物の製造方法
17日前
日東電工株式会社
積層フィルムの製造方法
3日前
日東電工株式会社
積層フィルムの製造方法
3日前
日東電工株式会社
延伸フィルムの製造方法
23日前
日東電工株式会社
延伸フィルムの製造方法
23日前
日東電工株式会社
分離機能層、及び分離膜
2日前
続きを見る
他の特許を見る