TOP
|
特許
|
意匠
|
商標
特許ウォッチ
Twitter
他の特許を見る
公開番号
2025171380
公報種別
公開特許公報(A)
公開日
2025-11-20
出願番号
2024076651
出願日
2024-05-09
発明の名称
粘着シート
出願人
日東電工株式会社
代理人
弁理士法人G-chemical
主分類
C09J
7/10 20180101AFI20251113BHJP(染料;ペイント;つや出し剤;天然樹脂;接着剤;他に分類されない組成物;他に分類されない材料の応用)
要約
【課題】被着体に貼り合わせて折り曲げた際、折り曲げ部に折れ跡が生じにくい粘着シートを提供する。
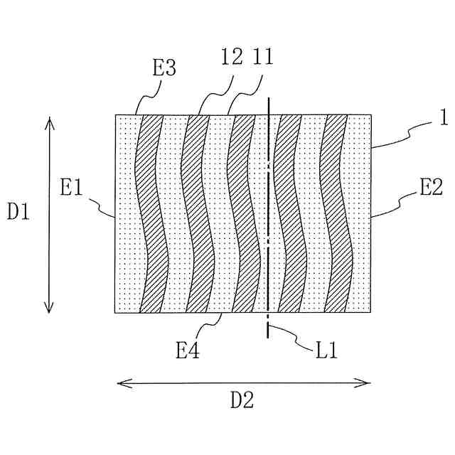
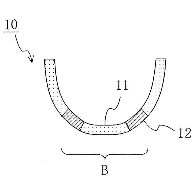
【解決手段】粘着シート10は粘着剤層1を少なくとも備える。粘着剤層1は、同一面1a内に、それぞれ、一本の線状である、第一領域11と第二領域12とを有する。第一領域11と第二領域12とは平行であり、第一領域11と第二領域12とは物性が異なる。第一領域11と第二領域12とは、硬さが異なることが好ましい。第一領域11および第二領域12は、それぞれ、一本の直線状であってもよい。
【選択図】図1
特許請求の範囲
【請求項1】
同一面内に、一本の線状である第一領域と、前記第一領域に平行し且つ一本の線状である第二領域とを有する粘着剤層を備え、
前記第一領域と前記第二領域とは物性が異なる、粘着シート。
続きを表示(約 760 文字)
【請求項2】
前記物性は硬さである請求項1に記載の粘着シート。
【請求項3】
前記硬さは、引張強さ、弾性率、ヤング率、破断点伸度、破断点応力、表面硬さ、膨潤度、ゲル分率、ナノインデンテーション法により測定される硬さ、および残存応力からなる群より選択される1以上である、請求項1または2に記載の粘着シート。
【請求項4】
前記第一領域および前記第二領域は、それぞれ、一本の直線状である、請求項1または2に記載の粘着シート。
【請求項5】
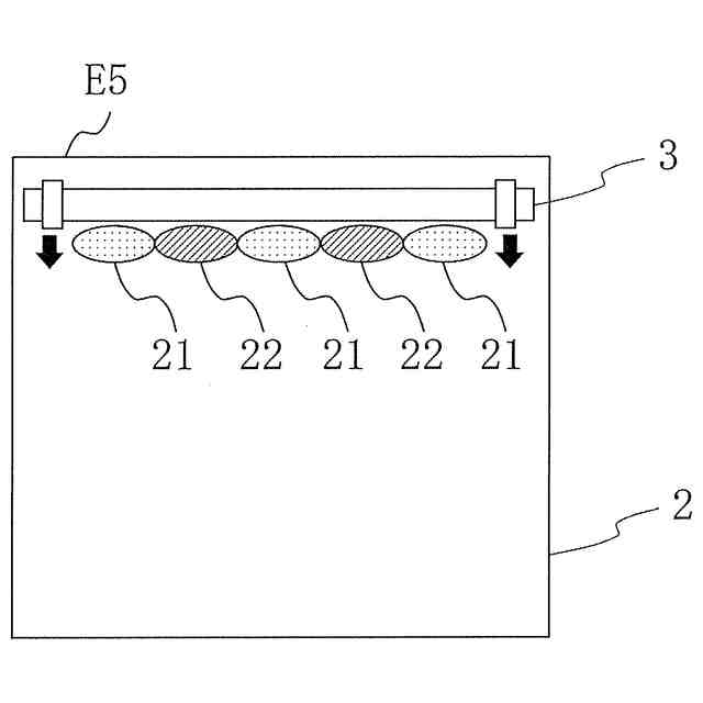
前記粘着剤層において、前記第一領域および前記第二領域は前記粘着剤層の一方向に交互に有する、請求項1または2に記載の粘着シート。
【請求項6】
前記第一領域および前記第二領域は、粘着剤層の厚さ方向に対して垂直方向の一端側から他端側に延びる、請求項1または2に記載の粘着シート。
【請求項7】
折り曲げ可能な被着体に貼り合わせて使用され、前記第一領域は前記被着体の折り曲げ部に対応する領域に含まれ、前記第二領域は前記第一領域の両側に隣接し、前記第一領域の硬さは前記第二領域の硬さよりも硬い、請求項2に記載の粘着シート。
【請求項8】
前記第一領域の硬さは前記第二領域の硬さよりも硬く、
前記粘着剤層において、前記第一領域および前記第二領域は前記粘着剤層の一方向に交互に隣接して位置し、前記一方向の中央から±1mmの範囲内に前記第一領域がある、請求項2に記載の粘着シート。
【請求項9】
光学部材に貼り合わせて使用される、請求項1または2に記載の粘着シート。
【請求項10】
折り曲げ可能な被着体に貼り合わせて使用される、請求項9に記載の粘着シート。
発明の詳細な説明
【技術分野】
【0001】
本発明は、粘着シートに関する。
続きを表示(約 1,100 文字)
【背景技術】
【0002】
ディスプレイ等の光学デバイスの中でも、OLEDに代表される薄型、可撓性ディスプレイは、複数の光学用フィルムや薄層デバイスが積層された状態で構成される。また、感圧センサなどの可撓性を要求されるデバイスは、感圧部材と基板が積層された状態で構成される(特許文献1)。これらの積層体における層間充填剤には、液状硬化樹脂や粘着剤、接着剤が選択され、作業性の向上、硬化収縮による反り、応力分散による可撓性の向上などの観点から、粘着剤や接着剤(粘着剤等)が好ましく用いられている。
【0003】
上記粘着剤等は、特に可撓性部材において、折り曲げ・折り畳みで生じる応力を分散・緩和する機能を担い、該機能は粘着剤等が柔軟であるほど効率的に発現されるとされ(特許文献2)、柔軟な粘着剤等が使用される。
【先行技術文献】
【特許文献】
【0004】
特開2012-159463号公報
特開2020-109177号公報
【発明の概要】
【発明が解決しようとする課題】
【0005】
しかしながら、柔軟な粘着剤層を備える粘着シートを用いて被着体同士を貼り合わせた積層体は、折り曲げた際に、被着体の曲げ応力を粘着剤層が保持できず、積層体の折り曲げ部が凹み、折れ跡(クレーズ)が発生するという問題があった。
【0006】
本発明はこのような課題を解決するためのものであって、その目的は、被着体に貼り合わせて折り曲げた際、折り曲げ部に折れ跡が生じにくい粘着シートを提供することにある。
【課題を解決するための手段】
【0007】
本発明者らは、上記課題を解決するため、鋭意努力した結果、特定の粘着シートによれば、被着体に貼り合わせて折り曲げた際、折り曲げ部に折れ跡が生じにくいことを見出した。本発明は、これらの知見に基づいて完成されたものである。
【0008】
すなわち、本発明は、同一面内に、一本の線状である第一領域と、上記第一領域に平行し且つ一本の線状である第二領域とを有する粘着剤層を備え、
上記第一領域と上記第二領域とは物性が異なる、粘着シートを提供する。
【0009】
上記物性は硬さであることが好ましい。
【0010】
上記硬さは、引張強さ、弾性率、ヤング率、破断点伸度、破断点応力、表面硬さ、膨潤度、ゲル分率、ナノインデンテーション法により測定される硬さ、および残存応力からなる群より選択される1以上であることが好ましい。
(【0011】以降は省略されています)
この特許をJ-PlatPat(特許庁公式サイト)で参照する
関連特許
日東電工株式会社
導光部材
1か月前
日東電工株式会社
ロボット
14日前
日東電工株式会社
光学積層体
1か月前
日東電工株式会社
光学積層体
6日前
日東電工株式会社
粘着シート
21日前
日東電工株式会社
粘着シート
1か月前
日東電工株式会社
光学積層体
6日前
日東電工株式会社
粘着シート
1か月前
日東電工株式会社
光学積層体
6日前
日東電工株式会社
配線回路基板
1か月前
日東電工株式会社
配線回路基板
1か月前
日東電工株式会社
補強フィルム
13日前
日東電工株式会社
パッチアンテナ
14日前
日東電工株式会社
パッチアンテナ
14日前
日東電工株式会社
ロール体の製造方法
21日前
日東電工株式会社
多孔質ポリマーシート
21日前
日東電工株式会社
分離機能層、及び分離膜
1か月前
日東電工株式会社
光半導体素子封止用シート
1か月前
日東電工株式会社
フレキシブル多層回路基板
21日前
日東電工株式会社
積層光学フィルムの製造方法
8日前
日東電工株式会社
ポリマー粒子およびその利用
1か月前
日東電工株式会社
情報カードおよびその製造方法
1か月前
日東電工株式会社
粘着シートおよび光半導体装置
21日前
日東電工株式会社
表面保護フィルムおよびその用途
13日前
日東電工株式会社
表面保護フィルムおよび光学積層体
6日前
日東電工株式会社
ロール体およびロール体の製造方法
13日前
日東電工株式会社
ヒータモジュール、およびロボット
14日前
日東電工株式会社
反射防止フィルム及びその製造方法
29日前
日東電工株式会社
積層光学フィルムおよび画像表示装置
1か月前
日東電工株式会社
積層光学フィルムおよび画像表示装置
1か月前
日東電工株式会社
生体信号取得用粘着性電極及び生体センサ
29日前
日東電工株式会社
検査システム、検査方法及び検査プログラム
1か月前
日東電工株式会社
配線回路基板、及び配線回路基板の製造方法
1か月前
日東電工株式会社
水素ガスセンサ及び水素ガスセンサの製造方法
今日
日東電工株式会社
光半導体素子封止用シートおよび光半導体装置
今日
日東電工株式会社
光学積層体、画像表示パネル及び画像表示装置
今日
続きを見る
他の特許を見る