TOP
|
特許
|
意匠
|
商標
特許ウォッチ
Twitter
他の特許を見る
公開番号
2025177452
公報種別
公開特許公報(A)
公開日
2025-12-05
出願番号
2024084304
出願日
2024-05-23
発明の名称
表面保護フィルムおよび光学積層体
出願人
日東電工株式会社
代理人
弁理士法人籾井特許事務所
主分類
B32B
27/00 20060101AFI20251128BHJP(積層体)
要約
【課題】表面保護フィルムとしての十分な強度を有し、かつ、凹凸表面を有する被着体に仮着した場合であっても、気泡の発生が抑制された表面保護フィルムを提供すること。
【解決手段】本発明の実施形態による表面保護フィルムは、第1の基材フィルムと;第1の粘着剤層を介して第1の基材フィルムに貼り合わせられた第2の基材フィルムと;第2の基材フィルムの第1の粘着剤層と反対側に設けられた、表面保護フィルムを被着体に剥離可能に仮着するための第2の粘着剤層と;を有する。第2の粘着剤層の押し込み硬さは1.00MPa以下であり、第2の粘着剤層を平面に載置された粒子径60μmの粒子上に配置したときに発生する気泡の幅は、2.7mm以下である。さらに、表面保護フィルムの落ち込み量は52mm以下である。
【選択図】図1
特許請求の範囲
【請求項1】
表面保護フィルムであって、
第1の基材フィルムと;第1の粘着剤層を介して該第1の基材フィルムに貼り合わせられた第2の基材フィルムと;該第2の基材フィルムの該第1の粘着剤層と反対側に設けられた、該表面保護フィルムを被着体に剥離可能に仮着するための第2の粘着剤層と;を有し、
該第2の粘着剤層の押し込み硬さが1.00MPa以下であり、
該第2の粘着剤層を平面に載置された粒子径60μmの粒子上に配置したときに発生する気泡の幅が、2.7mm以下であり、
該表面保護フィルムの落ち込み量が52mm以下である、
表面保護フィルム。
続きを表示(約 950 文字)
【請求項2】
前記第1の粘着剤層と前記第1の基材フィルムまたは前記第2の基材フィルムとの間の剥離力のうち小さい方の剥離力が、前記第2の粘着剤層と被着体との間の剥離力よりも大きい、請求項1に記載の表面保護フィルム。
【請求項3】
前記第1の粘着剤層と前記第1の基材フィルムまたは前記第2の基材フィルムとの間の剥離力のうち小さい方の剥離力と、前記第2の粘着剤層と被着体との間の剥離力と、の差が、1.0N/25mm以上である、請求項2に記載の表面保護フィルム。
【請求項4】
前記第2の粘着剤層がオキシアルキレン基含有化合物を含む、請求項1に記載の表面保護フィルム。
【請求項5】
前記第2の粘着剤層が帯電防止剤を含む、請求項4に記載の表面保護フィルム。
【請求項6】
偏光子を含む偏光板と、該偏光板の一方の側に配置されたアンチグレア層と、を有する光学フィルムと;
該光学フィルムの該アンチグレア層に、前記第2の粘着剤層を介して剥離可能に仮着された、請求項1から5のいずれかに記載の表面保護フィルムと;
を有し、
該光学フィルムと該表面保護フィルムとの間のせん断力が、4.0N/cm
2
以上である、
光学積層体。
【請求項7】
前記偏光子が非偏光部を含み、前記アンチグレア層が非アンチグレア部を含み、該非偏光部および該非アンチグレア部が対応する位置に設けられている、請求項6に記載の光学積層体。
【請求項8】
前記アンチグレア層の前記偏光板と反対側に反射防止層をさらに有し、該反射防止層に、前記第2の粘着剤層を介して前記表面保護フィルムが剥離可能に仮着されている、請求項6に記載の光学積層体。
【請求項9】
前記反射防止層のヘイズが1.0%未満であり、前記アンチグレア層のヘイズが5.0%以上である、請求項8に記載の光学積層体。
【請求項10】
前記反射防止層の前記アンチグレア層と反対側に防汚層をさらに有し、該防汚層に、前記第2の粘着剤層を介して前記表面保護フィルムが剥離可能に仮着されている、請求項9に記載の光学積層体。
発明の詳細な説明
【技術分野】
【0001】
本発明は、表面保護フィルムおよび光学積層体に関する。
続きを表示(約 3,200 文字)
【背景技術】
【0002】
近年、液晶表示装置およびエレクトロルミネセンス(EL)表示装置(例えば、有機EL表示装置、無機EL表示装置)に代表される画像表示装置が急速に普及している。画像表示装置には、目的および所望の特性に応じて各種の光学フィルムが用いられている。ところで、実用的には、光学フィルムの製造工程、検査工程および輸送等において、光学フィルムには表面保護フィルムが剥離可能に仮着され、当該表面保護フィルムにより光学フィルムをキズ、汚れ等から保護する場合が多い。しかし、光学フィルムの種類および構成によっては、表面保護フィルムを仮着した場合に気泡が発生する場合がある。この場合、光学フィルムの検査において、光学フィルム自体に不具合がないにもかかわらず、不良品として認識されるという問題が発生し得る。
【先行技術文献】
【特許文献】
【0003】
特開2020-38254号公報
【発明の概要】
【発明が解決しようとする課題】
【0004】
本発明の主たる目的は、表面保護フィルムとしての十分な強度を有し、かつ、凹凸表面を有する被着体に仮着した場合であっても、気泡の発生が抑制された表面保護フィルムを提供することにある。
【課題を解決するための手段】
【0005】
[1]本発明の実施形態によれば、表面保護フィルムが提供される。該表面保護フィルムは、第1の基材フィルムと;第1の粘着剤層を介して該第1の基材フィルムに貼り合わせられた第2の基材フィルムと;該第2の基材フィルムの該第1の粘着剤層と反対側に設けられた、該表面保護フィルムを被着体に剥離可能に仮着するための第2の粘着剤層と;を有する。該第2の粘着剤層の押し込み硬さは1.00MPa以下であり、該第2の粘着剤層を平面に載置された粒子径60μmの粒子上に配置したときに発生する気泡の幅は、2.7mm以下である。さらに、該表面保護フィルムの落ち込み量は52mm以下である。
[2]上記[1]において、上記第1の粘着剤層と上記第1の基材フィルムまたは上記第2の基材フィルムとの間の剥離力のうち小さい方の剥離力は、上記第2の粘着剤層と被着体との間の剥離力よりも大きい。
[3]上記[2]において、上記第1の粘着剤層と上記第1の基材フィルムまたは上記第2の基材フィルムとの間の剥離力のうち小さい方の剥離力と、上記第2の粘着剤層と被着体との間の剥離力と、の差は、1.0N/25mm以上である。
[4]上記[1]から[3]のいずれかにおいて、上記第2の粘着剤層はオキシアルキレン基含有化合物を含む。
[5]上記[1]から[4]のいずれかにおいて、上記第2の粘着剤層は帯電防止剤を含む。
[6]本発明の別の局面によれば、光学積層体が提供される。該光学積層体は、偏光子を含む偏光板と、該偏光板の一方の側に配置されたアンチグレア層と、を有する光学フィルムと;該光学フィルムの該アンチグレア層に、上記第2の粘着剤層を介して剥離可能に仮着された、上記[1]から[5]のいずれかの表面保護フィルムと;を有する。該光学積層体において、該光学フィルムと該表面保護フィルムとの間のせん断力は、4.0N/cm
2
以上である。
[7]上記[6]において、上記偏光子は非偏光部を含み、上記アンチグレア層は非アンチグレア部を含み、該非偏光部および該非アンチグレア部は対応する位置に設けられている。
[8]上記[6]または[7]において、上記光学積層体は、上記アンチグレア層の上記偏光板と反対側に反射防止層をさらに有し、該反射防止層に、上記第2の粘着剤層を介して上記表面保護フィルムが剥離可能に仮着されている。
[9]上記[8]において、上記反射防止層のヘイズは1.0%未満であり、上記アンチグレア層のヘイズは5.0%以上である。
[10]上記[8]または[9]において、上記光学積層体は、上記反射防止層の上記アンチグレア層と反対側に防汚層をさらに有し、該防汚層に、上記第2の粘着剤層を介して上記表面保護フィルムが剥離可能に仮着されている。
【発明の効果】
【0006】
本発明の実施形態によれば、表面保護フィルムとしての十分な強度を有し、かつ、凹凸表面を有する被着体に仮着した場合であっても、気泡の発生が抑制された表面保護フィルムを実現することができる。
【図面の簡単な説明】
【0007】
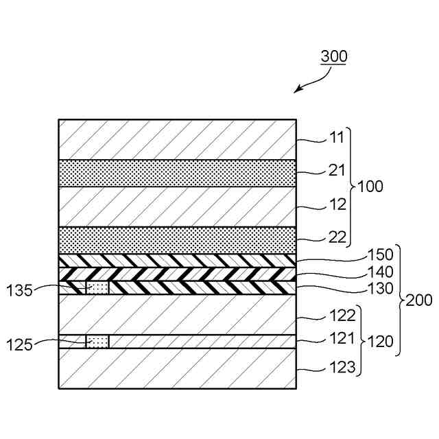
本発明の1つの実施形態による表面保護フィルムの概略断面図である。
本発明の1つの実施形態による光学積層体の概略断面図である。
【発明を実施するための形態】
【0008】
以下、図面を参照して本発明の代表的な実施形態を説明するが、本発明はこれらの実施形態には限定されない。なお、見やすくかつ理解を容易にするために、図面は模式的に描かれており、長さ、幅、厚み、比率等は実際の形状を反映したものではなく、また、図面間で正確に対応しているものではない。
【0009】
A.表面保護フィルム
A-1.表面保護フィルムの概要
図1は、本発明の1つの実施形態による表面保護フィルムの概略断面図である。図示例の表面保護フィルム100は、第1の基材フィルム11と、第1の粘着剤層21と、第2の基材フィルム12と、第2の粘着剤層22と、を有する。第2の基材フィルム12は、第1の粘着剤層21を介して第1の基材フィルム11に貼り合わせられている。第2の粘着剤層22は、第2の基材フィルム12の第1の粘着剤層21と反対側に設けられ、表面保護フィルム100を被着体(代表的には、光学フィルム)に剥離可能に仮着する構成としている。このように、本発明の実施形態によれば、表面保護フィルムは、2つの基材フィルムと2つの粘着剤層とを有する。このような構成であれば、後述するように、落ち込み量、ならびに、表面保護フィルムと被着体(代表的には、光学フィルム)との間のせん断力を所望の範囲とすることができる。その結果、後述するように第2の粘着剤層の押し込み硬さと段差追従性とを最適化することにより、表面保護フィルムとしての十分な強度を有し、かつ、凹凸表面を有する被着体に仮着した場合であっても、気泡の発生が抑制された表面保護フィルムを実現することができる。
【0010】
本発明の実施形態においては、第2の粘着剤層の押し込み硬さは、1.00MPa以下であり、好ましくは0.74MPa以下であり、より好ましくは0.50MPa以下であり、さらに好ましくは0.35MPa以下であり、特に好ましくは0.25MPa以下であり、とりわけ好ましくは0.10MPa以下である。第2の粘着剤層の押し込み硬さは、例えば0.02MPa以上であり得、また例えば0.04MPa以上であり得る。さらに、本発明の実施形態においては、第2の粘着剤層を平面に載置された粒子径60μmの粒子上に配置したときに発生する気泡の幅は、2.7mm以下であり、好ましくは2.6mm以下であり、より好ましくは2.5mm以下であり、さらに好ましくは2.4mm以下である。気泡の幅は小さいほど好ましく、その下限は、例えば0.1mmであり得、また例えば0.5mmであり得る。第2の粘着剤層(すなわち、表面保護フィルムを被着体に仮着するための粘着剤層)がこのような構成であれば、被着体が凹凸表面を有する場合であっても、気泡の発生が抑制され得る。気泡の幅は、粘着剤層の段差追従性(凹凸追従性)の指標である。なお、押し込み硬さおよび気泡の幅の測定方法については、実施例で説明する。
(【0011】以降は省略されています)
この特許をJ-PlatPat(特許庁公式サイト)で参照する
関連特許
日東電工株式会社
吸着材
2か月前
日東電工株式会社
積層体
2か月前
日東電工株式会社
ロボット
11日前
日東電工株式会社
導光部材
1か月前
日東電工株式会社
発光装置
2か月前
日東電工株式会社
照明装置
1か月前
日東電工株式会社
シート体
1か月前
日東電工株式会社
電子装置
2か月前
日東電工株式会社
光学積層体
3日前
日東電工株式会社
光学積層体
3日前
日東電工株式会社
粘着シート
18日前
日東電工株式会社
粘着シート
1か月前
日東電工株式会社
粘着シート
1か月前
日東電工株式会社
光学積層体
1か月前
日東電工株式会社
光学積層体
2か月前
日東電工株式会社
粘着シート
1か月前
日東電工株式会社
光学積層体
3日前
日東電工株式会社
光ファイバ
2か月前
日東電工株式会社
粘着シート
1か月前
日東電工株式会社
スイッチ装置
2か月前
日東電工株式会社
粘着剤組成物
2か月前
日東電工株式会社
温度測定装置
2か月前
日東電工株式会社
配線回路基板
1か月前
日東電工株式会社
粘着剤組成物
2か月前
日東電工株式会社
温度測定装置
2か月前
日東電工株式会社
調光フィルム
2か月前
日東電工株式会社
補強フィルム
10日前
日東電工株式会社
偏光フィルム
2か月前
日東電工株式会社
配線回路基板
1か月前
日東電工株式会社
スイッチ装置
1か月前
日東電工株式会社
パッチアンテナ
11日前
日東電工株式会社
光学粘着シート
2か月前
日東電工株式会社
光学粘着シート
2か月前
日東電工株式会社
表面保護シート
1か月前
日東電工株式会社
光学粘着シート
2か月前
日東電工株式会社
パッチアンテナ
11日前
続きを見る
他の特許を見る