TOP
|
特許
|
意匠
|
商標
特許ウォッチ
Twitter
他の特許を見る
公開番号
2025172991
公報種別
公開特許公報(A)
公開日
2025-11-27
出願番号
2022156762
出願日
2022-09-29
発明の名称
ロボット
出願人
日東電工株式会社
代理人
個人
,
個人
主分類
A63H
11/00 20060101AFI20251119BHJP(スポーツ;ゲーム;娯楽)
要約
【課題】ロボットにユーザが接触した際に、所定温度になっているロボットを提供すること。
【解決手段】本発明の一態様に係るロボットは、ユーザに接触可能なロボットであって、前記ロボットに対して前記ユーザが接近したことに関する情報を出力する第1検出部と、前記ロボットの表面温度を可変する可変部と、前記第1検出部が取得した情報に基づき、前記ロボットの表面温度が所定温度になるように、前記可変部の動作を制御する制御部と、を有する。
【選択図】図1
特許請求の範囲
【請求項1】
ユーザに接触可能なロボットであって、
前記ロボットに対して前記ユーザが接近したことに関する情報を取得する第1検出部と、
前記ロボットの表面温度を可変する可変部と、
前記第1検出部が取得した前記情報に基づき、前記ロボットの表面温度が所定温度になるように、前記可変部の動作を制御する制御部と、を有する、ロボット。
続きを表示(約 600 文字)
【請求項2】
前記制御部は、前記ロボットに対して前記ユーザが接近したことに関する情報が前記第1検出部から出力された場合に、前記可変部に前記ロボットの表面温度を可変する動作を開始させる、請求項1に記載のロボット。
【請求項3】
前記ユーザの表面温度に関する情報を取得する第2検出部をさらに有し、
前記制御部は、前記第2検出部が取得した前記情報にさらに基づき、前記可変部の動作を制御する、請求項1に記載のロボット。
【請求項4】
前記第2検出部は、非接触温度計を含む、請求項3に記載のロボット。
【請求項5】
前記所定温度は、前記ユーザの温受容器を刺激する温度を含む、請求項1または請求項2に記載のロボット。
【請求項6】
前記所定温度は、32℃以上43℃以下である、請求項1または請求項2に記載のロボット。
【請求項7】
前記制御部は、前記可変部により、前記ロボットにおける腹部、背中部、腋部、頭部および臀部の少なくとも1つの表面温度を制御する、請求項1または請求項2に記載のロボット。
【請求項8】
前記第1検出部は、前記ロボットに対して前記ユーザが接近したことに関する情報を取得するとともに、前記ユーザの表面温度に関する情報を取得する、請求項1または請求項2に記載のロボット。
発明の詳細な説明
【技術分野】
【0001】
本発明は、ロボットに関する。
続きを表示(約 1,100 文字)
【背景技術】
【0002】
従来から、ユーザに癒しを与えるために、ユーザと触れ合うことができるロボットが知られている(例えば、特許文献1参照)。
【0003】
また、ロボットに温もりを与えてユーザの愛情を引き出すために、フレームと、フレームを覆う表皮と、流体を加熱する熱源と、フレームに囲まれる空間を加圧する加圧部と、を備え、空間が加圧されることにより空間から流出した流体により、表皮内側に流体層を形成するものが開示されている(例えば、特許文献2参照)。
【先行技術文献】
【特許文献】
【0004】
国際公開第2017/169826号
特許第6519560号公報
【発明の概要】
【発明が解決しようとする課題】
【0005】
しかしながら、特許文献2に記載のロボットでは、ロボットにユーザが接触した際に、ロボットの表面温度が、ユーザに癒しを付与可能な温度等の所定温度になっていない場合がある。
【0006】
本発明は、ロボットにユーザが接触した際に、所定温度になっているロボットを提供することを目的とする。
【課題を解決するための手段】
【0007】
本発明の一態様に係るロボットは、ユーザに接触可能なロボットであって、前記ロボットに対して前記ユーザが接近したことに関する情報を取得する第1検出部と、前記ロボットの表面温度を可変する可変部と、前記第1検出部が取得した情報に基づき、前記ロボットの表面温度が所定温度になるように、前記可変部の動作を制御する制御部と、を有する。
【発明の効果】
【0008】
本発明によれば、ロボットにユーザが接触した際に、所定温度になっているロボットを提供できる。
【図面の簡単な説明】
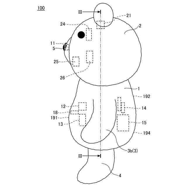
【0009】
実施形態に係るロボットを例示する斜視図である。
図1のロボットの側面図である。
図2におけるIII-III切断線に沿う断面図である。
実施形態に係るカメラの構成を例示する図である。
実施形態に係るバイタルセンサの構成を例示する図である。
実施形態に係る制御部のハードウェア構成を例示するブロック図である。
実施形態に係る制御部の機能構成を例示するブロック図である。
実施形態に係る制御部による処理を例示するフローチャートである。
【発明を実施するための形態】
【0010】
以下、図面を参照して本開示の実施形態について詳細に説明する。各図面において、同一構成要素には同一符号を付与し、重複した説明を適宜省略する。
(【0011】以降は省略されています)
この特許をJ-PlatPat(特許庁公式サイト)で参照する
関連特許
日東電工株式会社
積層体
1か月前
日東電工株式会社
吸着材
1か月前
日東電工株式会社
電子装置
1か月前
日東電工株式会社
シート体
1か月前
日東電工株式会社
ロボット
今日
日東電工株式会社
導光部材
20日前
日東電工株式会社
発光装置
1か月前
日東電工株式会社
照明装置
1か月前
日東電工株式会社
光ファイバ
1か月前
日東電工株式会社
光学積層体
22日前
日東電工株式会社
粘着シート
1か月前
日東電工株式会社
粘着シート
1か月前
日東電工株式会社
粘着シート
7日前
日東電工株式会社
粘着シート
1か月前
日東電工株式会社
粘着シート
1か月前
日東電工株式会社
粘着剤組成物
1か月前
日東電工株式会社
スイッチ装置
1か月前
日東電工株式会社
温度測定装置
1か月前
日東電工株式会社
温度測定装置
1か月前
日東電工株式会社
配線回路基板
1か月前
日東電工株式会社
粘着剤組成物
1か月前
日東電工株式会社
調光フィルム
1か月前
日東電工株式会社
配線回路基板
20日前
日東電工株式会社
スイッチ装置
1か月前
日東電工株式会社
光学粘着シート
1か月前
日東電工株式会社
パッチアンテナ
今日
日東電工株式会社
表面保護シート
1か月前
日東電工株式会社
光学粘着シート
1か月前
日東電工株式会社
光学粘着シート
1か月前
日東電工株式会社
パッチアンテナ
今日
日東電工株式会社
反射防止フィルム
1か月前
日東電工株式会社
反射防止フィルム
1か月前
日東電工株式会社
ロール体の製造方法
7日前
日東電工株式会社
ロール体の製造方法
1か月前
日東電工株式会社
光学積層体の製造方法
1か月前
日東電工株式会社
多孔質ポリマーシート
7日前
続きを見る
他の特許を見る