TOP
|
特許
|
意匠
|
商標
特許ウォッチ
Twitter
他の特許を見る
公開番号
2025153470
公報種別
公開特許公報(A)
公開日
2025-10-10
出願番号
2024055967
出願日
2024-03-29
発明の名称
スイッチ装置
出願人
日東電工株式会社
代理人
個人
,
個人
主分類
H01H
13/14 20060101AFI20251002BHJP(基本的電気素子)
要約
【課題】ガラス層の存在感を向上したスイッチ装置を提供する。
【解決手段】本スイッチ装置は、ガラス層と、前記ガラス層の下面側に配置されたクリア層と、前記クリア層の下面側に配置された印刷フィルムと、前記印刷フィルムの下面側に配置されたスイッチと、を有し、前記ガラス層の厚さは、20μm以上150μm以下であり、前記クリア層の厚さは、600μm以上1500μm以下であり、前記ガラス層が押されると、前記ガラス層、前記クリア層、及び前記印刷フィルムが弾性変形して前記スイッチの導通と非導通とが切り替わる。
【選択図】図1
特許請求の範囲
【請求項1】
ガラス層と、
前記ガラス層の下面側に配置されたクリア層と、
前記クリア層の下面側に配置された印刷フィルムと、
前記印刷フィルムの下面側に配置されたスイッチと、を有し、
前記ガラス層の厚さは、20μm以上150μm以下であり、
前記クリア層の厚さは、600μm以上1500μm以下であり、
前記ガラス層が押されると、前記ガラス層、前記クリア層、及び前記印刷フィルムが弾性変形して前記スイッチの導通と非導通とが切り替わる、スイッチ装置。
続きを表示(約 380 文字)
【請求項2】
前記クリア層は、透明粘着層を含む、請求項1に記載のスイッチ装置。
【請求項3】
前記クリア層は、透明樹脂層と、透明粘着層との積層構造であり、
前記透明樹脂層は、前記ガラス層側に配置される、請求項2に記載のスイッチ装置。
【請求項4】
前記透明粘着層は、前記透明樹脂層よりも厚い、請求項3に記載のスイッチ装置。
【請求項5】
前記透明粘着層の厚さは、前記透明樹脂層の厚さの5倍以上である、請求項4に記載のスイッチ装置。
【請求項6】
前記透明樹脂層の厚さは、50μm以上150μm以下である請求項3に記載のスイッチ装置。
【請求項7】
前記ガラス層の厚さは、50μm以上100μm以下である、請求項1乃至6のいずれか一項に記載のスイッチ装置。
発明の詳細な説明
【技術分野】
【0001】
本発明は、スイッチ装置に関する。
続きを表示(約 1,100 文字)
【背景技術】
【0002】
ガラス層と、ガラス層の下面側に配置されたスイッチと、を有し、ガラス層の厚さは20μm以上150μm以下であり、スイッチは上下に可動する接点を含む複数の接点を備え、ガラス層が押されるとガラス層が弾性変形して複数の接点の導通と非導通とが切り替わるスイッチ装置が知られている。このようなスイッチ装置では、ガラス層を弾性変形されるために、厚さを100μm程度に薄くする必要がある。その結果、ガラス層の存在感が低下し、奥行き感に乏しくなる。
【先行技術文献】
【特許文献】
【0003】
特開2022-166480号公報
【発明の概要】
【発明が解決しようとする課題】
【0004】
本発明は、ガラス層の存在感を向上したスイッチ装置の提供を目的とする。
【課題を解決するための手段】
【0005】
本開示の一実施形態に係るスイッチ装置は、ガラス層と、前記ガラス層の下面側に配置されたクリア層と、前記クリア層の下面側に配置された印刷フィルムと、前記印刷フィルムの下面側に配置されたスイッチと、を有し、前記ガラス層の厚さは、20μm以上150μm以下であり、前記クリア層の厚さは、600μm以上1500μm以下であり、前記ガラス層が押されると、前記ガラス層、前記クリア層、及び前記印刷フィルムが弾性変形して前記スイッチの導通と非導通とが切り替わる。
【発明の効果】
【0006】
開示の技術によれば、ガラス層の存在感を向上したスイッチ装置を提供できる。
【図面の簡単な説明】
【0007】
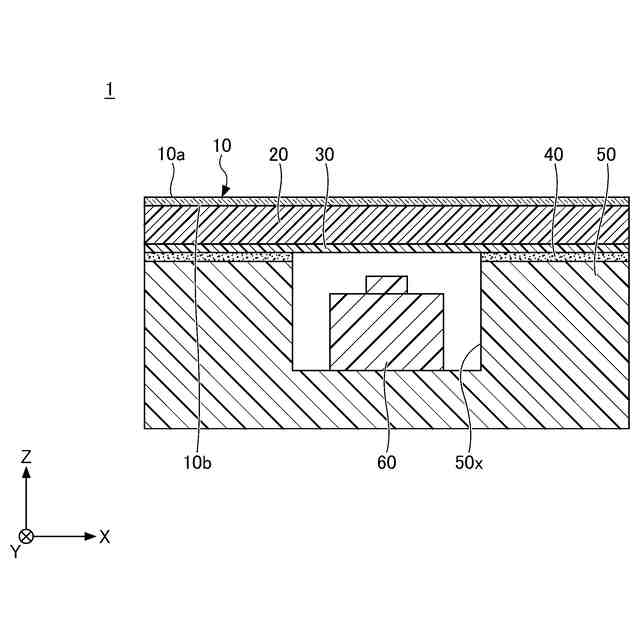
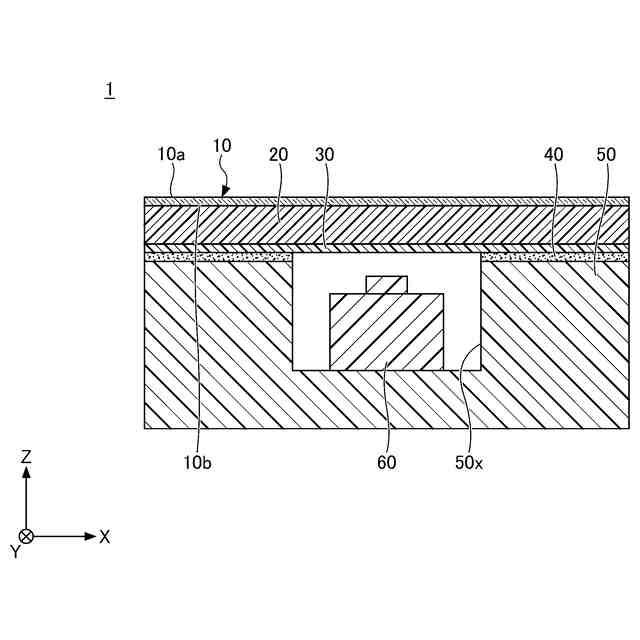
第1実施形態に係るスイッチ装置を例示する断面図である。
図1に示す印刷フィルムの平面図である。
第1実施形態に係るスイッチ装置の動作を説明する図である。
実施例及び比較例について説明する図である。
【発明を実施するための形態】
【0008】
以下、図面を参照して発明を実施するための形態について説明する。各図面において、同一構成部分には同一符号を付し、重複した説明を省略する場合がある。
【0009】
〈第1実施形態〉
図1は、第1実施形態に係るスイッチ装置を例示する断面図である。図1に示すように、スイッチ装置1は、ガラス層10と、クリア層20と、印刷フィルム30と、接合層40と、支持部50と、スイッチ60とを有している。
【0010】
以下、スイッチ装置1の構成要素について説明する。
(【0011】以降は省略されています)
この特許をJ-PlatPat(特許庁公式サイト)で参照する
関連特許
日東電工株式会社
シート体
1か月前
日東電工株式会社
導光部材
19日前
日東電工株式会社
粘着シート
6日前
日東電工株式会社
粘着シート
1か月前
日東電工株式会社
粘着シート
1か月前
日東電工株式会社
光学積層体
21日前
日東電工株式会社
配線回路基板
1か月前
日東電工株式会社
配線回路基板
19日前
日東電工株式会社
ロール体の製造方法
6日前
日東電工株式会社
多孔質ポリマーシート
6日前
日東電工株式会社
分離機能層、及び分離膜
1か月前
日東電工株式会社
光半導体素子封止用シート
1か月前
日東電工株式会社
フレキシブル多層回路基板
6日前
日東電工株式会社
ポリマー粒子およびその利用
1か月前
日東電工株式会社
情報カードおよびその製造方法
19日前
日東電工株式会社
粘着シートおよび光半導体装置
6日前
日東電工株式会社
反射防止フィルム及びその製造方法
14日前
日東電工株式会社
積層光学フィルムおよび画像表示装置
1か月前
日東電工株式会社
積層光学フィルムおよび画像表示装置
1か月前
日東電工株式会社
架橋ポリマー、分離機能層、及び分離膜
1か月前
日東電工株式会社
生体信号取得用粘着性電極及び生体センサ
14日前
日東電工株式会社
検査システム、検査方法及び検査プログラム
1か月前
日東電工株式会社
配線回路基板、及び配線回路基板の製造方法
1か月前
日東電工株式会社
配線回路基板、及び配線回路基板の製造方法
27日前
日東電工株式会社
光学フィルムの検査装置、検査方法及び製造方法
1か月前
日東電工株式会社
配線回路基板、および、配線回路基板の製造方法
1か月前
日東電工株式会社
配線回路基板、および、配線回路基板の製造方法
1か月前
日東電工株式会社
光電混載基板、光モジュール、および、電子機器
今日
日東電工株式会社
マイクロ波加熱装置及びマイクロ波加熱システム
21日前
日東電工株式会社
配線回路基板、および、配線回路基板の製造方法
19日前
日東電工株式会社
プラスチック光ファイバーの製造方法及び製造装置
27日前
日東電工株式会社
光学積層体および該光学積層体を用いた画像表示装置
1か月前
日東電工株式会社
偏光板
1か月前
日東電工株式会社
インダクタ
1か月前
日東電工株式会社
ホログラムの製造装置、ホログラムの製造方法、及び導光板
19日前
日東電工株式会社
ホログラムの製造装置、ホログラムの製造方法、及び導光板
19日前
続きを見る
他の特許を見る