TOP
|
特許
|
意匠
|
商標
特許ウォッチ
Twitter
他の特許を見る
10個以上の画像は省略されています。
公開番号
2025156583
公報種別
公開特許公報(A)
公開日
2025-10-14
出願番号
2025133755,2024037592
出願日
2025-08-08,2019-08-09
発明の名称
インダクタ
出願人
日東電工株式会社
代理人
弁理士法人いくみ特許事務所
主分類
H01F
17/04 20060101AFI20251002BHJP(基本的電気素子)
要約
【課題】インダクタンスが高く、かつ、直流重畳特性に優れながら、Q値にも優れるインダクタを提供すること。
【解決手段】インダクタ1は、第1配線21および第2配線22と、略球形状の磁性粒子を含有する第1磁性層31と、略扁平形状の磁性粒子を含有する第2磁性層51と、略扁平形状の磁性粒子を含有する第3磁性層71とを備える。第2磁性層51および第3磁性層71のそれぞれの比透磁率が、第1磁性層31の比透磁率より高い。第1磁性層31の第4面54は、第2凹部60を有する。第3磁性層71の第6面74は、第4凹部80を有する。
【選択図】図2
特許請求の範囲
【請求項1】
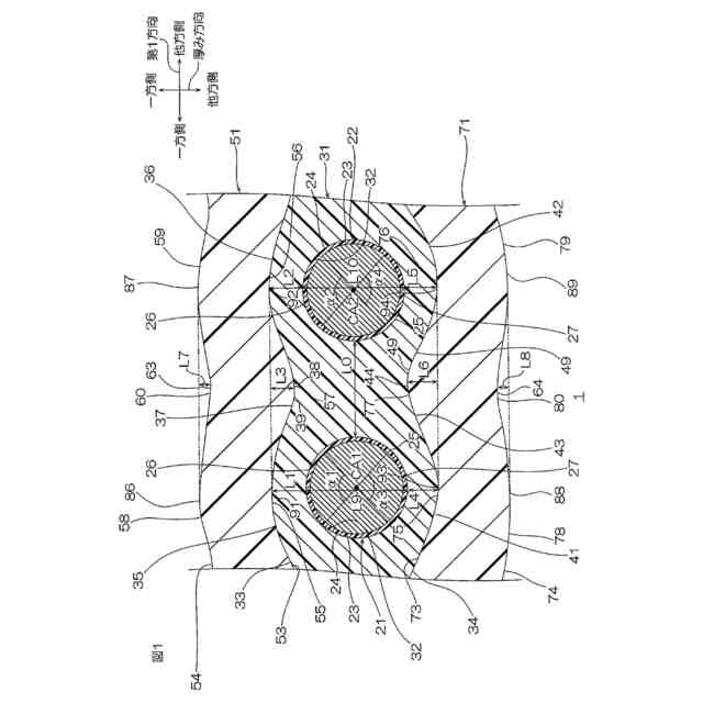
互いに間隔を隔てて隣り合う第1配線および第2配線と、
面方向に連続する第1面と、前記第1面に対して厚み方向に間隔が隔てられ、前記面方向に連続する第2面と、前記第1面および前記第2面の間に位置し、前記第1配線の外周面および前記第2配線の外周面に接触する内周面とを有し、略球形状の磁性粒子および樹脂を含有する第1磁性層と、
前記第1面に接触する第3面と、前記第3面と厚み方向に間隔が隔てられる第4面とを有し、略扁平形状の磁性粒子および樹脂を含有する第2磁性層と、
前記第2面に接触する第5面と、前記第5面と厚み方向に間隔が隔てられる第6面と有し、略扁平形状の磁性粒子および樹脂を含有する第3磁性層とを備え、
前記第2磁性層および前記第3磁性層のそれぞれの比透磁率が、前記第1磁性層の比透磁率より高く、
前記第3面は、前記第1配線と厚み方向に対向する第1対向部と、前記第2配線と厚み方向に対向する第2対向部との間において、それらから窪む第1凹部を有し、
前記第4面は、前記第1対向部と厚み方向に対向する第3対向部と、前記第2対向部と厚み方向に対向する第4対向部との間において、それらから窪む第2凹部を有し、
前記第5面は、前記第1配線と厚み方向に対向する第5対向部と、前記第2配線と厚み方向に対向する第6対向部との間において、それらから窪む第3凹部を有し、
前記第6面は、前記第5対向部と厚み方向に対向する第7対向部と、前記第2対向部と厚み方向に対向する第8対向部との間において、それらから窪む第4凹部を有することを特徴とする、インダクタ。
続きを表示(約 950 文字)
【請求項2】
前記第1対向部および前記第1配線間の長さL1と、前記第2対向部および前記第2配線間の長さL2と、前記第1凹部の深さL3とが、下記式(1)および下記式(2)を満足し、
前記第5対向部および前記第1配線間の長さL4と、前記第6対向部および前記第2配線間の長さL5と、前記第3凹部の深さL6とが、下記式(3)および下記式(4)を満足することを特徴とする、請求項1に記載のインダクタ。
L3/L1≧0.2 (1)
L3/L2≧0.2 (2)
L6/L4≧0.2 (3)
L6/L5≧0.2 (4)
【請求項3】
前記第1凹部の深さL3と、前記第2凹部の深さL7とが、下記式(5)を満足し、
前記第3凹部の深さL6と、前記第4凹部の深さL8とが、下記式(6)を満足することを特徴とする、請求項1または2に記載のインダクタ。
L7/L3≧0.3 (5)
L8/L6≧0.3 (6)
【請求項4】
前記第1対向部および前記第1配線間の長さL1と、前記第1配線の厚み方向長さL9とが、下記式(7)を満足し、
前記第2対向部および前記第2配線間の長さL2と、前記第2配線の厚み方向長さL10とが、下記式(8)を満足し、
前記第3対向部および前記第1配線間の長さL4と、前記第1配線の前記長さL9とが、下記式(9)を満足し、
前記第4対向部および前記第2配線間の長さL5と、前記第2配線の前記長さL10とが、下記式(10)を満足することを特徴とする、請求項1~3のいずれか一項に記載のインダクタ。
L1/L9≧0.1 (7)
L2/L10≧0.1 (8)
L4/L9≧0.1 (9)
L5/L10≧0.1 (10)
発明の詳細な説明
【技術分野】
【0001】
本発明は、インダクタに関する。
続きを表示(約 1,500 文字)
【背景技術】
【0002】
従来、複数の導体と、それらを被覆する磁性体層とを備えるインダクタが知られている(例えば、特許文献1参照。)。
【0003】
特許文献1では、複数の導体が配置されたフェライト生シートの上に、別のフェライト生シートを積層し、これらを焼成することにより、インダクタを得ている。
【先行技術文献】
【特許文献】
【0004】
特開平10-144526号公報
【発明の概要】
【発明が解決しようとする課題】
【0005】
しかるに、インダクタには、高いインダクタンス、優れた直流重畳特性および優れたQ値が求められる。
【0006】
しかし、特許文献1に記載のインダクタでは、上記した要求を満足できない。
【0007】
本発明は、インダクタンスが高く、かつ、直流重畳特性に優れながら、Q値にも優れるインダクタを提供する。
【課題を解決するための手段】
【0008】
本発明[1]は、互いに間隔を隔てて隣り合う第1配線および第2配線と、面方向に連続する第1面と、前記第1面に対して厚み方向に間隔が隔てられ、前記面方向に連続する第2面と、前記第1面および前記第2面の間に位置し、前記第1配線の外周面および前記第2配線の外周面に接触する内周面とを有し、略球形状の磁性粒子および樹脂を含有する第1磁性層と、前記第1面に接触する第3面と、前記第3面と厚み方向に間隔が隔てられる第4面とを有し、略扁平形状の磁性粒子および樹脂を含有する第2磁性層と、前記第2面に接触する第5面と、前記第5面と厚み方向に間隔が隔てられる第6面と有し、略扁平形状の磁性粒子および樹脂を含有する第3磁性層とを備え、前記第2磁性層および前記第3磁性層のそれぞれの比透磁率が、前記第1磁性層の比透磁率より高く、前記第3面は、前記第1配線と厚み方向に対向する第1対向部と、前記第2配線と厚み方向に対向する第2対向部との間において、それらから窪む第1凹部を有し、前記第4面は、前記第1対向部と厚み方向に対向する第3対向部と、前記第2対向部と厚み方向に対向する第4対向部との間において、それらから窪む第2凹部を有し、前記第5面は、前記第1配線と厚み方向に対向する第5対向部と、前記第2配線と厚み方向に対向する第6対向部との間において、それらから窪む第3凹部を有し、前記第6面は、前記第5対向部と厚み方向に対向する第7対向部と、前記第2対向部と厚み方向に対向する第8対向部との間において、それらから窪む第4凹部を有する、インダクタを含む。
【0009】
このインダクタは、略球形状の磁性粒子を含有する第1磁性層と、略扁平形状の磁性粒子を含有する第2磁性層および第3磁性層とを備える。しかも、第2磁性層および第3磁性層のそれぞれの比透磁率が、第1磁性層の比透磁率より高い。そのため、このインダクタは、インダクタンスが高く、かつ、直流重畳特性に優れる。
【0010】
さらに、第2磁性層が第1凹部および第2凹部を有するので、第2磁性層において第1凹部および第2凹部に囲まれる領域では、略扁平形状の磁性粒子が、第1凹部および第2凹部に配向できる。また、第3磁性層が第3凹部および第4凹部を有するので、第3磁性層において第3凹部および第4凹部に囲まれる領域では、略扁平形状の磁性粒子が、第3凹部および第4凹部に配向できる。そのため、優れたQ値を得ることができる。
(【0011】以降は省略されています)
この特許をJ-PlatPat(特許庁公式サイト)で参照する
関連特許
日東電工株式会社
積層体
1か月前
日東電工株式会社
吸着材
1か月前
日東電工株式会社
発光装置
1か月前
日東電工株式会社
照明装置
1か月前
日東電工株式会社
導光部材
12日前
日東電工株式会社
シート体
1か月前
日東電工株式会社
電子装置
1か月前
日東電工株式会社
光学積層体
2か月前
日東電工株式会社
粘着シート
1か月前
日東電工株式会社
光ファイバ
1か月前
日東電工株式会社
粘着シート
1か月前
日東電工株式会社
粘着シート
29日前
日東電工株式会社
粘着シート
26日前
日東電工株式会社
光学積層体
14日前
日東電工株式会社
粘着剤組成物
1か月前
日東電工株式会社
スイッチ装置
1か月前
日東電工株式会社
調光フィルム
1か月前
日東電工株式会社
スイッチ装置
1か月前
日東電工株式会社
粘着剤組成物
1か月前
日東電工株式会社
配線回路基板
12日前
日東電工株式会社
温度測定装置
1か月前
日東電工株式会社
温度測定装置
1か月前
日東電工株式会社
配線回路基板
1か月前
日東電工株式会社
光学粘着シート
1か月前
日東電工株式会社
表面保護シート
1か月前
日東電工株式会社
光学粘着シート
1か月前
日東電工株式会社
光学粘着シート
1か月前
日東電工株式会社
反射防止フィルム
1か月前
日東電工株式会社
反射防止フィルム
1か月前
日東電工株式会社
ロール体の製造方法
1か月前
日東電工株式会社
導光体、及び照明装置
1か月前
日東電工株式会社
光学積層体の製造方法
1か月前
日東電工株式会社
光学積層体の製造方法
1か月前
日東電工株式会社
調光用導電性フィルム
2か月前
日東電工株式会社
レンズ及び内視鏡用部材
1か月前
日東電工株式会社
配線回路基板の製造方法
1か月前
続きを見る
他の特許を見る