TOP
|
特許
|
意匠
|
商標
特許ウォッチ
Twitter
他の特許を見る
公開番号
2025146329
公報種別
公開特許公報(A)
公開日
2025-10-03
出願番号
2024047045
出願日
2024-03-22
発明の名称
反射防止フィルム
出願人
日東電工株式会社
代理人
弁理士法人いくみ特許事務所
主分類
G02B
1/18 20150101AFI20250926BHJP(光学)
要約
【課題】防汚層と保護フィルムの密着性と、防汚層の防汚耐久性とに優れる反射防止フィルムを提供すること。
【解決手段】反射防止フィルム1は、透明基材フィルム2と、反射防止層4と、防汚層5と、保護フィルム6とを厚み方向一方側に向かって順に備える。防汚層5は、炭素数6以上36以下の炭化水素基を含むシラン化合物を含む。防汚層5の水接触角が100°以上である。保護フィルム6の剥離力が、0.060N/50mmを超過する。
【選択図】図1
特許請求の範囲
【請求項1】
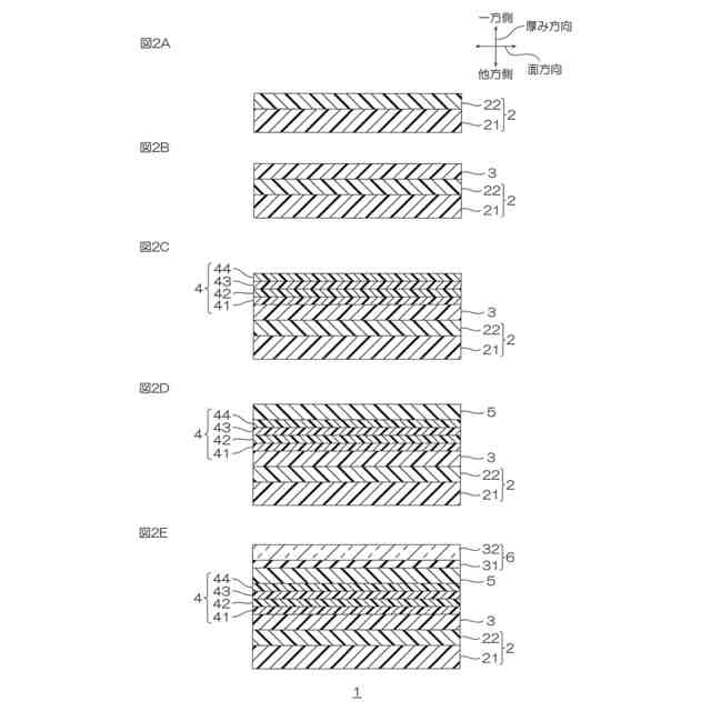
透明基材フィルムと、反射防止層と、防汚層と、保護フィルムとを厚み方向一方側に向かって順に備え、
前記防汚層は、炭素数6以上36以下の炭化水素基を含むシラン化合物を含み、
前記防汚層の水接触角が100°以上であり、
前記保護フィルムの剥離力が、0.060N/50mmを超過する、反射防止フィルム。
続きを表示(約 370 文字)
【請求項2】
前記防汚層の表面自由エネルギーの分散力が、15.5を超過し、32.4未満である、請求項1に記載の反射防止フィルム。
【請求項3】
前記透明基材フィルムは、透明樹脂フィルムと、前記透明樹脂フィルムの厚み方向一方側に配置される硬化樹脂層とを備える、請求項1に記載の反射防止フィルム。
【請求項4】
前記透明基材フィルムと前記反射防止層との間に配置されるプライマー層を、さらに備え、
前記プライマー層は、金属酸化物層である、請求項1に記載の反射防止フィルム。
【請求項5】
前記反射防止層は、高屈折率層および低屈折率層を備え、
前記高屈折率層が、酸化ニオブ層であり、
前記低屈折率層が、二酸化ケイ素層である、請求項1に記載の反射防止フィルム。
発明の詳細な説明
【技術分野】
【0001】
本発明は、反射防止フィルムに関する。
続きを表示(約 1,000 文字)
【背景技術】
【0002】
従来、液晶ディスプレイなどのディスプレイの視認側の外表面には、反射防止フィルムが設けられることがある。
【0003】
このような反射防止フィルムとして、基材と、ハードコート層と、反射防止層と、パーフルオロポリエーテル基を有するアルコキシシラン化合物を含む防汚層とを厚み方向一方側に向かって順に備える積層体が提案されている(例えば、特許文献1参照。)。
【先行技術文献】
【特許文献】
【0004】
国際公開WO2022/014575号パンフレット
【発明の概要】
【発明が解決しようとする課題】
【0005】
一方、反射防止フィルムの表面(反射防止フィルムにおける防汚層の表面)には、反射防止フィルムの表面を保護する観点から、保護フィルムを配置することが検討される。このような場合には、反射防止フィルム(防汚層)と保護フィルムの密着性の向上が要求される。
【0006】
また、反射防止フィルムにおける防汚層には、防汚耐久性も要求される。詳しくは、防汚層に付着した汚れを拭き取った後でも、防汚層の防汚性の低下を抑制することが要求される。
【0007】
本発明は、防汚層と保護フィルムの密着性と、防汚層の防汚耐久性とに優れる反射防止フィルムを提供することにある。
【課題を解決するための手段】
【0008】
本発明[1]は、透明基材フィルムと、反射防止層と、防汚層と、保護フィルムとを厚み方向一方側に向かって順に備え、前記防汚層は、炭素数6以上36以下の炭化水素基を含むシラン化合物を含み、前記防汚層の水接触角が100°以上であり、前記保護フィルムの剥離力が、0.060N/50mmを超過する、反射防止フィルムである。
【0009】
本発明[2]は、前記防汚層の表面自由エネルギーの分散力が、15.5を超過し、32.4未満である、上記[1]に記載の反射防止フィルムを含んでいる。
【0010】
本発明[3]は、前記透明基材フィルムは、透明樹脂フィルムと、前記透明樹脂フィルムの厚み方向一方側に配置される硬化樹脂層とを備える、上記[1]または[2]に記載の反射防止フィルムを含んでいる。
(【0011】以降は省略されています)
この特許をJ-PlatPat(特許庁公式サイト)で参照する
関連特許
日東電工株式会社
積層体
1か月前
日東電工株式会社
導光部材
3日前
日東電工株式会社
照明装置
1か月前
日東電工株式会社
シート体
27日前
日東電工株式会社
粘着シート
1か月前
日東電工株式会社
粘着シート
17日前
日東電工株式会社
光ファイバ
1か月前
日東電工株式会社
光学積層体
5日前
日東電工株式会社
粘着シート
1か月前
日東電工株式会社
粘着シート
20日前
日東電工株式会社
配線回路基板
3日前
日東電工株式会社
スイッチ装置
1か月前
日東電工株式会社
温度測定装置
1か月前
日東電工株式会社
調光フィルム
1か月前
日東電工株式会社
配線回路基板
24日前
日東電工株式会社
温度測定装置
1か月前
日東電工株式会社
表面保護シート
27日前
日東電工株式会社
導光体、及び照明装置
1か月前
日東電工株式会社
分離機能層、及び分離膜
27日前
日東電工株式会社
配線回路基板の製造方法
1か月前
日東電工株式会社
積層フィルムの製造方法
1か月前
日東電工株式会社
分離機能層、及び分離膜
1か月前
日東電工株式会社
積層フィルムの製造方法
1か月前
日東電工株式会社
レンズ及び内視鏡用部材
1か月前
日東電工株式会社
光半導体素子封止用シート
14日前
日東電工株式会社
高分子分散型液晶フィルム
1か月前
日東電工株式会社
積層光学部材及び光学装置
1か月前
日東電工株式会社
ポリマー粒子およびその利用
27日前
日東電工株式会社
情報カードおよびその製造方法
3日前
日東電工株式会社
積層光学フィルムおよび画像表示装置
19日前
日東電工株式会社
積層光学フィルムおよび画像表示装置
19日前
日東電工株式会社
架橋ポリマー、分離機能層、及び分離膜
27日前
日東電工株式会社
粘着シートおよびフレキシブルデバイス
1か月前
日東電工株式会社
検査システム、検査方法及び検査プログラム
19日前
日東電工株式会社
配線回路基板、及び配線回路基板の製造方法
11日前
日東電工株式会社
配線回路基板、及び配線回路基板の製造方法
27日前
続きを見る
他の特許を見る