TOP
|
特許
|
意匠
|
商標
特許ウォッチ
Twitter
他の特許を見る
公開番号
2025149717
公報種別
公開特許公報(A)
公開日
2025-10-08
出願番号
2024050526
出願日
2024-03-26
発明の名称
温度測定装置
出願人
日東電工株式会社
代理人
弁理士法人青藍国際特許事務所
主分類
G01K
7/00 20060101AFI20251001BHJP(測定;試験)
要約
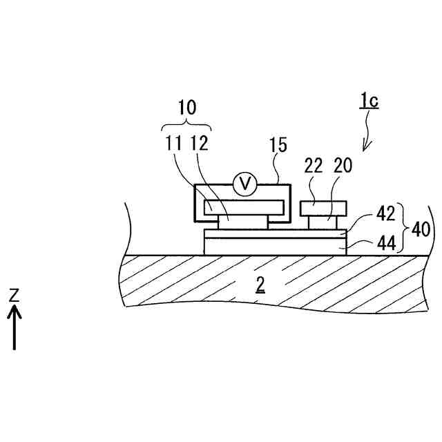
【課題】測定対象の内部の温度を測定でき、熱電変換素子の熱抵抗を低くすること及び製造のしやすさの観点から有利な温度測定装置を提供する。
【解決手段】温度測定装置1aは、熱電変換素子10と、温度センサ20とを備える。熱電変換素子10は、基材11と、磁性体12とを備えている。磁性体12は、基材11上に配置されており、強磁性又は反強磁性を有する。温度センサ20は、測定対象2の表面2s又は表面2s付近の温度T
S
を測定する。温度測定装置1aは、熱電変換素子10に生じる起電力V
10
及び温度センサ20によって測定された温度T
S
に基づいて、測定対象2の内部の温度T
I
を測定する。
【選択図】図1
特許請求の範囲
【請求項1】
温度測定装置であって、
熱電変換素子と、
測定対象の表面又は前記表面付近の温度を測定する温度センサと、を備え、
前記熱電変換素子は、基材と、前記基材上に配置された強磁性又は反強磁性を有する磁性体とを含み、
前記温度測定装置は、前記熱電変換素子に生じる起電力及び前記温度センサによって測定された前記温度に基づいて、前記測定対象の内部の温度を測定する、
温度測定装置。
続きを表示(約 590 文字)
【請求項2】
前記基材の厚み方向における前記熱電変換素子の単位面積当たり熱抵抗は、9×10
-4
m
2
K/W以下である、
請求項1に記載の温度測定装置。
【請求項3】
前記温度センサは、前記基材上に配置されている、
請求項1に記載の温度測定装置。
【請求項4】
前記基材は、可撓性を有する、
請求項1又は2に記載の温度測定装置。
【請求項5】
前記熱電変換素子における起電力を測定するための第一回路と、
前記磁性体の電気抵抗を測定するための第二回路と、
前記熱電変換素子を前記第一回路に電気的に接続することと、前記磁性体を前記第二回路に電気的に接続することとを切り替える切替器とを、さらに備え、
前記温度センサは、前記磁性体の前記電気抵抗に基づいて、前記表面又は前記表面付近の前記温度を測定する、
請求項1に記載の温度測定装置。
【請求項6】
前記熱電変換素子は、互いに異なる熱抵抗を有する、第一熱電変換素子及び第二熱電変換素子を含み、
前記温度センサは、前記第一熱電変換素子に対応する第一温度センサと、前記第二熱電変換素子に対応する第二温度センサとを含む、
請求項1に記載の温度測定装置。
発明の詳細な説明
【技術分野】
【0001】
本発明は、温度測定装置に関する。
続きを表示(約 2,000 文字)
【背景技術】
【0002】
従来、双熱流法等の方法によって測定対象の内部の温度を測定することが知られている。
【0003】
例えば、特許文献1には、双熱流法を用いる深部体温計が記載されている。この深部体温計は、深部体温計測用プローブと、深部体温推定手段とを備えている。深部体温計測用プローブは、被検体から流出する第1熱流を測定可能な第1熱流測定系と、被検体から流出する第2熱流を測定可能な第2熱流測定系とを備えている。第1熱流測定系は、被検体側に配置された第1入力側断熱体と、第1入力側断熱体に積層された第1出力側断熱体と、第1入力側断熱体の上流側に配置された第1入力側温度センサと、下流側に配置された第1出力側温度センサとを有する。第2熱流測定系は、被検体側に配置された第2入力側断熱体と、第2入力側断熱体に積層された第2出力側断熱体と、第2入力側断熱体の上流側に配置された第2入力側温度センサと、下流側に配置された第2出力側温度センサとを有する。第1出力側断熱体及び第2出力側断熱体は、空気とほぼ同じ熱伝導率の断熱体である。深部体温推定手段は、深部体温計測用プローブの第1入力側温度センサ及び第2入力側温度センサ、並びに、第1出力側温度センサ及び第2出力側温度センサによって計測された温度を用いて深部体温を推定する。
【0004】
特許文献2には、生体の深部温度測定システムが記載されている。この生体の深部温度測定システムは、プリント基板と、熱電変換モジュールと、温度センサとを備えている。熱電変換モジュールは、プリント基板に搭載され、複数のp型熱電素子チップ及びn型熱電素子チップが交互に直列接続された構成を有する。プリント基板を生体表面に接触させて配置し、熱電変換モジュールにおける起電力及び前記温度センサで測定された生体の表面温度を測定することにより、生体の深部体温が測定される。
【0005】
特許文献3には、複合センサが記載されている。この複合センサは、絶縁性の基材と、一対の対向電極とを有する温度検知部と、熱流検知部とを備えている。一対の対向電極は、基材に形成された薄膜サーミスタ部と薄膜サーミスタ部の上及び下の少なくとも一方に対向して形成されている。熱流検知部は、異常ネルンスト効果が得られる複数の異常ネルンスト材料膜と、異常ネルンスト材料膜を電気的に直列に接続する接続配線とを有する。複数の異常ネルンスト材料膜は、基材に形成され同一方向に延在していると共に基材の平面方向に互いに平行に並んでいる。
【先行技術文献】
【特許文献】
【0006】
特開2023-146418号公報
特開2023-70518号公報
特開2020-153668号公報
【発明の概要】
【発明が解決しようとする課題】
【0007】
Internet of Things(IoT)社会及びデジタルトランスフォーメーション(DX)が進むなか、機械の発熱及び体調のモニタリング等の技術分野において、熱に関するモニタリングのニーズが高まっている。また、地球環境保護の観点から不要な熱発生を抑制してエネルギー利用効率を高めることは重要であり、電気自動車(EV)用のバッテリ、熱交換器、及びモーター等の様々な技術分野において運用最適化のための熱計測を担うシステムの高度化に期待が集まっている。例えば、測定対象の内部の温度を測定できる技術は、このような期待に応えるうえで重要な技術となりうる。
【0008】
特許文献1に記載の深部体温計では、第1入力側温度センサ、第1出力側温度センサ、第2入力側温度センサ、及び第2出力側温度センサが必要であり、第1出力側断熱体及び第2出力側断熱体は、空気とほぼ同じ熱伝導率の断熱体である必要がある。
【0009】
特許文献2に記載の生体の深部温度測定システムの熱電変換モジュールは、複数のp型熱電素子チップ及びn型熱電素子チップが交互に直列接続された構成を有する。この熱電変換モジュールはゼーベック効果に伴う起電力を生じる。熱電変換モジュールの感度を高めるためには、p型熱電素子チップ及びn型熱電素子チップの厚みが大きいことが有利であると考えられ、これらのチップの厚みは小さくなりにくい。このため、熱電変換モジュールの熱抵抗は低くなりにくく、生体の深部温度測定システムの応答速度を高めにくい。加えて、複数のp型熱電素子チップ及びn型熱電素子チップが交互に直列接続する必要があり、生体の深部温度測定システムの製造が煩雑になりやすい。
【0010】
特許文献3に記載の複合センサは、測定対象の内部の温度を測定するものではない。
(【0011】以降は省略されています)
この特許をJ-PlatPat(特許庁公式サイト)で参照する
関連特許
日東電工株式会社
積層体
25日前
日東電工株式会社
吸着材
1か月前
日東電工株式会社
シート体
20日前
日東電工株式会社
発光装置
1か月前
日東電工株式会社
照明装置
24日前
日東電工株式会社
電子装置
27日前
日東電工株式会社
粘着シート
10日前
日東電工株式会社
粘着シート
24日前
日東電工株式会社
粘着シート
24日前
日東電工株式会社
光ファイバ
26日前
日東電工株式会社
粘着シート
13日前
日東電工株式会社
配線回路基板
17日前
日東電工株式会社
温度測定装置
26日前
日東電工株式会社
温度測定装置
26日前
日東電工株式会社
粘着剤組成物
26日前
日東電工株式会社
粘着剤組成物
26日前
日東電工株式会社
スイッチ装置
1か月前
日東電工株式会社
スイッチ装置
24日前
日東電工株式会社
調光フィルム
25日前
日東電工株式会社
光学粘着シート
1か月前
日東電工株式会社
表面保護シート
20日前
日東電工株式会社
光学粘着シート
1か月前
日東電工株式会社
光学粘着シート
1か月前
日東電工株式会社
反射防止フィルム
1か月前
日東電工株式会社
反射防止フィルム
1か月前
日東電工株式会社
ロール体の製造方法
1か月前
日東電工株式会社
導光体、及び照明装置
24日前
日東電工株式会社
光学積層体の製造方法
1か月前
日東電工株式会社
光学積層体の製造方法
1か月前
日東電工株式会社
積層フィルムの製造方法
25日前
日東電工株式会社
積層フィルムの製造方法
25日前
日東電工株式会社
分離機能層、及び分離膜
24日前
日東電工株式会社
レンズ及び内視鏡用部材
24日前
日東電工株式会社
ウレア化合物の製造方法
1か月前
日東電工株式会社
分離機能層、及び分離膜
20日前
日東電工株式会社
配線回路基板の製造方法
24日前
続きを見る
他の特許を見る