TOP
|
特許
|
意匠
|
商標
特許ウォッチ
Twitter
他の特許を見る
公開番号
2025172993
公報種別
公開特許公報(A)
公開日
2025-11-27
出願番号
2022157014
出願日
2022-09-29
発明の名称
パッチアンテナ
出願人
日東電工株式会社
代理人
個人
,
個人
主分類
H01Q
13/08 20060101AFI20251119BHJP(基本的電気素子)
要約
【課題】 小型でアンテナ利得が向上するパッチアンテナの提供を目的とする。
【解決手段】本発明の一態様に係るパッチアンテナは、第1誘電体層と、前記第1誘電体層上に形成されるパッチ導体と、前記パッチ導体上に形成される第2誘電体層と、を有し、前記第2誘電体層の比誘電率は、3.5以下である。
【選択図】図2
特許請求の範囲
【請求項1】
第1誘電体層と、
前記第1誘電体層上に形成されるパッチ導体と、
前記パッチ導体上に形成される第2誘電体層と、
を有し、
前記第2誘電体層の比誘電率は、3.5以下である、
パッチアンテナ。
続きを表示(約 250 文字)
【請求項2】
前記第2誘電体層の厚みは、1.0mm以上である、
請求項1に記載のパッチアンテナ。
【請求項3】
前記第1誘電体層及び前記第2誘電体層の少なくとも一方は、
複数の微粒子で構成された空孔を有する無機多孔性凝集体と、
フッ素系樹脂からなるフィブリルと、
を有する、請求項1又は2に記載のパッチアンテナ。
【請求項4】
前記第2誘電体層の比誘電率は、2.0以下である、
請求項1又は2に記載のパッチアンテナ。
発明の詳細な説明
【技術分野】
【0001】
本発明は、パッチアンテナに関する。
続きを表示(約 1,300 文字)
【背景技術】
【0002】
第5世代(5G)移動体通信システムにおいて、それまでの移動体通信システムで利用される電磁波に比べて高周波数帯の電磁波(例えば、28GHz帯等のいわゆるミリ波と称される電磁波)が利用される。他方、ミリ波は、直進性が高く、伝搬中に減衰しやすい等の理由から、伝搬距離が短いという課題を有する。そのため、ミリ波を用いた通信アンテナには、高いアンテナ利得が求められる。
【0003】
アンテナ利得を向上させるアンテナの一種として、誘電体基板上にアレイ状に配列する複数のアンテナ素子を有するフェーズド・アレイアンテナが挙げられる。例えば、アレイ状に配列しやすい矩形の平板形状のパッチ導体を有するパッチアンテナが、フェーズド・アレイアンテナの多くで用いられている(例えば、下記特許文献1参照)。
【先行技術文献】
【特許文献】
【0004】
特開2012-222545号公報
【発明の概要】
【発明が解決しようとする課題】
【0005】
特許文献1に開示のアンテナは、パッチ導体を含むアンテナ素子と、アンテナ素子に対向するレンズアンテナを有する。アンテナ素子から放射された電磁波は、レンズアンテナに入射し、屈折する。これにより、位相の揃ったビーム状の平面波が形成され、アンテナ利得を高めることができる。しかしながら、レンズアンテナは、湾曲面を有することから、前後方向の寸法が大きくなる。アンテナ素子の前方側にレンズアンテナを配置すると、アンテナの大型化を招く。
【0006】
本発明は、小型でアンテナ利得が向上するパッチアンテナの提供を目的とする。
【課題を解決するための手段】
【0007】
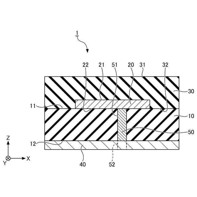
本発明の一態様に係るパッチアンテナは、第1誘電体層と、前記第1誘電体層上に形成されるパッチ導体と、前記パッチ導体上に形成される第2誘電体層と、を有し、前記第2誘電体層の比誘電率は、3.5以下である。
【発明の効果】
【0008】
本発明によれば、小型でアンテナ利得が向上するパッチアンテナを提供することができる。
【図面の簡単な説明】
【0009】
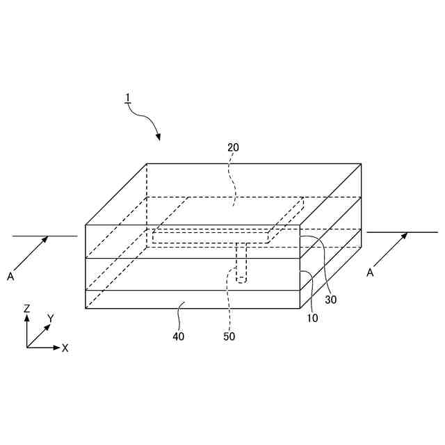
本実施形態に係るパッチアンテナの透視平面図である。
本実施形態に係るパッチアンテナの垂直断面図である。
実施例6と比較例1に関するアンテナ利得の比較を示すグラフである。
実施例9、実施例10、比較例4における、第2誘電体層の厚みを変化させた場合のアンテナ利得を示すグラフである。
実施例11、実施例12、比較例5における、第2誘電体層の厚みを変化させた場合のアンテナ利得を示すグラフである。
【発明を実施するための形態】
【0010】
<パッチアンテナの全体構成>
以下、図面を参照して本開示の実施形態について詳細に説明する。各図面において、同一構成要素には同一符号を付与し、重複した説明を適宜省略する。
(【0011】以降は省略されています)
この特許をJ-PlatPat(特許庁公式サイト)で参照する
関連特許
日東電工株式会社
吸着材
1か月前
日東電工株式会社
積層体
1か月前
日東電工株式会社
電子装置
1か月前
日東電工株式会社
発光装置
1か月前
日東電工株式会社
導光部材
22日前
日東電工株式会社
シート体
1か月前
日東電工株式会社
照明装置
1か月前
日東電工株式会社
ロボット
2日前
日東電工株式会社
粘着シート
1か月前
日東電工株式会社
光ファイバ
1か月前
日東電工株式会社
粘着シート
9日前
日東電工株式会社
粘着シート
1か月前
日東電工株式会社
光学積層体
2か月前
日東電工株式会社
粘着シート
1か月前
日東電工株式会社
光学積層体
24日前
日東電工株式会社
光学積層体
2か月前
日東電工株式会社
粘着シート
1か月前
日東電工株式会社
スイッチ装置
1か月前
日東電工株式会社
配線回路基板
1か月前
日東電工株式会社
配線回路基板
22日前
日東電工株式会社
温度測定装置
1か月前
日東電工株式会社
粘着剤組成物
1か月前
日東電工株式会社
温度測定装置
1か月前
日東電工株式会社
粘着剤組成物
1か月前
日東電工株式会社
スイッチ装置
1か月前
日東電工株式会社
偏光フィルム
2か月前
日東電工株式会社
補強フィルム
1日前
日東電工株式会社
調光フィルム
1か月前
日東電工株式会社
光学粘着シート
1か月前
日東電工株式会社
表面保護シート
1か月前
日東電工株式会社
光学粘着シート
1か月前
日東電工株式会社
パッチアンテナ
2日前
日東電工株式会社
光学粘着シート
1か月前
日東電工株式会社
パッチアンテナ
2日前
日東電工株式会社
反射防止フィルム
1か月前
日東電工株式会社
反射防止フィルム
1か月前
続きを見る
他の特許を見る