TOP
|
特許
|
意匠
|
商標
特許ウォッチ
Twitter
他の特許を見る
10個以上の画像は省略されています。
公開番号
2025168110
公報種別
公開特許公報(A)
公開日
2025-11-07
出願番号
2024073249
出願日
2024-04-26
発明の名称
配線回路基板、および、配線回路基板の製造方法
出願人
日東電工株式会社
代理人
弁理士法人いくみ特許事務所
主分類
H05K
1/02 20060101AFI20251030BHJP(他に分類されない電気技術)
要約
【課題】金属層を開口させることなく、端子と配線との間のインピーダンスの差を低減できる配線回路基板、および、配線回路基板の製造方法を提供する。
【解決手段】
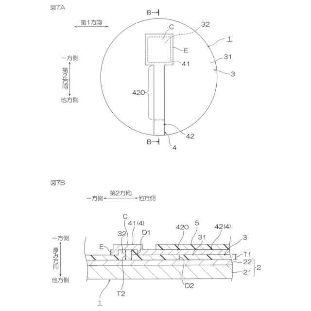
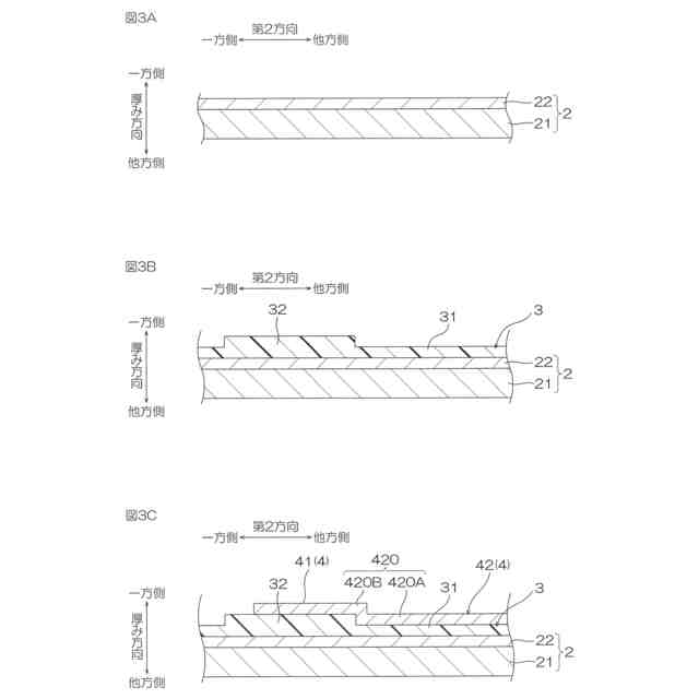
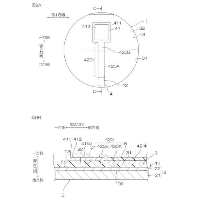
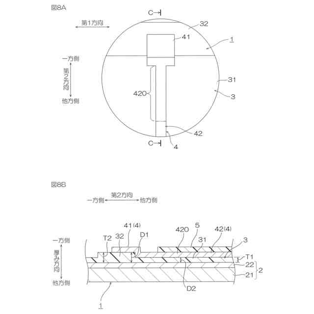
配線回路基板1は、金属層2と、ベース絶縁層3と、回路パターン4とを備える。回路パターン4は、端子41と、端子41に接続される配線42とを有する。配線42は、端子41に接続される接続部420を有する。端子41の幅W1は、接続部420の幅W2よりも広い。厚み方向において、端子41の少なくとも一部と金属層2との距離D1は、接続部420の少なくとも一部と金属層2との距離D2よりも長い。
【選択図】図2
特許請求の範囲
【請求項1】
金属層と、
端子と、前記端子に接続される配線とを有する回路パターンと、
前記金属層の厚み方向において前記金属層と前記回路パターンとの間に配置される絶縁層と
を備え、
前記配線は、前記端子に接続される接続部を有し、
前記端子の幅は、前記接続部の幅よりも広く、
前記厚み方向において、前記端子の少なくとも一部と前記金属層との距離は、前記接続部の少なくとも一部と前記金属層との距離よりも長い、配線回路基板。
続きを表示(約 770 文字)
【請求項2】
前記端子の全部と前記金属層との距離は、前記接続部の少なくとも一部と前記金属層との距離よりも長い、請求項1に記載の配線回路基板。
【請求項3】
前記端子の全部と前記金属層との距離は、前記接続部の全部と前記金属層との距離よりも長い、請求項1に記載の配線回路基板。
【請求項4】
前記絶縁層は、
第1厚みを有する第1部分と、
前記第1厚みよりも厚い第2厚みを有する第2部分と
を有し、
前記接続部の少なくとも一部は、前記第1部分上に配置され、
前記端子の少なくとも一部は、前記第2部分上に配置される、請求項1に記載の配線回路基板。
【請求項5】
前記端子の全部は、前記第2部分上に配置される、請求項4に記載の配線回路基板。
【請求項6】
前記接続部の全部は、前記第1部分上に配置される、請求項4に記載の配線回路基板。
【請求項7】
前記第2部分は、
前記第1部分と単一である第1層と、
前記第1層上に配置される第2層と
を有する、請求項4~6のいずれか一項に記載の配線回路基板。
【請求項8】
前記第2部分の全部は、前記第1部分と単一である、請求項4~6のいずれか一項に記載の配線回路基板。
【請求項9】
前記金属層は、
第1金属層と、
前記厚み方向において前記第1金属層と前記絶縁層との間に配置される第2金属層とを有する、請求項1に記載の配線回路基板。
【請求項10】
前記第2金属層は、
前記厚み方向において前記端子と重なる貫通穴を有する、請求項9に記載の配線回路基板。
(【請求項11】以降は省略されています)
発明の詳細な説明
【技術分野】
【0001】
本発明は、配線回路基板、および、配線回路基板の製造方法に関する。
続きを表示(約 900 文字)
【背景技術】
【0002】
従来、金属支持基板と、絶縁層と、導体層とを備える配線回路基板が知られている。導体層は、端子部と、端子部に接続される配線部とを備える。(例えば、下記特許文献1参照。)。
【先行技術文献】
【特許文献】
【0003】
特開2022-111045号公報
【発明の概要】
【発明が解決しようとする課題】
【0004】
特許文献1に記載の配線回路基板によれば、端子部に対向する開口部を金属支持基板に設けることにより、端子部の特性インピーダンスを調整している。
【0005】
この点、端子部が小さい場合や金属支持基板が厚い場合、金属支持基板を開口させることが困難な場合がある。
【0006】
本発明は、金属層を開口させることなく、端子と配線との間のインピーダンスの差を低減できる配線回路基板、および、配線回路基板の製造方法を提供する。
【課題を解決するための手段】
【0007】
本発明[1]は、金属層と、端子と、前記端子に接続される配線とを有する回路パターンと、前記金属層の厚み方向において前記金属層と前記回路パターンとの間に配置される絶縁層とを備え、前記配線が、前記端子に接続される接続部を有し、前記端子の幅が、前記接続部の幅よりも広く、前記厚み方向において、前記端子の少なくとも一部と前記金属層との距離が、前記接続部の少なくとも一部と前記金属層との距離よりも長い、配線回路基板を含む。
【0008】
このような構成によれば、厚み方向において、端子の少なくとも一部と金属層との距離が、配線の接続部の少なくとも一部と金属層との距離よりも長い。
【0009】
そのため、端子のインピーダンスを増大させて、接続部のインピーダンスに近づけることができる。
【0010】
その結果、金属層を開口させることなく、端子と配線との間のインピーダンスの差を低減できる。
(【0011】以降は省略されています)
この特許をJ-PlatPat(特許庁公式サイト)で参照する
関連特許
日東電工株式会社
ロボット
10日前
日東電工株式会社
粘着シート
17日前
日東電工株式会社
光学積層体
2日前
日東電工株式会社
光学積層体
2日前
日東電工株式会社
光学積層体
2日前
日東電工株式会社
補強フィルム
9日前
日東電工株式会社
パッチアンテナ
10日前
日東電工株式会社
パッチアンテナ
10日前
日東電工株式会社
ロール体の製造方法
17日前
日東電工株式会社
多孔質ポリマーシート
17日前
日東電工株式会社
フレキシブル多層回路基板
17日前
日東電工株式会社
積層光学フィルムの製造方法
4日前
日東電工株式会社
粘着シートおよび光半導体装置
17日前
日東電工株式会社
表面保護フィルムおよびその用途
9日前
日東電工株式会社
表面保護フィルムおよび光学積層体
2日前
日東電工株式会社
反射防止フィルム及びその製造方法
25日前
日東電工株式会社
ロール体およびロール体の製造方法
9日前
日東電工株式会社
ヒータモジュール、およびロボット
10日前
日東電工株式会社
生体信号取得用粘着性電極及び生体センサ
25日前
日東電工株式会社
光電混載基板、光モジュール、および、電子機器
11日前
日東電工株式会社
配線回路基板、および、配線回路基板の製造方法
1か月前
日東電工株式会社
積層フィルム
23日前
日東電工株式会社
画像表示装置
1か月前
日東電工株式会社
消音システム
19日前
日東電工株式会社
光学フィルム片
19日前
日東電工株式会社
光電混載基板、光電変換モジュール、光通信デバイスおよび電子機器
9日前
日東電工株式会社
配線回路基板付きシートの製造方法、および、配線回路基板付きシート
10日前
日東電工株式会社
光ファイバ、光トランシーバモジュール、および、光ファイバケーブル
9日前
日東電工株式会社
フィルムおよび積層体
23日前
日東電工株式会社
フィルムおよび積層体
9日前
日東電工株式会社
積層体及びスイッチ装置
25日前
日東電工株式会社
偏光板および画像表示装置
9日前
日東電工株式会社
積層光学フィルムの製造方法
4日前
日東電工株式会社
配線回路基板、半導体パッケージ基板、電子機器および配線回路基板の製造方法
2日前
日東電工株式会社
位相差層付偏光板および画像表示装置
9日前
日東電工株式会社
位相差フィルム、偏光板および画像表示装置
2日前
続きを見る
他の特許を見る