TOP
|
特許
|
意匠
|
商標
特許ウォッチ
Twitter
他の特許を見る
10個以上の画像は省略されています。
公開番号
2025168061
公報種別
公開特許公報(A)
公開日
2025-11-07
出願番号
2024073187
出願日
2024-04-26
発明の名称
ホログラムの製造装置、ホログラムの製造方法、及び導光板
出願人
日東電工株式会社
代理人
弁理士法人まこと国際特許事務所
主分類
G03H
1/26 20060101AFI20251030BHJP(写真;映画;光波以外の波を使用する類似技術;電子写真;ホログラフイ)
要約
【課題】 マスターホログラムを用いて、複数の干渉縞を有するホログラムを感光層に効率よく作製する。
【解決手段】 マスターホログラム31を有するマスター層3を有する露光部Cと、未露光の感光層11を搬送し、前記感光層11を前記露光部Cのマスター層3の第1面側に配置させる搬送部Bと、前記感光層11の第1面側から前記マスターホログラム31に対してコヒーレントな光を照射する光源Dと、を有し、前記コヒーレントな光と前記コヒーレントな光の照射によって前記マスターホログラムから生じた回折光とを前記感光層11に透過させて露光することにより、前記マスターホログラム31の干渉縞を前記感光層11に複製する装置において、前記光源Dが、異なる方向に進行する少なくとも2つのコヒーレントな光を、前記マスターホログラムに対して照射可能である。
【選択図】 図3
特許請求の範囲
【請求項1】
マスターホログラムを有するマスター層を有する露光部と、
未露光の感光層を搬送し、前記感光層を前記露光部のマスター層の第1面側に配置させる搬送部と、
前記感光層の第1面側から前記マスターホログラムに対してコヒーレントな光を照射する光源と、を有し、
前記コヒーレントな光と前記コヒーレントな光の照射によって前記マスターホログラムから生じた回折光とを前記感光層に透過させて露光することにより、前記マスターホログラムの干渉縞を前記感光層に複製する装置において、
前記光源が、異なる方向に進行する少なくとも2つのコヒーレントな光を、前記マスターホログラムに対して照射可能である、ホログラムの製造装置。
続きを表示(約 1,300 文字)
【請求項2】
前記少なくとも2つのコヒーレントな光が、同一波長の光である、請求項1に記載のホログラムの製造装置。
【請求項3】
前記光源が、コヒーレントな光の発振器と、前記発振器からの前記コヒーレントな光を反射する反射体と、を有し、
前記反射体が、第1のコヒーレントな光を前記マスターホログラムに向かって進行させ、第2のコヒーレントな光を前記マスターホログラムに向かって前記第1のコヒーレントの光とは異なる方向に進行させるように、調整可能である、請求項1に記載のホログラムの製造装置。
【請求項4】
前記第1のコヒーレントな光の進行方向と前記第2のコヒーレントな光の進行方向との成す角度が5度~40度である、請求項3に記載のホログラムの製造装置。
【請求項5】
前記感光層が、長尺帯状であり、
前記搬送部が、長尺帯状の感光層を長手方向に所定長さ分搬送して前記感光層の搬送を停止する、請求項1に記載のホログラムの製造装置。
【請求項6】
前記マスター層が、複数のマスターホログラムを有し、前記マスターホログラムが、幅方向に複数列、前記幅方向と直交する方向である搬送方向に複数行で並べられており、
前記感光層が長尺帯状であり、前記搬送部が、前記長尺帯状の感光層を長手方向に所定長さ分搬送して前記感光層の搬送を停止し、
前記光源が、位置変更機構部を有し、
前記位置変更機構部が、1つの行又は1つの列に延在する複数のマスターホログラムに前記異なる方向に進行する少なくとも2つのコヒーレントな光を照射する第1位置と、もう1つの行又はもう1つの列に延在する複数のマスターホログラムに前記異なる方向に進行する少なくとも2つのコヒーレントな光を照射する第2位置と、に照射位置を変更可能である、請求項1に記載のホログラムの製造装置。
【請求項7】
マスターホログラムを有するマスター層の第1面側に、未露光の感光層を搬送する搬送工程と、
前記マスター層の第1面側に前記感光層を配置した後、前記感光層の第1面側からコヒーレントな光を照射する露光工程と、を有し、
前記コヒーレントな光と前記コヒーレントな光の照射によって前記マスターホログラムから生じた回折光とを前記感光層に透過させて露光することにより、前記マスターホログラムの干渉縞を前記感光層に複製する方法において、
前記マスターホログラムに対して、異なる方向に進行する少なくとも2つのコヒーレントな光を照射する、ホログラムの製造方法。
【請求項8】
前記マスターホログラムに対して、異なる方向に進行する3つ以上のコヒーレントな光を照射する、請求項7に記載のホログラムの製造方法。
【請求項9】
前記コヒーレントな光が、赤色レーザ光、緑色レーザ光、青色レーザ光、又は、赤色レーザ光、緑色レーザ光及び青色レーザ光から選択される少なくとも2種を含む複合レーザ光である、請求項7に記載のホログラムの製造方法。
【請求項10】
請求項7乃至9の何れかに記載の製造方法によって製造されたホログラムを有する、導光板。
(【請求項11】以降は省略されています)
発明の詳細な説明
【技術分野】
【0001】
本発明は、マスターホログラムの複製によってホログラムを製造するホログラムの製造装置及びその製造方法などに関する。
続きを表示(約 3,000 文字)
【背景技術】
【0002】
ホログラムを有する導光板が、例えば、AR(Augmented Reality,拡張現実)デバイスなどに使用されている。例えば、前記導光板は、インカップリングと言われる入射側のホログラムと、アウトカップリングと言われる出射側のホログラムとを有する。インカップリングに再生光を入射させることにより、回折光を生じ、その回折光が導光板の内部を反射伝搬し、アウトカップリングから出射する。アウトカップリングを見ている観察者の目に、出射された前記回折光が入ることによって、観察者は前記回折光によって表される像を認識する。
【0003】
また、ホログラムの製造方法として、マスターホログラムを用い、マスターホログラムの干渉縞を感光層に光学的に複製する方法が知られている。
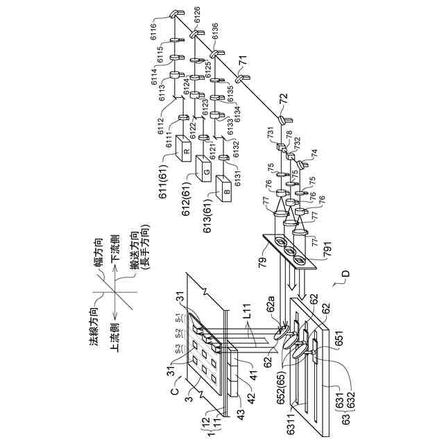
簡単に説明すると、図22に示すように、マスターホログラムを含むマスター層と前記マスター層に密着された未露光の感光層と前記感光層に密着されたガラス板とを有する積層体の、前記ガラス板側からレーザ光を照射する。レーザ光は、ガラス板及び感光層を透過してマスターホログラムに入射し、マスターホログラムにおいて回折光を生じ、回折光が感光層を透過する。前記レーザ光と回折光とが干渉して感光層を露光することにより、感光層にマスターホログラムの干渉縞が記録される。このようにして、マスターホログラムを感光層に複製できる。つまり、感光層にマスターホログラムと同様なホログラムを作製できる。
【0004】
例えば、特許文献1には、回転体の平坦部分に原版ホログラムを貼付け、原版ホログラムの上から複製用感光体フィルムを巻き付けて密着させ、回転体を複製用感光体フィルムと共に間欠的に回転させ、回転体が静止したときに原版ホログラムを再生する角度で再生光を照射し、間欠的にホログラムの情報を複製用感光体フィルムに複製する複製方法が開示されている。
【先行技術文献】
【特許文献】
【0005】
特開平5-249876号公報
【発明の概要】
【0006】
上述のように、インカップリングから入射させた再生光が回折してアウトカップリングから出射されるので、アウトカップリングを見ている観察者は、その光を認識できる。しかし、観察者の目線が出射した回折光の進行方向からズレている場合(例えば、観察者がアウトカップリングを斜めに見ている場合など)、観察者には不鮮明な像が見える又は像が見えない。この点、回折角度が異なる複数の回折光を生じるように複数の干渉縞を有するホログラムを用いることにより、像が見える範囲を拡げることができる。つまり、前記複数の干渉縞を有するホログラムを用いることにより、複数の方向に進行する回折光(出射角が異なる複数の光)をアウトカップリングから出射させることができ、観察者の目線上に回折光が進行する機会が増える結果、回折光によって表される像が見える範囲を拡げることができる(いわゆる視野角を拡げることができる)。
このような複数の異なる干渉縞を有するホログラムを、工業的に量産できる手法が求められる。
しかしながら、特許文献1には、前記複数の異なる干渉縞を有するホログラムを作製する方法については一切開示・示唆されていない。
【発明が解決しようとする課題】
【0007】
本発明の目的は、マスターホログラムを用いて、複数の干渉縞を有するホログラムを感光層に効率よく作製できるホログラムの製造装置及び製造方法を提供することである。
【課題を解決するための手段】
【0008】
1つの局面では、ホログラムの製造装置を提供する。
第1形態のホログラムの製造装置は、マスターホログラムを有するマスター層を有する露光部と、未露光の感光層を搬送し、前記感光層を前記露光部のマスター層の第1面側に配置させる搬送部と、前記感光層の第1面側から前記マスターホログラムに対してコヒーレントな光を照射する光源と、を有し、前記コヒーレントな光と前記コヒーレントな光の照射によって前記マスターホログラムから生じた回折光とを前記感光層に透過させて露光することにより、前記マスターホログラムの干渉縞を前記感光層に複製する装置において、前記光源が、異なる方向に進行する少なくとも2つのコヒーレントな光を、前記マスターホログラムに対して照射可能である。
【0009】
第2形態のホログラムの製造装置は、上記第1形態の製造装置において、前記少なくとも2つのコヒーレントな光が、同一波長の光である。
第3形態のホログラムの製造装置は、上記第1又は第2形態の製造装置において前記光源が、コヒーレントな光の発振器と、前記発振器からの前記コヒーレントな光を反射する反射体と、を有し、前記反射体が、第1のコヒーレントな光を前記マスターホログラムに向かって進行させ、第2のコヒーレントな光を前記マスターホログラムに向かって前記第1のコヒーレントの光とは異なる方向に進行させるように、調整可能である。
第4形態のホログラムの製造装置は、上記第3形態の製造装置において、前記第1のコヒーレントな光の進行方向と前記第2のコヒーレントな光の進行方向との成す角度が5度~40度である。
第5形態のホログラムの製造装置は、上記第1乃至第4形態のいずれかの製造装置において、前記感光層が、長尺帯状であり、前記搬送部が、長尺帯状の感光層を長手方向に所定長さ分搬送して前記感光層の搬送を停止する。
第6形態のホログラムの製造装置は、上記第1乃至第5形態のいずれかの製造装置において、前記マスター層が、複数のマスターホログラムを有し、前記マスターホログラムが、幅方向に複数列、前記幅方向と直交する方向である搬送方向に複数行で並べられており、前記感光層が長尺帯状であり、前記搬送部が、前記長尺帯状の感光層を長手方向に所定長さ分搬送して前記感光層の搬送を停止し、前記光源が、位置変更機構部を有し、前記位置変更機構部が、1つの行又は1つの列に延在する複数のマスターホログラムに前記異なる方向に進行する少なくとも2つのコヒーレントな光を照射する第1位置と、もう1つの行又はもう1つの列に延在する複数のマスターホログラムに前記異なる方向に進行する少なくとも2つのコヒーレントな光を照射する第2位置と、に照射位置を変更可能である。
【0010】
別の局面では、ホログラムの製造方法を提供する。
第7形態のホログラムの製造方法は、マスターホログラムを有するマスター層の第1面側に、未露光の感光層を搬送する搬送工程と、前記マスター層の第1面側に前記感光層を配置した後、前記感光層の第1面側からコヒーレントな光を照射する露光工程と、を有し、前記コヒーレントな光と前記コヒーレントな光の照射によって前記マスターホログラムから生じた回折光とを前記感光層に透過させて露光することにより、前記マスターホログラムの干渉縞を前記感光層に複製する方法において、前記マスターホログラムに対して、異なる方向に進行する少なくとも2つのコヒーレントな光を照射する。
(【0011】以降は省略されています)
この特許をJ-PlatPat(特許庁公式サイト)で参照する
関連特許
日東電工株式会社
ロボット
10日前
日東電工株式会社
光学積層体
2日前
日東電工株式会社
光学積層体
2日前
日東電工株式会社
光学積層体
2日前
日東電工株式会社
粘着シート
17日前
日東電工株式会社
補強フィルム
9日前
日東電工株式会社
パッチアンテナ
10日前
日東電工株式会社
パッチアンテナ
10日前
日東電工株式会社
ロール体の製造方法
17日前
日東電工株式会社
多孔質ポリマーシート
17日前
日東電工株式会社
フレキシブル多層回路基板
17日前
日東電工株式会社
積層光学フィルムの製造方法
4日前
日東電工株式会社
粘着シートおよび光半導体装置
17日前
日東電工株式会社
表面保護フィルムおよびその用途
9日前
日東電工株式会社
表面保護フィルムおよび光学積層体
2日前
日東電工株式会社
ヒータモジュール、およびロボット
10日前
日東電工株式会社
ロール体およびロール体の製造方法
9日前
日東電工株式会社
光電混載基板、光モジュール、および、電子機器
11日前
日東電工株式会社
消音システム
19日前
日東電工株式会社
積層フィルム
23日前
日東電工株式会社
光学フィルム片
19日前
日東電工株式会社
光電混載基板、光電変換モジュール、光通信デバイスおよび電子機器
9日前
日東電工株式会社
フィルムおよび積層体
23日前
日東電工株式会社
配線回路基板付きシートの製造方法、および、配線回路基板付きシート
10日前
日東電工株式会社
光ファイバ、光トランシーバモジュール、および、光ファイバケーブル
9日前
日東電工株式会社
フィルムおよび積層体
9日前
日東電工株式会社
偏光板および画像表示装置
9日前
日東電工株式会社
積層光学フィルムの製造方法
4日前
日東電工株式会社
配線回路基板、半導体パッケージ基板、電子機器および配線回路基板の製造方法
2日前
日東電工株式会社
位相差層付偏光板および画像表示装置
9日前
日東電工株式会社
位相差フィルム、偏光板および画像表示装置
2日前
日東電工株式会社
位相差層付き偏光板および有機EL表示装置
2日前
日東電工株式会社
位相差層付き偏光板および有機EL表示装置
2日前
日東電工株式会社
偏光フィルム、積層偏光フィルム、画像表示パネル、および画像表示装置
2日前
日東電工株式会社
偏光フィルム、積層偏光フィルム、画像表示パネル、および画像表示装置
9日前
日東電工株式会社
偏光フィルム、積層偏光フィルム、画像表示パネル、および画像表示装置
9日前
続きを見る
他の特許を見る