TOP
|
特許
|
意匠
|
商標
特許ウォッチ
Twitter
他の特許を見る
10個以上の画像は省略されています。
公開番号
2025168059
公報種別
公開特許公報(A)
公開日
2025-11-07
出願番号
2024073185
出願日
2024-04-26
発明の名称
ホログラムの製造装置、ホログラムの製造方法、及び導光板
出願人
日東電工株式会社
代理人
弁理士法人まこと国際特許事務所
主分類
G03H
1/04 20060101AFI20251030BHJP(写真;映画;光波以外の波を使用する類似技術;電子写真;ホログラフイ)
要約
【課題】 複数のマスターホログラムと同様な干渉縞を有するホログラムを効率的に複製する。
【解決手段】 複数列、複数行で並べられたマスターホログラム31を有するマスター層3を有する露光部Cと、感光層11を前記マスター層3の第1面側に配置させる搬送部Bと、前記マスターホログラム31にコヒーレントな光L1を照射する光源Dと、を有し、前記マスターホログラム31の干渉縞を前記感光層11に複製する装置において、前記搬送部Bが、長尺帯状の感光層11を前記マスター層3の第1面側に配置させた後、前記感光層11の搬送を停止し、前記光源Dが、前記マスターホログラム31に対する光L1の照射位置を変える位置変更機構部63を有し、前記位置変更機構部63が、1つの行の複数のマスターホログラム31に前記光L1を照射する第1位置と、もう1つの行の複数のマスターホログラム31に前記光L1を照射する第2位置と、に照射位置を変更する。
【選択図】 図3
特許請求の範囲
【請求項1】
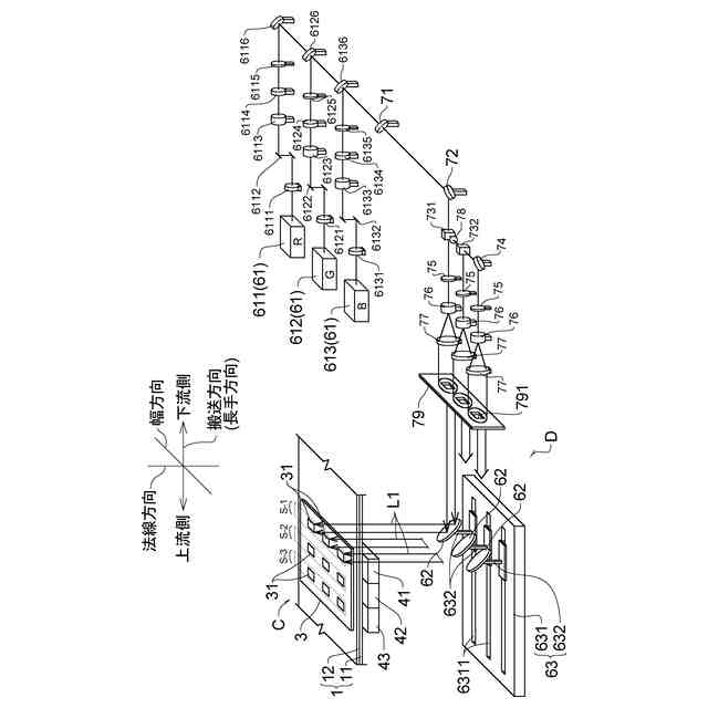
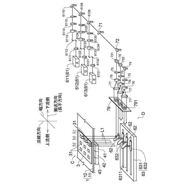
幅方向に複数列、前記幅方向と直交する方向である搬送方向に複数行で並べられたマスターホログラムを有するマスター層を有する露光部と、
未露光の感光層を搬送し、前記感光層を前記露光部のマスター層の第1面側に配置させる搬送部と、
前記感光層の第1面側から前記マスターホログラムに対してコヒーレントな光を照射する光源と、を有し、
前記コヒーレントな光と前記コヒーレントな光の照射によって前記マスターホログラムから生じた回折光とを前記感光層に透過させて露光することにより、前記マスターホログラムの干渉縞を前記感光層に複製する装置において、
前記搬送部が、長尺帯状の感光層を長手方向に所定長さ分搬送して前記感光層の搬送を停止し、
前記光源が、前記マスターホログラムに対するコヒーレントな光の照射位置を変える位置変更機構部を有し、
前記位置変更機構部が、1つの行又は1つの列に延在する複数のマスターホログラムに前記コヒーレントな光を照射する第1位置と、もう1つの行又はもう1つの列に延在する複数のマスターホログラムに前記コヒーレントな光を照射する第2位置と、に照射位置を変更する、ホログラムの製造装置。
続きを表示(約 1,700 文字)
【請求項2】
前記位置変更機構部は、前記第1位置において前記感光層の露光が完了するまで動作しない、請求項1に記載のホログラムの製造装置。
【請求項3】
前記光源が、コヒーレントな光の発振器と、前記発振器からの前記コヒーレントな光の進行方向を、前記マスターホログラムに向けて変更する反射体と、を有し、
前記位置変更機構部が、前記反射体を前記第1位置と前記第2位置に移動させる、請求項1に記載のホログラムの製造装置。
【請求項4】
前記反射体が、前記幅方向に並んだ複数のマスターホログラムにそれぞれ対応して複数設けられている、請求項3に記載のホログラムの製造装置。
【請求項5】
前記発振器が、所定波長のコヒーレントな光を出射する第1発振器と、前記第1発振器のコヒーレントな光の波長と異なる波長のコヒーレントな光を出射する第2発振器と、を有する、請求項3に記載のホログラムの製造装置。
【請求項6】
前記位置変更機構部が、固定部と、移動部と、前記移動部を前記固定部に対して前記感光層の搬送方向に沿って移動させる駆動部と、を有し、
前記移動部に、前記反射体が設けられている、請求項3に記載のホログラムの製造装置。
【請求項7】
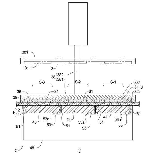
前記露光部が、前記マスター層の第1面側に配置された透光板をさらに有し、
前記搬送部が、前記露光部のマスター層の第1面と前記透光板の第2面の間に前記感光層を搬送し、
前記光源が、前記透光板の第1面側から前記マスターホログラムに前記コヒーレントな光を照射し、
前記透光板の第1面のうち、前記マスターホログラムに対して前記コヒーレントな光を入射させる領域以外の領域に、前記回折光を吸収する吸光層が設けられている、請求項1に記載のホログラムの製造装置。
【請求項8】
前記露光部が、前記マスター層の第1面側に配置された透光板をさらに有し、
前記搬送部が、前記露光部のマスター層の第1面と前記透光板の第2面の間に前記感光層を搬送し、
前記光源が、前記透光板の第1面側から前記マスターホログラムに前記コヒーレントな光を照射し、
前記透光板の端面のうち、少なくとも前記回折光が進行する側の端面に、前記回折光を吸収する吸光層が設けられている、請求項1に記載のホログラムの製造装置。
【請求項9】
幅方向に複数列、前記幅方向と直交する方向である搬送方向に複数行で並べられたマスターホログラムを有するマスター層の第1面側に、未露光の感光層を搬送する搬送工程と、
前記マスター層の第1面側に前記感光層を配置した後、前記感光層の第1面側からコヒーレントな光を照射する露光工程と、を有し、
前記コヒーレントな光と前記コヒーレントな光の照射によって前記マスターホログラムから生じた回折光とを前記感光層に透過させて露光することにより、前記マスターホログラムの干渉縞を前記感光層に複製する方法において、
前記感光層が、長尺帯状であり、
前記搬送工程が、前記長尺帯状の感光層を長手方向に所定長さ分搬送して前記感光層の搬送を停止し、
前記露光工程が、1つの行又は1つの列に延在する複数のマスターホログラムに前記コヒーレントな光を照射して、当該行又は列のマスターホログラムに対応する干渉縞を前記感光層に複製した後、もう1つの行又はもう1つの列に延在する複数のマスターホログラムに前記コヒーレントな光を照射して、当該行又は列のマスターホログラムに対応する干渉縞を前記感光層に複製する、ホログラムの製造方法。
【請求項10】
前記コヒーレントな光が、赤色レーザ光、緑色レーザ光、青色レーザ光、又は、赤色レーザ光、緑色レーザ光及び青色レーザ光から選択される少なくとも2種を含む複合レーザ光である、請求項9に記載のホログラムの製造方法。
(【請求項11】以降は省略されています)
発明の詳細な説明
【技術分野】
【0001】
本発明は、マスターホログラムの複製によってホログラムを製造するホログラムの製造装置及びその製造方法などに関する。
続きを表示(約 3,300 文字)
【背景技術】
【0002】
ホログラムの製造方法として、マスターホログラムを用い、マスターホログラムの干渉縞を感光層に光学的に複製する方法が知られている。
簡単に説明すると、図22に示すように、マスターホログラムを含むマスター層と前記マスター層に密着された未露光の感光層と前記感光層に密着されたガラス板とを有する積層体の、前記ガラス板側からレーザ光を照射する。レーザ光は、ガラス板及び感光層を透過してマスターホログラムに入射し、マスターホログラムにおいて回折光を生じ、回折光が感光層を透過する。前記レーザ光と回折光とが干渉して感光層を露光することにより、感光層にマスターホログラムの干渉縞が記録される。このようにして、マスターホログラムを感光層に複製できる。つまり、感光層にマスターホログラムと同様なホログラムを作製できる。
【0003】
例えば、特許文献1には、回転体の平坦部分に原版ホログラムを貼付け、原版ホログラムの上から複製用感光体フィルムを巻き付けて密着させ、回転体を複製用感光体フィルムと共に間欠的に回転させ、回転体が静止したときに原版ホログラムを再生する角度で再生光を照射し、間欠的にホログラムの情報を複製用感光体フィルムに複製する複製方法が開示されている。
【先行技術文献】
【特許文献】
【0004】
特開平5-249876号公報
【発明の概要】
【0005】
特許文献1の複製方法は、原版ホログラムが貼り付けられた回転体を感光体フィルムと共に回転させるので、原版ホログラムと感光体フィルムとの間に隙間が生じるおそれがある。両者の間に隙間が生じると、その隙間の空気界面で再生光が内部反射され又は再生光の屈折率が変化する。そのため、ホログラムの情報を複製用感光体フィルムに正確に複製できないおそれある。
さらに、特許文献1には、複数のマスターホログラムの干渉縞(情報)を感光層に複製することや再生光の照射方法について一切開示・示唆されていない。
【発明が解決しようとする課題】
【0006】
本発明の目的は、複数列且つ複数行のマスターホログラムを有するマスター層に、効率よくコヒーレントな光を照射して感光層にホログラムを連続的に作製するホログラムの製造装置及び製造方法を提供することである。
【課題を解決するための手段】
【0007】
1つの局面では、ホログラムの製造装置を提供する。
第1形態のホログラムの製造装置は、幅方向に複数列、前記幅方向と直交する方向である搬送方向に複数行で並べられたマスターホログラムを有するマスター層を有する露光部と、未露光の感光層を搬送し、前記感光層を前記露光部のマスター層の第1面側に配置させる搬送部と、前記感光層の第1面側から前記マスターホログラムに対してコヒーレントな光を照射する光源と、を有し、前記コヒーレントな光と前記コヒーレントな光の照射によって前記マスターホログラムから生じた回折光とを前記感光層に透過させて露光することにより、前記マスターホログラムの干渉縞を前記感光層に複製する装置において、前記搬送部が、長尺帯状の感光層を長手方向に所定長さ分搬送して前記感光層の搬送を停止し、前記光源が、前記マスターホログラムに対するコヒーレントな光の照射位置を変える位置変更機構部を有し、前記位置変更機構部が、1つの行又は1つの列に延在する複数のマスターホログラムに前記コヒーレントな光を照射する第1位置と、もう1つの行又はもう1つの列に延在する複数のマスターホログラムに前記コヒーレントな光を照射する第2位置と、に照射位置を変更する。
【0008】
第2形態のホログラムの製造装置は、上記第1形態の製造装置において、前記位置変更機構部は、前記第1位置において前記感光層の露光が完了するまで動作しない。
第3形態のホログラムの製造装置は、上記第1又は第2形態の製造装置において、前記光源が、コヒーレントな光の発振器と、前記発振器からの前記コヒーレントな光の進行方向を、前記マスターホログラムに向けて変更する反射体と、を有し、前記位置変更機構部が、前記反射体を前記第1位置と前記第2位置に移動させる。
第4形態のホログラムの製造装置は、上記第3形態の製造装置において、前記反射体が、前記幅方向に並んだ複数のマスターホログラムにそれぞれ対応して複数設けられている。
第5形態のホログラムの製造装置は、上記第3又は第4形態の製造装置において、前記発振器が、所定波長のコヒーレントな光を出射する第1発振器と、前記第1発振器のコヒーレントな光の波長と異なる波長のコヒーレントな光を出射する第2発振器と、を有する。
第6形態のホログラムの製造装置は、上記第3乃至第5形態のいずれかの製造装置において、前記位置変更機構部が、固定部と、移動部と、前記移動部を前記固定部に対して前記感光層の搬送方向に沿って移動させる駆動部と、を有し、前記移動部に、前記反射体が設けられている。
【0009】
第7形態のホログラムの製造装置は、上記第1乃至第6形態のいずれかの製造装置において、前記露光部が、前記マスター層の第1面側に配置された透光板をさらに有し、前記搬送部が、前記露光部のマスター層の第1面と前記透光板の第2面の間に前記感光層を搬送し、前記光源が、前記透光板の第1面側から前記マスターホログラムに前記コヒーレントな光を照射し、前記透光板の第1面のうち、前記マスターホログラムに対して前記コヒーレントな光を入射させる領域以外の領域に、前記回折光を吸収する吸光層が設けられている。
第8形態のホログラムの製造装置は、上記第1乃至第6形態のいずれかの製造装置において、前記露光部が、前記マスター層の第1面側に配置された透光板をさらに有し、前記搬送部が、前記露光部のマスター層の第1面と前記透光板の第2面の間に前記感光層を搬送し、前記光源が、前記透光板の第1面側から前記マスターホログラムに前記コヒーレントな光を照射し、前記透光板の端面のうち、少なくとも前記回折光が進行する側の端面に、前記回折光を吸収する吸光層が設けられている。
【0010】
別の局面では、ホログラムの製造方法を提供する。
第9形態のホログラムの製造方法は、幅方向に複数列、前記幅方向と直交する方向である搬送方向に複数行で並べられたマスターホログラムを有するマスター層の第1面側に、未露光の感光層を搬送する搬送工程と、前記マスター層の第1面側に前記感光層を配置した後、前記感光層の第1面側からコヒーレントな光を照射する露光工程と、を有し、前記コヒーレントな光と前記コヒーレントな光の照射によって前記マスターホログラムから生じた回折光とを前記感光層に透過させて露光することにより、前記マスターホログラムの干渉縞を前記感光層に複製する方法において、前記感光層が、長尺帯状であり、前記搬送工程が、前記長尺帯状の感光層を長手方向に所定長さ分搬送して前記感光層の搬送を停止し、前記露光工程が、1つの行又は1つの列に延在する複数のマスターホログラムに前記コヒーレントな光を照射して、当該行又は列のマスターホログラムに対応する干渉縞を前記感光層に複製した後、もう1つの行又はもう1つの列に延在する複数のマスターホログラムに前記コヒーレントな光を照射して、当該行又は列のマスターホログラムに対応する干渉縞を前記感光層に複製する。
第10形態のホログラムの製造方法は、上記第9形態の製造方法において、前記コヒーレントな光が、赤色レーザ光、緑色レーザ光、青色レーザ光、又は、赤色レーザ光、緑色レーザ光及び青色レーザ光から選択される少なくとも2種を含む複合レーザ光である。
【発明の効果】
(【0011】以降は省略されています)
この特許をJ-PlatPat(特許庁公式サイト)で参照する
関連特許
日東電工株式会社
導光部材
1か月前
日東電工株式会社
ロボット
10日前
日東電工株式会社
粘着シート
17日前
日東電工株式会社
粘着シート
1か月前
日東電工株式会社
光学積層体
2日前
日東電工株式会社
光学積層体
2日前
日東電工株式会社
光学積層体
2日前
日東電工株式会社
光学積層体
1か月前
日東電工株式会社
配線回路基板
1か月前
日東電工株式会社
補強フィルム
9日前
日東電工株式会社
パッチアンテナ
10日前
日東電工株式会社
パッチアンテナ
10日前
日東電工株式会社
ロール体の製造方法
17日前
日東電工株式会社
多孔質ポリマーシート
17日前
日東電工株式会社
光半導体素子封止用シート
1か月前
日東電工株式会社
フレキシブル多層回路基板
17日前
日東電工株式会社
積層光学フィルムの製造方法
4日前
日東電工株式会社
粘着シートおよび光半導体装置
17日前
日東電工株式会社
情報カードおよびその製造方法
1か月前
日東電工株式会社
表面保護フィルムおよびその用途
9日前
日東電工株式会社
表面保護フィルムおよび光学積層体
2日前
日東電工株式会社
反射防止フィルム及びその製造方法
25日前
日東電工株式会社
ロール体およびロール体の製造方法
9日前
日東電工株式会社
ヒータモジュール、およびロボット
10日前
日東電工株式会社
積層光学フィルムおよび画像表示装置
1か月前
日東電工株式会社
積層光学フィルムおよび画像表示装置
1か月前
日東電工株式会社
生体信号取得用粘着性電極及び生体センサ
25日前
日東電工株式会社
配線回路基板、及び配線回路基板の製造方法
1か月前
日東電工株式会社
マイクロ波加熱装置及びマイクロ波加熱システム
1か月前
日東電工株式会社
光電混載基板、光モジュール、および、電子機器
11日前
日東電工株式会社
光学フィルムの検査装置、検査方法及び製造方法
1か月前
日東電工株式会社
配線回路基板、および、配線回路基板の製造方法
1か月前
日東電工株式会社
プラスチック光ファイバーの製造方法及び製造装置
1か月前
日東電工株式会社
光学積層体および該光学積層体を用いた画像表示装置
1か月前
日東電工株式会社
ホログラムの製造装置、ホログラムの製造方法、及び導光板
1か月前
日東電工株式会社
ホログラムの製造装置、ホログラムの製造方法、及び導光板
1か月前
続きを見る
他の特許を見る