TOP
|
特許
|
意匠
|
商標
特許ウォッチ
Twitter
他の特許を見る
10個以上の画像は省略されています。
公開番号
2025169605
公報種別
公開特許公報(A)
公開日
2025-11-14
出願番号
2024074457
出願日
2024-05-01
発明の名称
映像表示装置
出願人
マクセル株式会社
代理人
青稜弁理士法人
主分類
G02B
27/01 20060101AFI20251107BHJP(光学)
要約
【課題】
2レイヤーで虚像の表示を行うことができ、且つ、小型化を図った構造を提供すること。本発明によれば、持続可能な開発目標の「3すべての人に健康と福祉を」に貢献する。
【解決手段】
映像表示装置は、車両に実装され、ウィンドシールドに映像光を投射することで虚像を表示する。前記の映像表示装置は、表示パネルと、分岐部と、を備える。前記の表示パネルは、映像光を出射する。前記の分岐部は、前記の表示パネルの出射面側に配置され、前記の表示パネルが出射する映像光を複数の光路に分岐する。
【選択図】 図10
特許請求の範囲
【請求項1】
車両のウィンドシールドに映像光を投射することで虚像を表示する映像表示装置であって、
映像光を出射する表示パネルと、
前記表示パネルの出射面側に配置され、前記表示パネルが出射する映像光を複数の光路に分岐する分岐部と、
を備えることを特徴とする映像表示装置。
続きを表示(約 1,200 文字)
【請求項2】
請求項1に記載の映像表示装置であって、
前記分岐部は、
前記表示パネルが出射する映像光の一部が透過し、透過する映像光の偏光を変換する第1偏光変換素子を備える、
ことを特徴とする映像表示装置。
【請求項3】
請求項2に記載の映像表示装置であって、
前記第1偏光変換素子は、
前記表示パネルの出射面に対して左右に亘って配置されている、
ことを特徴とする映像表示装置。
【請求項4】
請求項2に記載の映像表示装置であって、
前記第1偏光変換素子は、
前記表示パネルの画面に対して任意の幅を持った長方形状を任意の間隔を空け連続して配置されている、
ことを特徴とする映像表示装置。
【請求項5】
請求項2に記載の映像表示装置であって、
前記第1偏光変換素子は、
前記表示パネルの所定の表示に重なって配置されている、
ことを特徴とする映像表示装置。
【請求項6】
請求項3に記載の映像表示装置であって、
前記第1偏光変換素子は、
前記表示パネルの表示画面上部から表示画面下部にかけて移動可能である、
ことを特徴とする映像表示装置。
【請求項7】
請求項5に記載の映像表示装置であって、
前記第1偏光変換素子は、
前記表示パネルの所定の表示の位置に移動可能である、
ことを特徴とする映像表示装置。
【請求項8】
請求項1に記載の映像表示装置であって、
前記表示パネルの出射面が、車両上方に向けられている、
ことを特徴とする映像表示装置。
【請求項9】
請求項2に記載の映像表示装置であって、
前記分岐部は、
偏光成分に基づいて、入射する映像光のうち、前記ウィンドシールドに向かう映像光と、反射させる映像光と、に分離するビームスプリッタと、
前記ビームスプリッタによって反射された映像光を前記ビームスプリッタに向けて反射する第1反射ミラーと、
前記ビームスプリッタによって反射された映像光が透過し、前記第1反射ミラーによって反射された映像光が透過することで、映像光の偏光成分の変換を行う第2偏光変換素子と、
前記第1反射ミラーによって反射され、前記第2偏光変換素子によって偏光変換された映像光を前記ウィンドシールドに向けて反射する第2反射ミラーと、
を備えることを特徴とする映像表示装置。
【請求項10】
請求項9に記載の映像表示装置であって、
前記分岐部において、前記ビームスプリッタ、前記第1反射ミラー、前記第2偏光変換素子、および、前記第2反射ミラーそれぞれは、同一直線上に並べて配置されている、
ことを特徴とする映像表示装置。
(【請求項11】以降は省略されています)
発明の詳細な説明
【技術分野】
【0001】
本発明は、映像表示装置に関する。
続きを表示(約 1,800 文字)
【背景技術】
【0002】
映像表示装置の一例として、車両に実装され、各種情報をウィンドシールド(フロントガラス)などに投射して表示するヘッドアップディスプレイ(Head-Up Display:HUD)が知られている。特許文献1は、複数の画像形成ユニットによって複数の表示領域を形成するHUD装置を開示する。
【先行技術文献】
【特許文献】
【0003】
特開2024-007661号公報
【発明の概要】
【発明が解決しようとする課題】
【0004】
車両において、2レイヤーで虚像の表示を行う場合、例えば、大容積の表示装置が車両に実装される。しかしながら、ダッシュボードのレイアウトは車両ごとに異なるため、装置の小型化を図ることが好ましい。そこで、2レイヤーで虚像の表示を行うことができ、且つ、小型化を図った構造を提供することに課題がある。
【課題を解決するための手段】
【0005】
本発明の第1の態様によれば、下記の映像表示装置が提供される。この映像表示装置は、車両のウィンドシールドに映像光を投射することで虚像を表示する。この映像表示装置は、表示パネルと、分岐部と、を備える。表示パネルは、映像光を出射する。分岐部は、表示パネルの出射面側に配置され、表示パネルが出射する映像光を複数の光路に分岐する。
【0006】
本発明の第2の態様によれば、下記の映像表示装置が提供される。この映像表示装置は、車両のウィンドシールドに映像光を投射することで虚像を表示する。この映像表示装置は、表示パネルと、分岐部と、を備える。表示パネルは、映像光を出射する。分岐部は、表示パネルが出射する映像光の一部を複数回反射させることで、第1の光路を進む映像光、および、第2の光路を進む映像光に分岐させる。
【発明の効果】
【0007】
本発明によれば、2レイヤーで虚像の表示を行うことができ、且つ、小型化を図った構造を提供することができる。なお、上記した以外の課題、構成および効果は、以下の発明を実施するための形態の説明により明らかにされる。
【図面の簡単な説明】
【0008】
表示装置を実装した車両の概要の一例を示す図である。
車両に設ける構成の一例を示す図である。
表示装置の構成の一例を示す図である。
表示装置の構成の一例を示す図である。
従来技術の一例の概要を説明するための図である。
従来技術の一例の概要を説明するための図である。
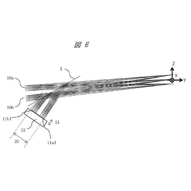
本実施形態に関する技術の一例の概要を説明するための図である。
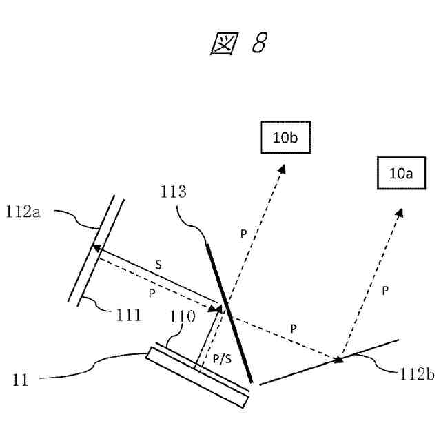
分岐部の一例を示す図である。
1/2偏光板の設置例、および、虚像の表示の一例を説明するための図である。
運転者からの虚像の視認を示す図である。
1/2偏光板の設置例を説明するための図である。
図11の(b)に示す配置での映像表示の一例を説明するための図である。
1/2偏光板の設置例、および、虚像の表示の一例を説明するための図である。
分岐部の構成例を説明するための図である。
分岐部の構成例を説明するための図である。
分岐部の構成例を説明するための図である。
分岐部の構成例を説明するための図である。
太陽光対策を詳細に説明するための図である。
太陽光対策を詳細に説明するための図である。
レイアウトの自由度について説明するための図である。
レイアウトの一例を説明するための図である。
【発明を実施するための形態】
【0009】
以下、図面を参照して本発明の実施形態を説明する。実施形態は、本発明を説明するための例示であって、説明の明確化のため、適宜、省略および簡略化がなされている。本発明は、他の種々の形態でも実施することが可能である。特に限定しない限り、各構成要素は単数でも複数でも構わない。
【0010】
図面において示す各構成要素の位置、大きさ、形状、範囲などは、発明の理解を容易にするため、実際の位置、大きさ、形状、範囲などを表していない場合がある。このため、本発明は、必ずしも、図面に開示された位置、大きさ、形状、範囲などに限定されない。
(【0011】以降は省略されています)
この特許をJ-PlatPat(特許庁公式サイト)で参照する
関連特許
マクセル株式会社
電源装置
15日前
マクセル株式会社
扁平形電池
22日前
マクセル株式会社
粘着テープ
10日前
マクセル株式会社
映像表示装置
今日
マクセル株式会社
放送信号の処理方法
29日前
マクセル株式会社
空中浮遊映像表示装置
9日前
マクセル株式会社
空中浮遊映像表示システム
18日前
マクセル株式会社
応答出力装置およびシステム
16日前
マクセル株式会社
粉体成型体の製造方法及び製造装置
2日前
マクセル株式会社
応答出力装置および応答出力システム
10日前
マクセル株式会社
樹脂発泡糸の製造方法及びラム押出成形機
9日前
マクセル株式会社
操作方法
2日前
マクセル株式会社
放送システム、放送受信装置、放送局装置および放送方法
21日前
マクセル株式会社
情報処理端末
2日前
マクセル株式会社
表示制御方法
28日前
マクセル株式会社
表示制御方法
1か月前
マクセル株式会社
情報処理装置
28日前
マクセル株式会社
ヘッドライト装置
1か月前
マクセル株式会社
伝送波の処理方法
1か月前
マクセル株式会社
伝送波の処理方法
今日
マクセル株式会社
印刷用メタルマスク
21日前
マクセル株式会社
空間浮遊映像表示装置
1か月前
マクセル株式会社
画像読み上げシステム、装置、および方法、ならびに応答出力システム
1か月前
マクセル株式会社
コンテンツ保護処理方法
1か月前
マクセル株式会社
コンテンツ保護処理方法
1か月前
マクセル株式会社
アプリケーション起動方法
23日前
マクセル株式会社
デジタル放送変調波の処理方法
1か月前
マクセル株式会社
情報表示装置およびその表示方法
1か月前
マクセル株式会社
ヘッドマウントディスプレイ装置
1か月前
マクセル株式会社
全固体二次電池およびその製造方法
2日前
マクセル株式会社
近赤外用結像レンズ系、カメラモジュール、車載システム、移動体
28日前
マクセル株式会社
連携通報システム、携帯型通信装置、及び携帯型通信装置における連携通報方法
23日前
マクセル株式会社
電磁ノイズ抑制シート及びその製造方法、並びに電磁ノイズ抑制シートを用いたケーブル
21日前
個人
立体像表示装置
1か月前
住友化学株式会社
偏光板
28日前
カンタツ株式会社
光学系
23日前
続きを見る
他の特許を見る