TOP
|
特許
|
意匠
|
商標
特許ウォッチ
Twitter
他の特許を見る
10個以上の画像は省略されています。
公開番号
2025170016
公報種別
公開特許公報(A)
公開日
2025-11-14
出願番号
2025141476,2024108391
出願日
2025-08-27,2019-11-25
発明の名称
伝送波の処理方法
出願人
マクセル株式会社
代理人
弁理士法人筒井国際特許事務所
主分類
H04N
21/61 20110101AFI20251107BHJP(電気通信技術)
要約
【課題】高度デジタル放送サービスをより好適に送信または受信する技術を提供する。
【解決手段】デジタル放送の送受信システムにおける伝送波の処理方法であって、同一周波数を用いて複数の異なる偏波方向で複数の異なる伝送波を送信し、前記複数の異なる伝送波の周波数が重複しないように周波数を変換し、複数の異なる周波数の伝送波を生成する周波数変換を行い、前記異なる周波数の伝送波を混合し混合伝送波を生成し、前記混合伝送波を分波して周波数の異なる複数の異なる伝送波を出力し、出力された周波数の異なる複数の異なる伝送波を受信し、受信した伝送波を復調してストリームを生成し、前記周波数変換では、周波数を変換する処理の対象となる伝送波の切り替え処理、および/または変換後の伝送波の周波数を切り替え処理が可能である、ように構成する。
【選択図】図7D
特許請求の範囲
【請求項1】
4K放送サービスと2K放送サービスとがともに伝送される、4K放送サービスが含まれる伝送波を受信する放送受信装置における伝送波の処理方法であって、
前記4K放送サービスが含まれる伝送波において、前記4K放送サービスと前記2K放送サービスとは、前記4K放送サービスが含まれる伝送波の所定帯域の周波数帯を複数に分割した複数の周波数セグメントのうち、それぞれ異なるセグメントの組み合わせから構成される異なる階層のそれぞれに格納されて伝送されるものであり、
前記4K放送サービスが含まれる伝送波に含まれるTMCC情報には、前記4K放送サービスが格納される第1の階層と、前記2K放送サービスが格納される第2の階層とのそれぞれについて、変調方式が同期変調であるか否かを識別可能な3ビットの識別情報が設定されており、
前記4K放送サービスが含まれる伝送波においては、前記4K放送サービスが格納される前記第1の階層と、前記2K放送サービスが格納される前記第2の階層との両者の変調方式がともに同期変調であっても、前記4K放送サービスが格納される前記第1の階層に設定される前記3ビットの識別情報と、前記2K放送サービスが格納される前記第2の階層に設定される前記3ビットの識別情報とは異なる値が設定されるものであり、前記4K放送サービスが含まれる伝送波においては、変調方式が同期変調である前記4K放送サービスが格納される前記第1の階層には前記3ビットの識別情報が常に111として設定され、前記4K放送サービスが含まれる伝送波においては、変調方式が同期変調である前記2K放送サービスが格納される前記第2の階層には前記3ビットの識別情報が常に000として設定されるものであり、
前記4K放送サービスが含まれる伝送波を受信して前記4K放送サービスを復調するための第1の受信復調ステップと、
前記4K放送サービスが含まれる伝送波を受信して前記2K放送サービスを復調するための第2の受信復調ステップと、
を備え、
前記第1の受信復調ステップでは、前記4K放送サービスが格納される前記第1の階層に設定された前記3ビットの識別情報が111であるときに、前記第1の階層の変調方式を同期変調であると識別して前記第1の階層を復調するものであり、
前記第2の受信復調ステップでは、前記2K放送サービスが格納される前記第2の階層に設定された前記3ビットの識別情報が000であるときに、前記第2の階層の変調方式を同期変調であると識別して前記第2の階層を復調するものであり、
前記第1の受信復調ステップと前記第2の受信復調ステップとでは、異なるセグメント間デインターリーブ処理部においてそれぞれセグメント間デインターリーブ処理が施される、
伝送波の処理方法。
発明の詳細な説明
【技術分野】
【0001】
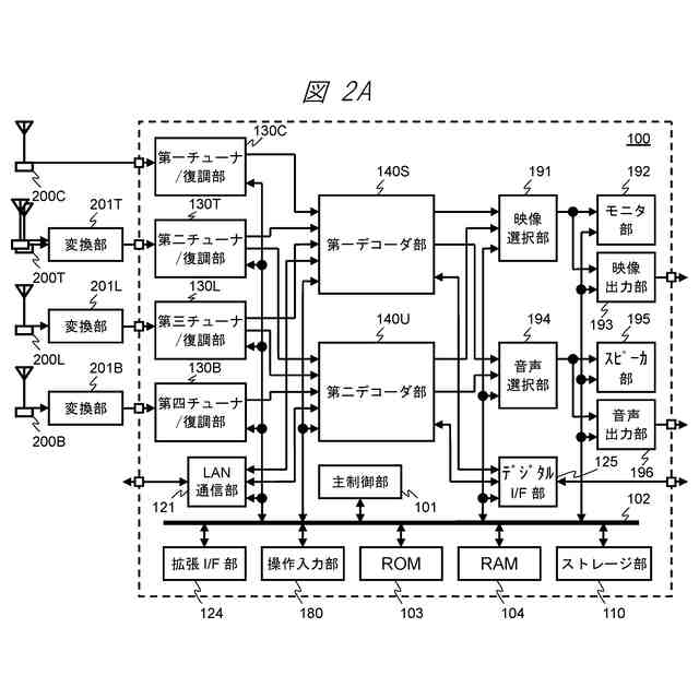
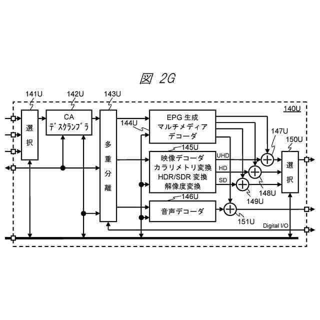
本発明は、放送送信技術または放送受信技術に関する。
続きを表示(約 2,200 文字)
【背景技術】
【0002】
従来のアナログ放送サービスに替わり、1990年代後半より各国でデジタル放送サービスが開始された。デジタル放送サービスは、誤り訂正技術を用いた放送品質の向上、圧縮符号化技術を用いた多チャンネル化およびHD(High Definition)化、BML(Broadcast Markup Language)やHTML5(Hyper Text Markup Language version5)を用いたサービスのマルチメディア化、等を実現した。
【0003】
近年では、さらなる周波数使用効率の向上、高解像度化や高機能化を目的として、各国において、高度デジタル放送方式の検討が進められている。
【先行技術文献】
【特許文献】
【0004】
特開2016-14420号公報
【発明の概要】
【発明が解決しようとする課題】
【0005】
現行のデジタル放送はサービスを開始してから既に10年以上を経過しており、現行のデジタル放送サービスを受信可能な放送受信装置が充分に普及している。このため、現在検討を進めている高度デジタル放送サービスを開始するにあたっては、現行のデジタル放送サービスとの互換性を考慮する必要がある。即ち、現行のデジタル放送サービスの視聴環境を維持しつつ、映像信号のUHD(Ultra High Definition)化等を実現することが好ましい。
【0006】
デジタル放送サービスでUHD放送を実現する技術として特許文献1に記載のシステムがある。しかしながら、特許文献1に記載のシステムは現行のデジタル放送に置き換えるものであり、現行のデジタル放送サービスの視聴環境の維持を考慮したものではない。
【0007】
本発明の目的は、現行のデジタル放送サービスとの互換性も考慮した、より高機能な高度デジタル放送サービスをより好適に送信または受信する技術を提供することである。
【課題を解決するための手段】
【0008】
前記課題を解決するための手段として、特許請求の範囲に記載の技術を用いる。
【0009】
一例を挙げるならば、4K放送サービスと2K放送サービスとがともに伝送される、4K放送サービスが含まれる伝送波を受信する放送受信装置における伝送波の処理方法であって、前記4K放送サービスが含まれる伝送波において、前記4K放送サービスと前記2K放送サービスとは、前記4K放送サービスが含まれる伝送波の所定帯域の周波数帯を複数に分割した複数の周波数セグメントのうち、それぞれ異なるセグメントの組み合わせから構成される異なる階層のそれぞれに格納されて伝送されるものであり、前記4K放送サービスが含まれる伝送波に含まれるTMCC情報には、前記4K放送サービスが格納される第1の階層と、前記2K放送サービスが格納される第2の階層とのそれぞれについて、変調方式が同期変調であるか否かを識別可能な3ビットの識別情報が設定されており、前記4K放送サービスが含まれる伝送波においては、前記4K放送サービスが格納される前記第1の階層と、前記2K放送サービスが格納される前記第2の階層との両者の変調方式がともに同期変調であっても、前記4K放送サービスが格納される前記第1の階層に設定される前記3ビットの識別情報と、前記2K放送サービスが格納される前記第2の階層に設定される前記3ビットの識別情報とは異なる値が設定されるものであり、前記4K放送サービスが含まれる伝送波においては、変調方式が同期変調である前記4K放送サービスが格納される前記第1の階層には前記3ビットの識別情報が常に111として設定され、前記4K放送サービスが含まれる伝送波においては、変調方式が同期変調である前記2K放送サービスが格納される前記第2の階層には前記3ビットの識別情報が常に000として設定されるものであり、前記4K放送サービスが含まれる伝送波を受信して前記4K放送サービスを復調するための第1の受信復調ステップと、前記4K放送サービスが含まれる伝送波を受信して前記2K放送サービスを復調するための第2の受信復調ステップと、を備え、前記第1の受信復調ステップでは、前記4K放送サービスが格納される前記第1の階層に設定された前記3ビットの識別情報が111であるときに、前記第1の階層の変調方式を同期変調であると識別して前記第1の階層を復調するものであり、前記第2の受信復調ステップでは、前記2K放送サービスが格納される前記第2の階層に設定された前記3ビットの識別情報が000であるときに、前記第2の階層の変調方式を同期変調であると識別して前記第2の階層を復調するものであり、前記第1の受信復調ステップと前記第2の受信復調ステップとでは、異なるセグメント間デインターリーブ処理部においてそれぞれセグメント間デインターリーブ処理が施される、伝送波の処理方法を用いる。
【発明の効果】
【0010】
本発明によれば、高度デジタル放送サービスをより好適に送信または受信する技術を提供することができる。
【図面の簡単な説明】
(【0011】以降は省略されています)
この特許をJ-PlatPat(特許庁公式サイト)で参照する
関連特許
マクセル株式会社
映像表示装置
1日前
マクセル株式会社
粉体成型体の製造方法及び製造装置
3日前
マクセル株式会社
操作方法
3日前
マクセル株式会社
情報処理端末
3日前
マクセル株式会社
伝送波の処理方法
1日前
マクセル株式会社
全固体二次電池およびその製造方法
3日前
個人
イヤーピース
8日前
個人
イヤーマフ
22日前
個人
監視カメラシステム
1か月前
キーコム株式会社
光伝送線路
1か月前
個人
スイッチシステム
16日前
WHISMR合同会社
収音装置
2か月前
サクサ株式会社
中継装置
1か月前
サクサ株式会社
中継装置
1か月前
個人
スキャン式車載用撮像装置
1か月前
アイホン株式会社
電気機器
1か月前
キヤノン電子株式会社
画像読取装置
8日前
キヤノン電子株式会社
画像読取装置
1か月前
サクサ株式会社
無線通信装置
1か月前
キヤノン電子株式会社
画像読取装置
2か月前
サクサ株式会社
無線システム
1か月前
個人
ワイヤレスイヤホン対応耳掛け
1か月前
サクサ株式会社
無線通信装置
1か月前
株式会社リコー
画像形成装置
24日前
個人
映像表示装置、及びARグラス
17日前
ヤマハ株式会社
放音制御装置
16日前
キヤノン電子株式会社
画像読取装置
16日前
日本電気株式会社
海底分岐装置
1か月前
キヤノン株式会社
画像処理装置
11日前
キヤノン株式会社
撮像システム
1か月前
キヤノン電子株式会社
シート搬送装置
8日前
個人
発信機及び発信方法
1か月前
有限会社フィデリックス
マイクロフォン
1か月前
シャープ株式会社
表示装置
8日前
シャープ株式会社
表示装置
8日前
沖電気工業株式会社
画像形成装置
1か月前
続きを見る
他の特許を見る