TOP
|
特許
|
意匠
|
商標
特許ウォッチ
Twitter
他の特許を見る
10個以上の画像は省略されています。
公開番号
2025177456
公報種別
公開特許公報(A)
公開日
2025-12-05
出願番号
2024084309
出願日
2024-05-23
発明の名称
電気かみそりの外刃、電気かみそり、およびめっき積層体
出願人
マクセル株式会社
,
マクセルイズミ株式会社
代理人
個人
主分類
B26B
19/00 20060101AFI20251128BHJP(切断手工具;切断;切断機)
要約
【課題】汚れや錆を簡単且つ確実に除去することができる電気かみそりの外刃を提供する。
【解決手段】本発明の外刃15は、内刃12に接する裏面側から順に、第1~第N層(35・36)の複数のめっき層を積層してなるめっき積層体からなる。少なくとも最表面に位置する第N層36と第N-1層35との間には、第N-1層35に対する第N層36の剥離を容易化せしめる処理膜37が形成されており、第N層36が第N-1層35に対して容易に剥離できるように構成されている。
【選択図】図1
特許請求の範囲
【請求項1】
多数個の毛導入孔(19)が形成された毛導入領域(20)を備え、毛導入孔(19)内に挿入された髭毛を内刃(12)との間でせん断する電気かみそりの外刃であって、
毛導入領域(20)は、内刃(12)に接する裏面側から順に、第1~第N層(35・36)の複数のめっき層を積層してなるめっき積層体からなり、
少なくとも最表面に位置する第N層(36)と第N-1層(35)との間に、第N-1層(35)に対する第N層(36)の剥離を容易化せしめる処理膜(37)が形成されており、第N層(36)が第N-1層(35)に対して容易に剥離できるように構成されていることを特徴とする電気かみそりの外刃。
続きを表示(約 3,300 文字)
【請求項2】
第N-1層(35)から第N層(36)を剥離したとき、毛導入領域(20)の表面に第N-1層(35)が現出され、毛導入孔(19)の内周面が第N-1層(35)で区画されるとともに、毛導入孔(19)の内刃(12)に接する開口縁に係る刃先エッジ(19a)に第N-1層(35)が現出されるように構成されている、請求項1記載の電気かみそりの外刃。
【請求項3】
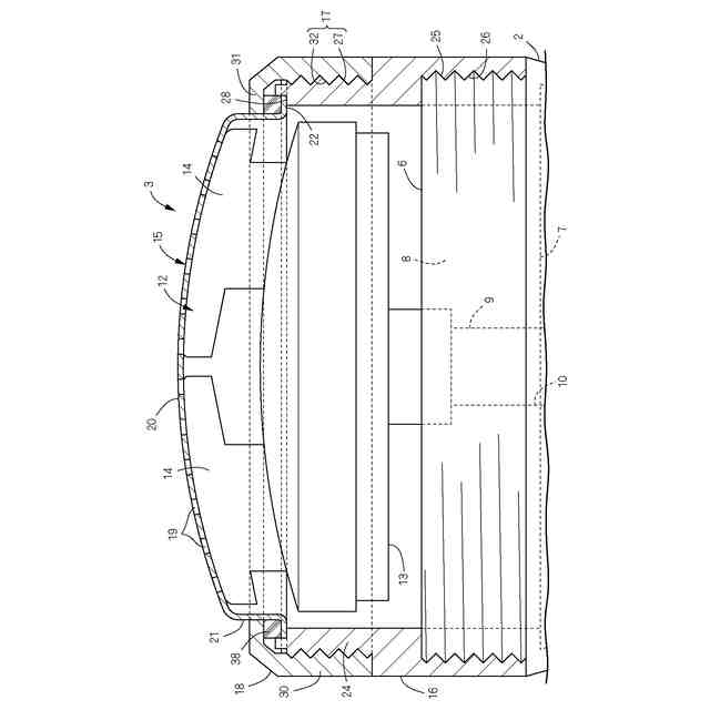
内刃(12)を備える本体部(1)のヘッド部(2)と、ヘッド部(2)に装着される外刃ユニット(3)とを備え、髭毛をせん断する電気かみそりにおいて、
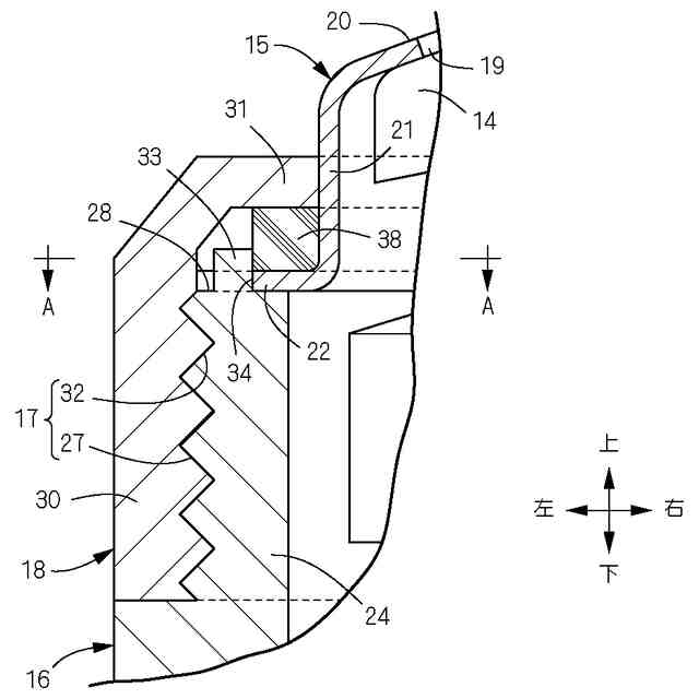
外刃ユニット(3)は、外刃(15)と、外刃(15)を支持する刃受台(16)と、係合構造(17)を介して刃受台(16)に装着される刃枠(18)とを備え、
外刃(15)は、多数個の毛導入孔(19)が形成された毛導入領域(20)と、毛導入領域(20)の外側に形成された支持領域(22)とを備え、支持領域(22)が刃枠(18)と刃受台(16)の間に挟持されることで、外刃(15)は刃枠(18)と刃受台(16)と一体化されており、
毛導入領域(20)と支持領域(22)は、内刃(12)に接する裏面側から順に、第1~第N層(35・36)の複数のめっき層を積層してなるめっき積層体で構成されており、
少なくとも最表面に位置する第N層(36)と第N-1層(35)との間に、第N-1層(35)に対する第N層(36)の剥離を容易化せしめる処理膜(37)が形成されており、第N層(36)が第N-1層(35)に対して容易に剥離できるように構成されていることを特徴とする電気かみそり。
【請求項4】
第N-1層(35)から第N層(36)を剥離したとき、毛導入領域(20)と支持領域(22)の表面に第N-1層(35)が現出され、毛導入孔(19)の内周面が第N-1層(35)で区画されるとともに、毛導入孔(19)の内刃(12)に接する開口縁に係る刃先エッジ(19a)に第N-1層(35)が現出されるように構成されている、請求項3記載の電気かみそり。
【請求項5】
刃枠(18)と刃受台(16)の間に、第N-1層(35)から第N層(36)を剥離したことに伴う支持領域(22)の厚み寸法の減少を吸収する弾性体(38)が設けられている、請求項3記載の電気かみそり。
【請求項6】
外刃(15)は、上方に向かって膨らむ円ドーム状に形成された毛導入領域(20)と、毛導入領域(20)の外周縁から外方向に張り出し形成されたフランジ状の支持領域(22)とからなり、
刃受台(16)は、円筒形の主壁(24)と、支持領域(22)を受け止める受面(28)とを備え、主壁(24)の外周面には雄ねじ部(27)が刻設されており、
刃枠(18)は、内周面に雄ねじ部(27)に螺合接合される雌ねじ部(32)が形成された円筒形の枠壁(30)と、枠壁(30)の上端から内向きに張り出し形成されて、支持領域(22)を受面(28)に向かって押し付ける押さえ壁(31)とを備えており、
雄ねじ部(27)と雌ねじ部(32)により係合構造(17)が構成されており、
雄ねじ部(27)に対して雌ねじ部(32)を螺合させて、刃受台(16)に対して刃枠(18)を相対的に下方へ移動させることにより、押さえ壁(31)と受面(28)とにより支持領域(22)を上下方向から挟持するように構成されている、請求項3記載の電気かみそり。
【請求項7】
外刃(15)は、上方に向かって膨らむ円ドーム状に形成された毛導入領域(20)と、毛導入領域(20)の外周縁から外方向に張り出し形成されたフランジ状の支持領域(22)とからなり、
刃受台(16)は、円筒形の主壁(24)と、支持領域(22)を受け止める受面(28)とを備え、
刃枠(18)は、円筒形の枠壁(30)と、枠壁(30)の上端から内向きに張り出し形成されて、支持領域(22)を受面(28)に向かって押し付ける押さえ壁(31)とを備えており、
刃受台(16)の主壁(24)の外面に設けられた係合凹部(48)と、刃枠(18)の枠壁(30)に設けられた係合凸部(49)により係合構造(17)が構成されており、
係合凹部(48)と係合凸部(49)とを係合させたとき、押さえ壁(31)が受面(28)に押し付けられ、これら押さえ壁(31)と受面(28)により支持領域(22)を上下方向から挟持するように構成されている、請求項3記載の電気かみそり。
【請求項8】
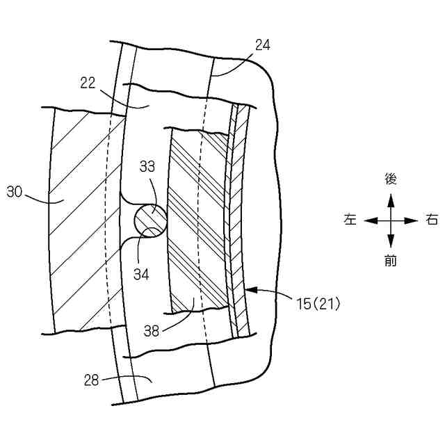
受面(28)又は押さえ壁(31)にピン(33)が突設されており、
支持領域(22)にピン(33)を受け入れる溝(34)が形成されている、請求項6又は7記載の電気かみそり。
【請求項9】
樹脂製の刃受台(16)に対して外刃(15)の第N-1層(35)がインサート成形されている、請求項6又は7記載の電気かみそり。
【請求項10】
内刃(12)を備える本体部(1)のヘッド部(2)と、ヘッド部(2)に装着される外刃ユニット(3)とを備え、髭毛をせん断する電気かみそりにおいて、
外刃ユニット(3)は、ヘッド部(2)の上端に配される外刃(15)と、ヘッド部(2)の上端に固定されて外刃(15)を保持する支持ケース(56)と、支持ケース(56)の内側に装着される刃受リング(57)とを含み、
外刃(15)は、上方に向かって膨らむ円ドーム状に形成された毛導入領域(20)と、毛導入領域(20)の外周縁から外方向に張り出し形成されたフランジ状の支持領域(22)とからなり、
毛導入領域(20)と支持領域(22)は、内刃(12)に接する裏面側から順に、第1~第N層(35・36)の複数のめっき層を積層してなるめっき積層体で構成され、
少なくとも最表面に位置する第N層(36)と第N-1層(35)との間に、第N-1層(35)に対する第N層(36)の剥離を容易化せしめる処理膜(37)が形成されており、第N層(36)が第N-1層(35)に対して容易に剥離できるように構成されており、
支持ケース(56)は、円筒状のホルダ壁(58)と、ホルダ壁(58)の上端から内向きに張り出し形成された押さえ壁(59)とを備え、ホルダ壁(58)とヘッド部(2)の間には、ヘッド部(2)に対して支持ケース(56)を着脱可能に固定するための固定構造(63)が設けられており、
刃受リング(57)は、円環状に形成されて、押さえ壁(59)との間で支持領域(22)を挟持するリング本体(64)と、リング本体(64)の外周面の対向位置に突設されて、ホルダ壁(58)の内面に形成された凹穴(62)に係合する一対の突起(65)と、突起(65)どうしの対向間隔が近付く方向にリング本体(64)を変形させるための操作片(66)とを備え、外刃ユニット(3)をヘッド部(2)に装着したとき、リング本体(64)の下面はヘッド部(2)に支持されており、
押さえ壁(59)の下面とリング本体(64)の上面との間に支持領域(22)を配しながら、支持ケース(56)のホルダ壁(58)の凹穴(62)に刃受リング(57)の突起(65)を係合させて、支持ケース(56)に刃受リング(57)を装着させることで、支持ケース(56)、刃受リング(57)、および外刃(15)の三者が一体化されており、
操作片(66)を操作して突起(65)どうしが近付く方向にリング本体(64)を変形させることで、凹穴(62)と突起(65)との係合状態を解除させて、支持ケース(56)から外刃(15)と刃受リング(57)とを分離させることができるように構成されていることを特徴とする電気かみそり。
(【請求項11】以降は省略されています)
発明の詳細な説明
【技術分野】
【0001】
本発明は、電気かみそりの外刃、電気かみそり、およびめっき積層体に関する。
続きを表示(約 1,900 文字)
【背景技術】
【0002】
電気かみそりの外刃を積層体で構成することは公知であり、例えば特許文献1には、基板の表面に形成されたスズ-コバルト(Sn-Co)層と、このスズ-コバルト(Sn-Co)層の表面に形成されたカーボン被膜とで構成される電気かみそりの外刃が開示されている。
【先行技術文献】
【特許文献】
【0003】
特開平05-168774号公報
【発明の概要】
【発明が解決しようとする課題】
【0004】
一般論として金属製品の表面に汚れや錆が付着して外観体裁が悪化したときに、これら汚れや錆を除去することは容易ではない。かかる問題は、電気かみそりの外刃においても同様であり、電気かみそりは、その外刃を皮膚に接触させた状態で皮膚表面に沿って移動させることにより使用に供されるものであるため、皮膚の表面に存する皮脂は外刃に転移しやすいが、このように外刃に転移して蓄積された皮脂の汚れを除去することは容易ではない。また、外刃に転移した皮脂が長期に亘って放置されると、酸化により外刃の表面が錆びるおそれがあるが、このように外刃の表面に形成された錆を除去することも容易ではない。さらに、電気かみそりでは、上記のように外刃が錆びることだけでなく、外刃のエッジが摩耗することによっても切れ味が低下しやすいが、一度低下した切れ味を復活させることも容易ではない。
【0005】
本発明の目的は、汚れや錆を簡単且つ確実に除去することができる電気かみそりの外刃、および当該外刃を備える電気かみそりを提供することにある。本発明の他の目的は、汚れや錆を簡単且つ確実に除去することができるめっき積層体を提供することにある。
【課題を解決するための手段】
【0006】
本発明は、多数個の毛導入孔19が形成された毛導入領域20を備え、毛導入孔19内に挿入された髭毛を内刃12との間でせん断する電気かみそりの外刃を対象とする。毛導入領域20は、内刃12に接する裏面側から順に、第1~第N層(35・36)の複数のめっき層を積層してなるめっき積層体からなる。そして、少なくとも最表面に位置する第N層36と第N-1層35との間に、第N-1層35に対する第N層36の剥離を容易化せしめる処理膜37が形成されており、第N層36が第N-1層35に対して容易に剥離できるように構成されていることを特徴とする。
【0007】
第N-1層35から第N層36を剥離したとき、毛導入領域20の表面に第N-1層35が現出され、毛導入孔19の内周面が第N-1層35で区画されるとともに、毛導入孔19の内刃12に接する開口縁に係る刃先エッジ19aに第N-1層35が現出されるように構成されている。
【0008】
本発明は、内刃12を備える本体部1のヘッド部2と、ヘッド部2に装着される外刃ユニット3とを備え、髭毛をせん断する電気かみそりを対象とする。外刃ユニット3は、外刃15と、外刃15を支持する刃受台16と、係合構造17を介して刃受台16に装着される刃枠18とを備える。外刃15は、多数個の毛導入孔19が形成された毛導入領域20と、毛導入領域20の外側に形成された支持領域22とを備え、支持領域22が刃枠18と刃受台16の間に挟持されることで、外刃15は刃枠18と刃受台16と一体化されている。毛導入領域20と支持領域22は、内刃12に接する裏面側から順に、第1~第N層(35・36)の複数のめっき層を積層してなるめっき積層体で構成されている。そして、少なくとも最表面に位置する第N層36と第N-1層35との間に、第N-1層35に対する第N層36の剥離を容易化せしめる処理膜37が形成されており、第N層36が第N-1層35に対して容易に剥離できるように構成されていることを特徴とする。
【0009】
第N-1層35から第N層36を剥離したとき、毛導入領域20と支持領域22の表面に第N-1層35が現出され、毛導入孔19の内周面が第N-1層35で区画されるとともに、毛導入孔19の内刃12に接する開口縁に係る刃先エッジ19aに第N-1層35が現出されるように構成されている。
【0010】
刃枠18と刃受台16の間に、第N-1層35から第N層36を剥離したことに伴う支持領域22の厚み寸法の減少を吸収する弾性体38が設けられている。
(【0011】以降は省略されています)
この特許をJ-PlatPat(特許庁公式サイト)で参照する
関連特許
マクセル株式会社
電源装置
1か月前
マクセル株式会社
扁平形電池
1か月前
マクセル株式会社
粘着テープ
1か月前
マクセル株式会社
光学システム
16日前
マクセル株式会社
映像表示装置
21日前
マクセル株式会社
放送信号の処理方法
1か月前
マクセル株式会社
空中浮遊映像表示装置
15日前
マクセル株式会社
虚像方式映像表示装置
16日前
マクセル株式会社
空中浮遊映像表示装置
1か月前
マクセル株式会社
空中浮遊映像表示システム
1か月前
マクセル株式会社
応答出力装置およびシステム
1か月前
マクセル株式会社
粉体成型体の製造方法及び製造装置
23日前
マクセル株式会社
応答出力装置および応答出力システム
1か月前
マクセル株式会社
樹脂発泡糸の製造方法及びラム押出成形機
1か月前
マクセル株式会社
放送システム、放送受信装置、放送局装置および放送方法
1か月前
マクセル株式会社
表示装置
今日
マクセル株式会社
表示装置
今日
マクセル株式会社
電気かみそりの外刃、電気かみそり、およびめっき積層体
今日
マクセル株式会社
操作方法
23日前
マクセル株式会社
情報処理装置
1か月前
マクセル株式会社
表示制御方法
1か月前
マクセル株式会社
情報処理端末
23日前
マクセル株式会社
伝送波の処理方法
21日前
マクセル株式会社
伝送波の処理方法
1か月前
マクセル株式会社
ヘッドライト装置
1か月前
マクセル株式会社
印刷用メタルマスク
1か月前
マクセル株式会社
コンテンツ保護処理方法
今日
マクセル株式会社
コンテンツ保護処理方法
今日
マクセル株式会社
コンテンツ保護処理方法
1か月前
マクセル株式会社
アプリケーション起動方法
1か月前
マクセル株式会社
デジタル放送変調波の処理方法
7日前
マクセル株式会社
情報表示装置およびその表示方法
1か月前
マクセル株式会社
全固体二次電池およびその製造方法
23日前
マクセル株式会社
近赤外用結像レンズ系、カメラモジュール、車載システム、移動体
1か月前
マクセル株式会社
表示装置、ヘッドアップディスプレイ装置、およびデジタルサイネージ
7日前
マクセル株式会社
連携通報システム、携帯型通信装置、及び携帯型通信装置における連携通報方法
1か月前
続きを見る
他の特許を見る